文/Arc
从索尼官方公布的消息看,PSVR2被爆出已经有一段时间了,而官方还在GDC上面进行了面向开发者的专题演示。目前这款设备还没有公布具体的发售日期,但已经有消息称索尼的目标是赶在今年年内发售。

PSVR2存在非常多让玩家能感觉到舒适的改动,PSVR2相比前代设备更加轻盈便捷,而且新增的通风口也让佩戴者不会感觉到过于闷热。而手柄方面则加入了手指探测技术,玩家甚至不用按键就可以完成指令输入。

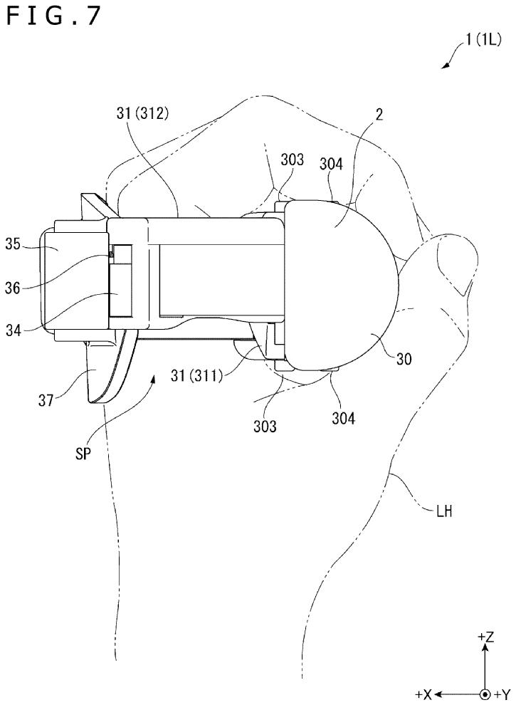
有网友也发现了索尼新注册的一个与手柄有关的专利,根据描述,这项专利是一种附有束带的手柄,让游戏过程更加安全,当然这也是类似手柄的常规设计了。不过,仅根据专利看,现在还无法判定束带的具体位置。

值得一提的是,有人提出了一种理论——索尼可能会研发与Valve Index的指节手柄类似的控制器。这种手柄让玩家可以做出抓握的操作,更增真实体验。而专利中附带的图片与我们所见过的手柄都不太一样,这可能是PSVR2附带的手柄原型。

索尼互动娱乐
Sony Interactive Entertainment
简介: 索尼互动娱乐(Sony Interactive Entertainment LLC;简称SIE),前称索尼电脑娱乐(Sony Computer Entertainment Inc.,简称为SCEI或SCE),是索尼旗下的游戏机、游戏软件开发、制造与贩售厂商,1993年11月16日在日本东京成立,1994年起使用现行45度角倾斜正方形图案作为公司标识。依地域性划分北美、欧洲、日本、亚洲四大市场。
2016年4月1日,索尼电脑娱乐与索尼网络娱乐(Sony Network Entertainment)合并为“索尼互动娱乐”(Sony Interactive Entertainment),总部由日本迁至美国加州圣马特奥(同时也是SIE美国的总部),商标沿用SCE的正方形商标。
成立时间: 1993年
总部: 美国加利福尼亚州圣马特奥
代表作品: PlayStation,PlayStation 2,PlayStation 3,PlayStation 4,PlayStation Vita,PlayStation 5
图片侵删