作为网站维护人员,不仅仅维护网站内容,还需要对网站流量,seo优化、管理员日志、用户活动情况、网站异常等进行日常监控。
网站流量功能通过安装流量统计代码可以实现,比如百度统计,站长统计等等,也可以安装pageadmin的统计插件实现。
seo优化可以通过站长权重功能查询,百度指数等工具。
现在国内很多网站采用pageadmin cms网站系统制作、可以很方便的利用pageadmin自带的日志功能让提升网站维护效率,下面讲解一下pageadmin cms的日志功能,很多人会觉得这个功能不起眼,但是实际对网站维护人员来说,减少了很多工作量,保证网站的正常运行。
首先登录后台,找到工具>>网站日志,如下图:

在这里可以看到很多分类日志,这里有两个重要的分类需要维护人员每日必须,错误日志和应用程序日志。
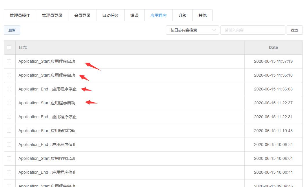
1、先说一下应用程序,如下图:

这里每次iis重启,或后台点击重启图标重启,这里都会有记录,如果这里出现频繁的停止和重启,那就需要检测服务器是否cpu,内存超负荷,或者网站访问量太大需要加宽带了。
2、错误日志,这个对于网站维护人员来说最重要。
小编故意在模板文件中制造几个错误后,打开页面凡是有报错,都会在日志中保存记录,如下图

很多时候大型网站页面数很多,我们没有办法一个一个检测每个页面是否能正常访问,经常都是用户反馈了某个页面不能访问后,网站维护人员才去处理问题,如果处理不及时会导致*在用潜**户流失,如果正好属于有排名的优化页面,严重的就导致页面搜索引擎排名丢失。
但是通过错误日志这个功能,网站维护人员就可以很清晰的知道哪个页面出了问题,可以快速进行修复和处理,减少不必要的损失。