从1月20日开始算,已经在家呆了近2个礼拜,突然也有点想念上班,不过最近又有一个坏消息就是有些城市封闭了,不知道员工什么时候才能回去上班,现在不是还有远程办公么!但是我们公司有点特殊,因为以前有过资料的泄露,所以公司组建了自己的内网并搭建了一个NAS,所有资料都在里面,并且设置访问权限。

但是从外网访问NAS有点困难,怎么办?其实很多人都有自建NAS的习惯,如果出差或者在外面要访问家里的NAS,都会用各种方法实现,比如我就用的蒲公英路由器来访问家里的NAS,一是搭建简单,二是便宜。如果是企业级的话用千兆的蒲公英路由器就能实现远程办公访问NAS。

由于有些公司网络结构复杂,如果重新部署网络很麻烦,所以可以选择蒲公英P5旁路盒子来组网访问NAS,开启旁路模式后不改变网络结构也可以组网实现异地访问公司NSA共享文件。
远程访问公司NAS搭建步骤
首先,将蒲公英P5部署在与NAS在同一局域网内,并接入网络;登录p.oray.com,输入蒲公英帐号。

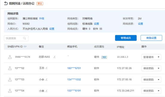
点击左侧导航栏“VPN网络”——“立即创建网络”;

输入【网络名称】,然后在下面【添加成员】中选择硬件成员,输入X5盒子反面的SN码;然后再添加软件成员,就是组网的人数,现在蒲公英取消了人数限制,可以添加更多的人数。

把需要组网的成员拉到右边,就可以轻松组网了。

管理员可在蒲公英管理平台自定义设置组网成员的备注名称,绑定相应员工的手机号,便于员工登录并访问公司NAS。最后只要开启【旁路设置】,根据操作一步一步来,几秒钟就设置完成了。

最后进入NAS把需要的文件共享出来就行了。

服务端&访问端
完成以上步骤后,蒲公英路由器下方的设备以及软件客户端成员之间已经实现了互访。在公司与外网远程访问端都需要安装并登录蒲公英VPN客户端。蒲公英VPN客户端支持多种登录方式,包括官网帐号、VPNid及密码以及手机号码。
注意:为了便于员工轻松上手,建议采用输入对应绑定的员工手机号码并发送短信验证码的方式进行登录。

外网员工登录成功后,即可查看到组网内的成员,双击服务器成员可进行ping测试,若能够正常ping通,则代表组网已经连接成功。

最后只要在网页上输入蒲公英分配给NAS的IP地址+端口号就行。
