(如需专利PDF全文,可留言)
机械键盘(mechanical keyboard)是游戏爱好者经常使用的一种键盘,通常情况下,机械键盘的每个按键都有一个单独的微动开关来控制闭合,此微动开关也被称为“轴”。依照微动开关的分类,机械键盘可分为传统的茶轴、青轴、白轴、黑轴、红轴以及Romer-G和光轴等。

其中红轴和青轴作为比较常用的轴型,红轴按压无声响,为线性手感,适用于游戏;青轴按压有声响,为段落手感,适用于打字。然而,很多情况下,使用者既需要游戏以放松心情,此时则需要线性手感的键盘;也需要打字以学习或者工作,此时则需要段落手感的键盘。为了满足线性手感和段落手感的切换,使用者需要备用两台键盘,使用非常麻烦,且用户购置键盘的成本较高,造成资源的浪费。
2022年11月18日,华为一件机械键盘相关专利或授权,可一台键盘实现青轴和红轴手感切换。
专利号:CN202221328126.8
专利名称: 机械轴体、机械按键、键盘及电子设备
数据来源:大为innojoy全球专利数据库
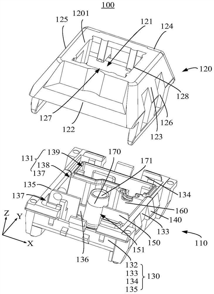
该提供一种机械轴体、机械按键、键盘及电子设备,机械轴体包括壳体、弹性体、操作柱、复位件、接触块和驱动部;弹性体、复位件、操作柱和驱动部均装设于壳体,且操作柱能够沿机械轴体的高度方向移动;复位件的相对两端分别抵接操作柱和壳体,以使操作柱移动后复位;接触块设于操作柱;驱动部使弹性体与接触块具有第一间隔,沿着机械轴体的高度方向按压操作柱,弹性体与接触块保持第一间隔;驱动部使弹性体与接触块产生第二间隔,沿着机械轴体的高度方向按压操作柱,接触块与弹性体产生接触碰撞。采用本申请实施例,能够实现段落手感和线性手感的切换,降低用户购置键盘的成本,节约资源。

