现在常用于门禁系统的电锁分为两种方式。前者在通电时开门,后者通过自动切断电源开门。但是在安防行业,消防电锁用锁一般需要断电才能开门。发生火灾时,电路断电,门可以自动打开。因此一般的安防公司在开发产品时都会引入两种切换模式,以满足用户的不同需求。先来介绍一下门禁插件锁安装的连接方式和使用注意事项:门禁系统的连接方式是什么?
了解了门禁电锁的工作原理,我们知道门禁电锁有不同的开锁方式和两种接线方式。根据电锁的接线端口,一般来说,电插锁、电磁锁等的类型。其通过通电解锁,连接到NC端口,而电子锁、阴极锁等。打开门的电源连接到NO端口。
安装过程中,值得注意的是锁状态线和门状态线。锁状态线连接可提供锁关闭信息,可与门禁控制器数字输入接口联动,实时查看锁关闭状态。门的状态连接很好地替代了单独安装门磁铁的问题,降低了安装成本,提高了系统的效率。
需要注意的是,很多门禁电锁都配备了专门的延时设置跳线或拨号装置,可以设置电锁的延时时间,但大多数门禁和对讲系统也有延时设置的功能,所以在安装电锁时最好考虑延时设置,让用户使用起来更加舒适。
一、门禁主机接电锁
以海康的K2600系列门禁锁为例。主板上有锁定+随动锁定的端子,端子本身已经充12V了。只需将磁锁或塞锁或阴极锁的正极接正极,将锁的负极接负极,然后跳帽将继电器状态设置为常开或常闭状态即可。

门禁系统属于智能建筑领域,意为Access Control System,简称ACS。指的是“门”的禁忌权限,也就是对“门”的防范。这里的“门”,广义上包括各种可以通过的通道,包括人和车辆的门。因此,门禁包括车辆门禁。在停车场管理的应用中,车辆出入控制是车辆管理的重要手段,不是以收取停车费为目的,而是主要用于管理车辆的出入权。
门禁安全管理系统是集微机自动识别技术和现代安全管理措施于一体的新型现代安全管理系统。它涉及许多新技术,如电子、机械、光学、计算机技术、通信技术、生物技术等。是解决重要部门出入口安全管理问题的有效措施。适用于各类机要部门,如银行、酒店、停车场管理、机房、军械库、机要室、办公用房、智能小区、工厂等。
门禁系统已经超越了简单的门道和钥匙管理,逐渐发展成为一个完整的门禁管理系统。它在工作环境安全、人员考勤管理等管理工作中发挥着重要作用。
二、门禁一体机解锁
下图是一个例子,是一把常开的锁,停电后门是关着的。让我们给open和gnd一个关闭信号,打开电源,锁舌缩回开门。

以海康K2800一体机或门禁主机的接线方式为例:
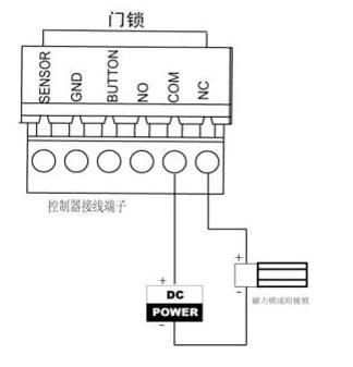
锁的负极接电源的负极,锁的正极接NC,电源的正极接COM。或者锁的正极接电源的正极,锁的负极接NC,电源的负极接COM。形成开路或闭路。
三,门禁主机(含一体机)接读卡器
1、读卡器485接法
主机门禁的RS485+、RS485-、12V、GND四个端子分别连接读卡器的RS485+、RS485-、PWR、GND。

2、读卡器韦根接法
读卡器的红色(+12V)和黑色(GND)连接到读卡器头的电源,绿色(W0)连接到端子W0,白色(W1)连接到端子W1。这里,四条线必须连接。如果要控制维根的LED和蜂鸣器,必须连接BZ/ERR/OK。

四、接入主机读卡器接线
以海康的K2601/K2602/K2604三个型号设备为例,最多可并联2/4/8个RS485读卡器。
读卡器的前四位是地址拨号代码。根据原理,地址1对应门1,地址2对应门1,地址3对应门2,地址4对应门2,以此类推,直至地址8。
当读卡器连接485时,最后四位数字关闭,没有拨号代码。

五、读卡器拨码

1、485读卡器拨码
二进制拨号方式,第一扇门读卡器拨1,第一扇门读卡器拨2。第二门的入口读卡器拨1和2,出口读卡器拨3。第三扇门的入口读卡器拨1和3,出口读卡器拨2和3。第四道门的入口读卡器拨1、2、3,出口读卡器拨4,重启生效。
2、韦根端口器拨码
拨6(现在新读卡器维根连接不加密,拨5和6,其余不拨。)重启生效。
六、门禁一体机通讯设置
1、485通讯设置
门禁一体机为主机,外接读卡器时,通讯设置-RS485-外接设备选择读卡器。

2、韦根通讯设置
当门禁一体机作为主机外接韦根读卡器时:通讯设置-韦根设置-韦根使能-传输方向选择输入-模式选择韦根34。

七、门禁主机(含一体机)接门磁
门磁原理
它是一种安全报警装置,用于检测门状态并反馈门状态(4200视图)。
门磁接线
将车门磁信号线连接到一体机上的传感器/GND端子。

1、锁接线(如YB100电插锁、YH280KG磁锁等。),锁的正极接门禁专用电源的NC端;锁的负极连接到门禁专用电源的GND端子。
2.中控门禁机布线(如F2、F201、F8、SC102、SC103、F7等。)、中控门禁机的+12V(红色)接门缴费专用电源+12V;GND(黑色)的中央检修门连接到专用门禁电源GND;中央门禁机NO(蓝色)接门禁专用电源PUSH中控门禁机的COM(红色)连接门禁电源的专用电源GND。
注:中控门禁机的GND和COM可以并联,然后同时接入门禁专用电源的GND。
动力由锁控门禁机器直接提供。
八、门禁主机接开门按钮
开门按钮原理
开门按钮按下,给门禁主机一个闭合信号,此时门禁主机开门按钮对应继电器状态改变,实现开门。
开门按钮接线
开门按钮“press”接“开门”,“to exit”接“GND”(不区分正负极)

九、门禁一体机接开门按钮
开门按钮原理
开门按钮按下,给门禁一体机一个闭合信号,此时门禁一体机开门按钮对应继电器状态接改变,实现开门。
开门按钮线
开门按钮PRESS接BUTTON,TO EXIT接GND(不区分正负极)

官网:http://www.jisucx.com
公众号:极速佳