社会工作是社会治理和社会服务体系的组成部分,主要针对社会成员的心理和社会功能失调问题,通过开展心理疏导、关爱保护、行为矫治、社区康复、社会融入等一系列专业的工作,帮助服务对象修复社会功能、增强生活信心、提升发展能力。在养老服务领域,同样少不了社会工作者的参与。那么社工具体要做哪些养老服务呢?

基本要求
1 老年社会工作者工作要求
1.1 社会工作者应掌握老年社会工作的相关知识,具备开展个案工作和小组工作的能力,了解社会学、心理学、老年学、医学方面的基本知识。
1.2 养老机构中,每100名老人应至少配备1名社会工作者。
1.3 工作原则:
a) 接纳和尊重;
b) 个别化和不批判;
c) 平等待人,注重参与;
d) 个人潜能提升与社会发展相结合。
1.4 伦理要求
a) 应自觉遵循社会工作专业伦理。
b) 应明确社会工作服务意识,遵守《社会工作者职业道德指引》,树立以老年人为中心的服务理念。
c) 应尊重老年人,保护老年人隐私。
2 老年社会工作者继续教育要求
应按照《社会工作者继续教育办法》,接受继续教育,不断提高职业素质和专业服务能力。
3 服务场所与设施设备要求
3.1 服务场所布置应温馨,色彩以暖色调为主;应保持通风,卫生清洁,无异味,光线明亮,无噪音,物品摆放整齐。
3.2 服务场所地面应防滑、防水,墙壁边角处应做钝化处理。
3.3 服务场所的家具应选用硬面的沙发、稳固不易碰倒的座椅及不易碰碎的物品,确保活动空间足够老年人通过,避免绊倒或碰撞。
3.4 个案工作房间应布置相对私密、舒适的环境,避免被干扰和打断;小组工作房间应配备座椅、桌子、储物柜、黑板及多媒体设备。
4 安全要求
4.1 服务场所内显著位置应设置应急疏散图,安全标志明显、保持完好,便于工作人员及老年人识别。
4.2 服务场所的安全通道应保持畅通,遇突发灾难时社会工作者应立即组织老年人从安全通道疏散到安全地带,并立即上报主管领导。
4.3 服务过程中社会工作者应时刻关注老年人身体状况,在出现突发病情时应立即中止服务并联系医护人员。
服务类别与内容
1 环境适应
1.1 帮助新入住养老机构的老年人,认识和熟悉机构的环境,了解并使用机构资源,建立和发展新的社会关系网络,融入集体生活。
1.2 环境的内容包括自然环境、生活环境和社会环境。
2 关系调适
2.1 处理和协调养老机构内老年人的人际关系问题,使老年人与他人良好互动。
2.2 人际关系包括但不限于老年人之间、老年人与工作人员、老年人与亲属的关系。
3 矛盾调处
3.1 调解和处理老年人与他人之间产生的纠纷或冲突。
3.2 矛盾包括但不限于老年人之间、老年人与工作人员、老年人与亲属的纠纷或冲突。
4 心理支持
4.1 运用社会工作的理论与技巧,对心理方面出现问题并企求解决的老年人,通过语言或者文字的交流,共同讨论找出引起心理问题的原因,分析问题的症结,进而寻求摆脱困境解决问题的条件和对策,恢复心理平衡、增进身心健康。
4.2 心理支持包括但不限于情绪疏导、心理咨询和危机干预。
4.3 对处在危机情境中的老年人,应首先保障其安全,再提供服务。心理支持的后期侧重于协助老年人发挥潜在的能力,利用人际支持网络以及社会资源,恢复自尊与自信,培养自主能力以面对和克服危机。
5 休闲娱乐
5.1 根据老年人的身心特点与需求,有针对性地开展具有休闲性质的娱乐活动。
5.2 活动的内容包括但不限于文艺、美术、棋牌、健身、游艺、观看影视、参观游览。
6 教育发展
6.1 通过开展有教育作用的活动,让老年人获得新的知识与技能,增强个人能力,预防生理、心理和社会功能的迅速退化,发挥老年人的潜能。
6.2 活动的形式包括但不限于讲座、培训班。
7 资源整合
7.1 帮助老年人充分利用社会资源以解决生理、心理、经济、社会交往方面的问题。
7.2 社会资源包括但不限于老年人的亲戚、朋友、邻里、爱心人士、政府部门、企事业单位、非营利组织所提供的人力、物力、财力和信息资源。
8 临终关怀
8.1 为生命活动即将终结的老年人及其家属提供缓解性、支持性的服务, 使临终老年人尽可能享有生命质量,使家属顺利度过哀伤期。
8.2 服务包括但不限于生活指导、心理疏导、哀伤辅导、身后事处理。
服务流程
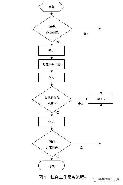
1 服务流程图
社会工作服务流程包括接案、预估、制定服务计划、介入、评估、结案和转介,见图1。

2 接案
与老年人面谈,初步界定老年人的问题,建立专业关系,做好接案会谈记录。
3 预估
收集老年人的资料,分析和界定老年人的问题与需要,确定介入的策略。
4 制定服务计划
与老年人一起制定具体的服务目标、服务阶段和服务方法,可采取的服务方法包括个案工作、小组工作。
5 介入
社会工作者根据服务计划,运用个案工作或者小组工作的方法为老年人提供服务。
6 评估
服务结束后,对接受服务的老年人以问卷或访谈的形式,系统的评价社会工作服务的介入效果与目标达成情况。
7 结案
对整个介入过程进行回顾和总结,帮助老年人巩固已经取得的成果,解除工作关系,做好记录并存档。
8 转介
8.1 转介是指通过一些必要的手续,将服务对象介绍给其他能够给予必要帮助的服务机构或其他社会工作者。
8.2 接案、介入和评估流程均涉及转介。
8.3 接案时,社会工作者应初步界定老年人的问题是否属于职责范围,对不属于职责范围的老年人应转介至其他专业人员或者机构。
8.4 介入过程中,老年人出现新的需求或问题而社会工作者无法解决的,则应转介至其他专业人员或者机构。
8.5 经评估,对于还需要其他服务的老年人,应转介至其他专业人员或者机构。
8.6 转介前,社会工作者应在征询老年人意见并解释原因后,由老年人自主决定是否进行转介;转介时,社会工作者应向老年人提供其他专业人员或者机构的信息供老年人选择,并协助其联系其他专业人员或者机构。转介后,应不定期回访老年人,询问转介的效果。
质量控制
1 服务质量管理
1.1 社会工作者在服务过程中应随时自我检查,发现问题应立即纠正并调整服务方案,不能解决的问题及时向社会工作部门负责人报告。
1.2 社会工作部门负责人每周检查服务记录不少于1次,现场检查不少于1次,发现问题及时纠正并调整。
1.3 社会工作部门负责人每半年以问卷的形式向老年人进行服务满意度调查,服务对象满意度应≥90%。对未达到指标的服务项目应分析原因,并及时调整服务方案。
7.1.4 社会工作部门负责人每半年检查社会工作服务开展情况,服务完成率应达到100%,服务记录合格率应达到100%,如果没有达到以上要求,则需分析原因,制定并实施纠正和预防措施。
2 社会工作行政
2.1 制度建设
2.1.1 老年服务机构应制定相应的社会工作服务规章制度并根据需要进行修订。
2.1.2 老年服务机构研究与制定老年服务规划、计划和方案时应有社会工作者参加。
2.2 档案管理
应加强老年社会工作服务档案的管理,主要工作包括:
a) 建立基本服务档案,包括老年的基本信息、服务提供者、服务场所、服务过程的记录及服务成效等;
b) 建立服务质量监控记录档案,包括考核情况、服务质量目标完成情况和服务计划调整情况等;
c) 根据老年实际情况进行分类、分级管理档案,做好老年信息的保密工作。
督导
1 督导对象
督导对象包括:
a) 新进入社会服务机构的老年社会工作者;
b) 服务年限较短、经验不足的老年社会工作者;
c) 在老年社会服务机构实习的学生;
d) 老年社会服务机构的志愿者。
8.2 督导内容
社会工作督导包括为社会工作者提供的行政、教育和支持性督导,应开展下列主要工作:
a) 参与服务质量评估,对有关项目进行审核,调整服务方案,优化服务结构,增强服务效果;
b) 协调社会工作者与机构和有关部门之间的关系;
c) 及时对发现的问题和情况进行总结分析,并对机构专业服务决策与经验推广提出建议;
d) 协助机构设计、规划、监督所负责服务领域的工作程序,根据实际需要与合作机构和相关部门进行沟通协调,调整服务方案,优化服务结构;
e) 对工作程序、服务质量以及职业操守进行监督、总结,提出建议并及时反馈;
f) 监督服务提供者的工作表现及服务效率,提供业务指导;
g) 监督社会工作者的职业操守,给予情绪支持;
h) 评价专业教育培训的有效性。