怠速控制系统原理
不同的车系,怠速控制系统的构成与具体控制内容会有一些差别。典型怠速控制系统的组成及控制原理如下图所示。

怠速控制系统的组成与控制原理
1—目标转速;2—比较电路;3—控制量计算;4—驱动电路;5—怠速状态判断
(1)怠速稳定控制
发动机怠速稳定控制实际上是一种转速反馈控制。在微机存储器中,存储有发动机在不同状态下的最佳稳定怠速参数(目标转速)。
当发动机处于怠速工况时,怠速控制系统不断地监测发动机的转速,并与当前发动机状态下的目标转速进行比较,当发动机怠速出现波动,偏离了设定的目标转速时,ECU输出控制脉冲使怠速控制执行器动作,将发动机的怠速调节在设定的目标转速范围之内。
怠速稳定控制所需的传感器信号有以下几种:
◆ 发动机转速传感器,提供发动机在怠速工况下的发动机转速信号。
◆ 节气门位置传感器,提供节气门关闭信号,是ECU判断发动机是否处于怠速工况的基本信号。
◆ 发动机冷却液温传感器,提供发动机温度信号,ECU根据此信号选定目标转速。
◆ 车速传感器,提供汽车行驶速度信号,当车速低于2km/h,且节气门关闭,ECU
作出“发动机处于怠速工况”的判断,进入怠速控制程序。
◆ 空调开关,提供空调关断信号,只有在空调不使用时,ECU才进入发动机转速反馈式怠速稳定控制。
(2)高怠速运行控制
① 发动机负荷高怠速控制
在节气门处于关闭位置(发动机在怠速工况),但需要发动机带动一定的负荷以较高的转速下运转时,ECU输出控制信号,使怠速控制执行器动作,将发动机的怠速调高至某一值。比如,在使用汽车空调、蓄电池亏电等情况下,怠速控制系统通过高怠速运行控制,使发动机在一个较高的怠速下运行,以保证在发动机怠速工况下的空调系统正常工作和及时向蓄电池补充电能。
② 转速变化预见性高怠速控制
在发动机怠速工况时,为避免发动机驱动的附加装置的阻力矩突然增大而导致发动机怠速下降甚至熄火,ECU在接收到附加装置阻力矩增大的有关电信号时,就输出控制信号,通过怠速控制执行器预先调大怠速进气量。
怠速控制系统高怠速运转控制除了利用发动机转速传感器、节气门位置传感器、车速传感器、发动机冷却液温度传感器等得到发动机转速、怠速工况及发动机温度信息外,还用到如下的开关信号:
◆ 空调开关,提供汽车空调是否使用信息。若开关接通,ECU将作出高怠速运转控制,以使发动机有适当的功率输出,带动空调压缩机正常运转。
◆ 蓄电池电压,提供蓄电池是否亏电或蓄电池负荷是否很高的信息。若亏电或负荷很高,ECU将作出高怠速运转控制,以便在怠速工况下使发电机能向蓄电池充电。
◆ 自动变速器挡位开关,提供自动变速器是否从N挡或P挡挂上运行挡位(D挡或R挡、3位、2位)信息。若挂入相应挡位,ECU将作出高怠速运转控制,以避免自动变速器油泵因挂上运行挡后阻力增大而引起发动机转速下降。
◆ 尾灯继电器或后窗降雾继电器等,向怠速控制系统提供电器负荷增大信,ECU根据这些用电设备继电器接通信号作出电器负荷增大判断,并进行高怠速控制,以避免发电机负荷增大而引起发动机转速下降。
(3)其他怠速控制
① 启动时怠速控制阀的控制
在发动机启动时,ECU控制怠速控制阀至开度最大位置,以使发动机启动容易。启动后,ECU根据发动机转速及温度信号,逐渐减少怠速控制阀的开度。启动时怠速控制阀控制所用到的传感器及开关信号有以下两个:
◆ 发动机转速传感器,提供发动机怠速工况下的转速信号。
◆ 点火开关,提供发动机启动信号和启动后信号。
② 活性炭罐电磁阀工作时怠速控制阀的控制
在一些汽车上,怠速控制系统还根据活性炭罐控制阀的开启情况来调整怠速通道的通气量,以避免发动机怠速产生波动。除用于怠速工况判别的节气门位置传感器外,该稳定怠速控制所用到的传感器信号有以下两个:
◆ 发动机转速传感器提供发动机怠速工况下发动机转速信号。
◆ 活性炭罐电磁阀,提供活性炭罐电磁阀开启信号,当活性炭罐电磁阀通电时,ECU控制怠速控制阀的开度以稳定怠速。
③ 怠速偏离修正控制
怠速偏离修正控制即怠速控制系统的学习修正控制。当因发动机部件老化等外部原因使发动机的怠速偏离原设定值时,ECU控制怠速控制阀预置一个开度,将发动机的怠速修正到设定的值。
怠速控制系统部件的结构
(1)节气门直动式怠速控制执行器
一种安装于单点喷射式发动机节气门体上的节气门直动式怠速控制执行器,如下图所示,它由以下两部分组成。

节气门直动式怠速控制执行器
1—节气门操纵臂;2—节气门体;3—怠速控制执行器;4—喷油器;5—压力调节器;6—节气门;7—防转动六角孔;8—弹簧;9—电动机;10,11,13—减速齿轮;12—传动轴;14—丝杆
① 直流电动机。怠速控制执行器的动力部分,由ECU通过驱动电路控制其转动。
② 传动机构。起增矩减速的作用,并将电动的旋转运动变为节气门操纵臂限位片的直线运动。
当ECU输出怠速调整控制信号时,通过驱动电路使电动机通电,并转动与控制信号脉冲相应的转角,经传动机构的传动后,使节气门操纵臂限位片移动,从而改变了怠速时节气门的开度。
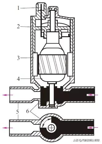
(2)步进电动机式怠速控制阀
步进电动机式怠速控制阀主要由步进电动机、丝杆机构和空气阀等组成(下图)。

步进电动机式怠速控制阀
1—空气阀阀座;2—阀杆;3—定子绕组;4—轴承;5—丝杆;6—转子;7—空气阀阀体
步进电动机的转子与丝杆组成丝杆机构,当步进电动机转子在怠速控制信号的控制下转动时,丝杆作直线移动,通过阀杆带动空气阀上、下移动,使空气阀开启或关闭。
步进电动机式怠速控制阀的典型控制电路如下图所示。

当需要调整怠速时,怠速控制系统通过ECU内部的步进电动机驱动电路使步进电动机的4个绕组依次通电,使步进电动机转动,将空气阀移动至适当的位置。
主继电器控制电路的作用是当点火开关关断时,使ECU继续通电2s,以便使ECU完成启动初始位置的设定。在点火开关断开后的这2s时间里,步进电动机在ECU的控制下转动,使空气阀开启至最大,为下次启动做好准备。
(3)直动电磁阀式怠速控制阀直动电磁阀式怠速控制阀
直动电磁阀式怠速控制阀的电磁线圈通电后产生的电磁力吸引阀杆克服弹簧力作轴向移动,直至电磁力与弹簧力相平衡。这种怠速控制阀的开度通常是由ECU通过控制电磁阀线圈的电流实现。电磁阀电流消失,阀在弹簧力的作用下回位(关闭)。

直动电磁阀式怠速控制阀
1—阀;2—阀杆;3—线圈;4—弹簧;5—壳体;6—消除负压用的波纹管
(4)转动电磁阀式怠速控制阀
转动电磁阀式怠速控制阀有两种形式,一种是转子为永久磁铁,电磁线圈在定子上;另一种是定子为永久磁铁,电磁线圈绕在转子中。下图所示的是定子为永久磁铁、转子中绕有两组绕组的转动电磁阀式怠速控制阀。

转动电磁阀式怠速控制阀
1—电路插接器;2—壳体;3—定子(永久磁铁);4—转子;5—附加空气通道;6—旋转阀
电路原理转动电磁阀式怠速控制阀的控制电路如下图所示。

ECU中微机输出的怠速控制占空比信号经驱动电路(反相器及VT1、VT2)后,输出同频反相的电磁阀控制脉冲ISC1、ISC2。转子的两个绕组中,其中一个通电使阀打开,另一个通电使阀关闭。当需要调整怠速时,微机通过改变控制信号的占空比,使两个绕组的通电时间发生变化,从而使阀的开启程度发生改变。
(5)开关电磁阀式怠速控制阀
开关电磁阀式怠速控制阀只有开和关两种状态,即电磁线圈通电时,阀被打开,电磁线圈断电时,阀就关闭。开关电磁阀式怠速控制阀的结构如下图所示。

开关电磁阀式怠速控制阀
1—电磁线圈;2—接线端子;3—阀;4—来自空气滤清器;5—至进气管
① 占空比控制方式
ECU输出的是频率固定、但占空比变化的怠速控制信号,通过调整电磁阀的开闭比率实现怠速的控制。开关电磁阀式怠速控制阀占空比控制方式的控制电路如下图所示。

② 开关控制方式
ECU输出的控制信号只有高电平和低电平两种状态,控制电磁阀的通电或断电。因此,开关控制方式的电磁阀式怠速控制阀只有打开(高怠速)和关闭(正常怠速)两种工作状态。
案例分析
斯柯达明锐轿车怠速抖动
故障现象:
一辆斯柯达明锐2012款轿车,行驶8万千米,发动机怠速时有轻微的不规则抖动现象。停车加油时,排气管有突突声。行驶过程中,急加速、超车比较费力。
故障排除:
用解码仪读取故障码,无故障码显示。读取数据流,也未发现有严重超差现象。以上考虑电控部分可能无故障,故障原因可能在油路上。
检查油路,测量油路压力,怠速时油压为230kPa,急加速时为260kPa。将发动机熄火后,再观察油压表,显示值为180kPa,完全符合燃油压力规定值,说明油路也可能没问题。检查点火电路,对火花塞进行了清洗,并对点火线圈进行了检查,也未发现异常。
由于该机怠速轻微抖动,加速不好,排气管有突突声,可能是有的缸工作不好。于是测量了气缸压力,四个缸压力基本相同,各缸并无漏气现象。根据发动机常规检查法,怀疑高压线可能有故障,更换了全部高压线,上述故障现象全部排除。
提示:
怠速不良是发动机常见的一种故障,也就是怠速运转时发动机发抖,转速不稳,造成发动机怠速不良有很多原因,一般有:
①进气系统漏气,会导致气缸混合气过稀,引起怠速不良,甚至熄火;
②空气滤清器脏污堵塞;
③若个别缸不工作,或是空气流量传感器损坏,燃油压力和汽缸压力低;
④各缸喷油器喷油不均匀;
⑤点火提前角调整不当时,发动机也会工作不稳;
⑥配气相位不准确也会造成怠速不良等。