“拼多多,拼多多,拼的多,省得多!”
伴随着拼多多这首魔性神曲*脑洗**,2015年成立的拼多多用两年多的时间狂揽三亿用户,成功让歌中所唱的“不管有事没事拼多多”照进了现实。

(图片来源:图虫创意)
如今,拼多多俨然已成为电商新贵,其活跃用户排名综合商城类第二,仅次于淘宝。但就当朋友圈、微信群被拼多多强势“占领”之后,另一种声音也开始出现。在质疑者的认知中,一分价钱一分货,拼多多一时被人戏称“拼夕夕”。
但是,似乎这种叫法得到了官方的认可。
近日,上海寻梦信息技术有限公司申请注册“拼夕夕”商标,国际分类为“33-酒”。

(图片来源:商标局网站截图)
据悉,上海寻梦信息技术有限公司成立于2014年1月,注册资本1000万人民币,由杭州埃米网络科技有限公司全资持股。该公司经营范围包括网络科技、计算机软硬件领域内的技术开发、技术转让、技术咨询、技术服务,网络工程、计算机系统集成等。
而拼多多是隶属于上海寻梦信息技术有限公司的一家商家入驻模式的第三方移动电商平台。2015年4月,上海寻梦信息技术有限公司创立拼好货,同年9月,内部孵化电商平台“拼多多”,继而拼好货和拼多多合并。
目前,该申请商标状态显示为“ 商标其他情形”,商标流程为“商标注册申请——申请收文”。

(图片来源:商标局网站截图)
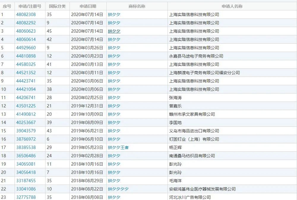
值得注意的是,根据商标局官网显示,早在2018年8月,上海寻梦信息技术有限公司就曾申请注册过多个“拼夕夕”的商标,国际分类包括“科学仪器”、“网站服务”、“社会服务”等,目前商标状态多数显示为“等待实质审查”。
除上海寻梦信息技术有限公司外,上海实踏信息科技有限公司、永嘉县马途电子商务有限公司、赣州市承文家具有限公司等也申请过多个“拼夕夕”的相关商标,多数商标状态显示为“等待实质审查”。
知识产权专家认为,全方位商标保护确实是一种比较好的品牌保护手段,这样做的优势显而易见,有利于防止他人抢先注册“傍名牌”行为,也防止遭到恶意抢注,避免出现为了拿回商标而损失大量经济的行为,从而进一步维护公司的利益。
这时候,您需要了解下创易·知行易
专业知识产权服务机构
更专业、更高效的为企业量身打造知产方案!
相关链接:创易赋能创服链旗下·专业知产服务平台
在全新的市场格局与发展变化之下,企业的核心竞争优势尤其是知识产权层面的竞争优势变的越来越重要。小到商标注册申请,大到专利技术注册申请与转让交易,甚至知识产权维权,知产服务已经从之前简单的跑腿代办,逐渐趋于专业化、实效化、品牌化、全国化。
区别于传统知产公司的简易服务,创易知行易汇聚国内一流知产人才,结合互联网技术,为企业量身打造知产查询、申请、维护定制方案,实现——
查询更快速、核定更精准;
注册更实效、成功率更高;
服务更深入、操作更系统;
知行易,致力品牌化、全国化发展,让企业“知行合一”,不仅是专业知识产权服务机构、平台,也是创易赋能创服链核心服务环节。
知行易核心服务:
- 版权服务 商标服务 专利服务
- 交易服务 创易服务 创新服务