摘 要
本指南描述如何利用京东云Web应用防火墙(简称WAF),对一个简单的网站(无论运行在京东云、其它公有云或者IDC)进行Web完全防护的全过程。该指南包括如下内容:
1 准备环境
1.1 在京东云上准备Web网站
1.2 购买京东云Web应用防火墙实例
2 配置Web应用防火墙
2.1 增加Web应用防火墙实例的网站配置
2.2 在云平台放行WAF回源IP
2.3 本地验证配置
2.4 修改域名解析配置
3 测试Web防护效果
3.1 发起正常访问
3.2 发起异常攻击
3.3 分析安全报表
4 环境清理
1 准备环境
1 .1 在京东云上准备Web网站
在京东云上选择CentOS系统创建一台云主机,分配公网IP,安装Nginx,并在域名解析服务上配置域名和IP的映射。具体的Web应用信息如下:
# 操作系统信息
[root@waf-demo ~]# cat /etc/redhat-release
CentOS Linux release 7.6.1810 (Core)
# 安装dig命令,该命令可显示域名的解析情况
bash
[root@waf-demo ~]# yum install bind-utils -y
[root@waf-demo ~]# dig -v
DiG 9.9.4-RedHat-9.9.4-72.el7
# Nginx服务信息
[root@waf-demo ~]# service nginx status
Redirecting to /bin/systemctl status nginx.service
● nginx.service - The nginx HTTP and reverse proxy server
Loaded: loaded (/usr/lib/systemd/system/nginx.service; enabled; vendor preset: disabled)
...
在配置完域名和公网IP映射后,通过dig命令可获得域名解析情况。
[root@waf-demo ~]$ dig waf-demo.jdcoe.top +trace
...
waf-demo.jdcoe.top. 60 IN A 114.67.85.98
;; Received 63 bytes from 153.99.179.161#53(ns2.jdgslb.com) in 13 ms
通过互联网远程访问该Web网站。
MacBook:~ user001$ curl http://waf-demo.jdcoe.top -I
HTTP/1.1 200 OK
Server: nginx/1.12.2
Date: Mon, 24 Dec 2018 03:22:21 GMT
Content-Type: text/html
Content-Length: 3700
Last-Modified: Tue, 06 Mar 2018 09:26:21 GMT
Connection: keep-alive
ETag: "5a9e5ebd-e74"
Accept-Ranges: bytes
1.2 购买京东云Web应用防火墙实例
进入京东云控制台,点击 云安全, Web应用防火墙, 套餐购买 , 进入"Web应用防火墙 - 购买“界面,选择需要 企业版 套餐(每种套餐规格请参考套餐详情)。具体的购买界面如下图:

在购买完成后,将在实例管理界面中看到所购买的实例信息。

2 配置Web应用防火墙
在使用京东云Web应用防火墙保护网站前,需要完成下列配置,才能实现用户提交的HTTP/HTTPS访问请求通过Web应用防火墙检测后,再发送到Web网站。
2.1 配置Web应用防火墙实例的防护网站
在Web应用防火墙界面,点击 网站配置 , 添加网站 , 在下面界面中输入相关配置信息。

界面参数具体描述如下:
域名:输入需要保护的网站的域名;
- 协议 :缺省选择HTTP,如果网站支持HTTPS,则选择HTTPS,并选择SSL证书;
- 服务器地址 :网站的IP;
- 服务器端口 :网站的访问端口;
- 是否已使用代理 :缺省选择"否",但如果网站还使用了IP高防服务,也就是访问请求来自于IP高防,则应选择“是";
- 负载均衡算法 :当配置多个源站IP,WAF在将过滤后的访问请求回源时,将按照IP Hash或轮询的方式去做负载均衡。
新创建的网站配置的防护设置是处于关闭状态,需要点击防护配置链接进入配置界面。

在网站防护配置界面中,设置 Web应用攻击防护 状态为 On 模式为 防护 ,防护规则策略等级为 严格 。设置CC安全防护状态为 On ,模式为 正常 。

2.2 本地验证配置
在网站配置列表界面中,能获得为被防护网站生成的CNAME。针对域名“waf-demo.jdcoe.top",生成的WAF CNAME是 waf-demo.jdcoe.top-15f08249c274.jdcloudwaf.com .

通过执行ping命令,能获得Web应用防火墙的IP地址为101.124.23.163。
MacBook:etc user001$ ping waf-demo.jdcoe.top-15f08249c274.jdcloudwaf.com
PING waf-demo.jdcoe.top-15f08249c274.jdcloudwaf.com (101.124.23.163): 56 data bytes
64 bytes from 101.124.23.163: icmp_seq=0 ttl=49 time=57.525 ms
^C
--- waf-demo.jdcoe.top-15f08249c274.jdcloudwaf.com ping statistics ---
1 packets transmitted, 1 packets received, 0.0% packet loss
round-trip min/avg/max/stddev = 57.525/57.525/57.525/0.000 ms
应用安全网站不允许通过生成的CNAME或者IP地址进行访问,如果直接访问,将报“Bad Request“错误。
MacBook:etc user001$ curl waf-demo.jdcoe.top-15f08249c274.jdcloudwaf.com
<h1> Bad Request </h1>MacBook:etc user001$
MacBook:etc user001$ curl 101.124.23.163
<h1> Bad Request </h1>MacBook:etc user001$
修改本机IP地址101.124.23.163和域名waf-demo.jdcoe.top的映射,在Linux下,域名配置文件为/etc/hosts。
1101.124.23.163 waf-demo.jdcoe.top
然后在本地执行如下命令“curl waf-demo.jdcoe.top -I”,将在显示Server是jfe,表明已经通过Web应用防火墙。
MacBook:~ user001$ curl waf-demo.jdcoe.top -I
HTTP/1.1 200 OK
Server: jfe
Date: Mon, 24 Dec 2018 07:12:03 GMT
Content-Type: text/html
Content-Length: 3700
Connection: keep-alive
Last-Modified: Tue, 06 Mar 2018 09:26:21 GMT
ETag: "5a9e5ebd-e74"
Accept-Ranges: bytes
此时,看Web的访问日志,将看到如下信息,表明请求已经通过Web应用防火墙,然后转发到Web源站。
1101.124.23.116 - - [24/Dec/2018:15:12:04 +0800] "HEAD / HTTP/1.0" 200 0 "-" "curl/7.54.0" "117.136.0.210"
2.3 在云平台放行WAF回源IP
在对源站配置了WAF服务后,源站原则上只能接收来自WAF的转发请求。网站云主机最初的安全组配置如下,这样任何客户端都可以直接访问Web网站。
通过curl命令能直接访问Web网站。
MacBook:~ user001$ curl 114.67.85.98 -I
HTTP/1.1 200 OK
Server: nginx/1.12.2
Date: Mon, 24 Dec 2018 07:20:08 GMT
Content-Type: text/html
Content-Length: 3700
Last-Modified: Tue, 06 Mar 2018 09:26:21 GMT
Connection: keep-alive
ETag: "5a9e5ebd-e74"
Accept-Ranges: bytes
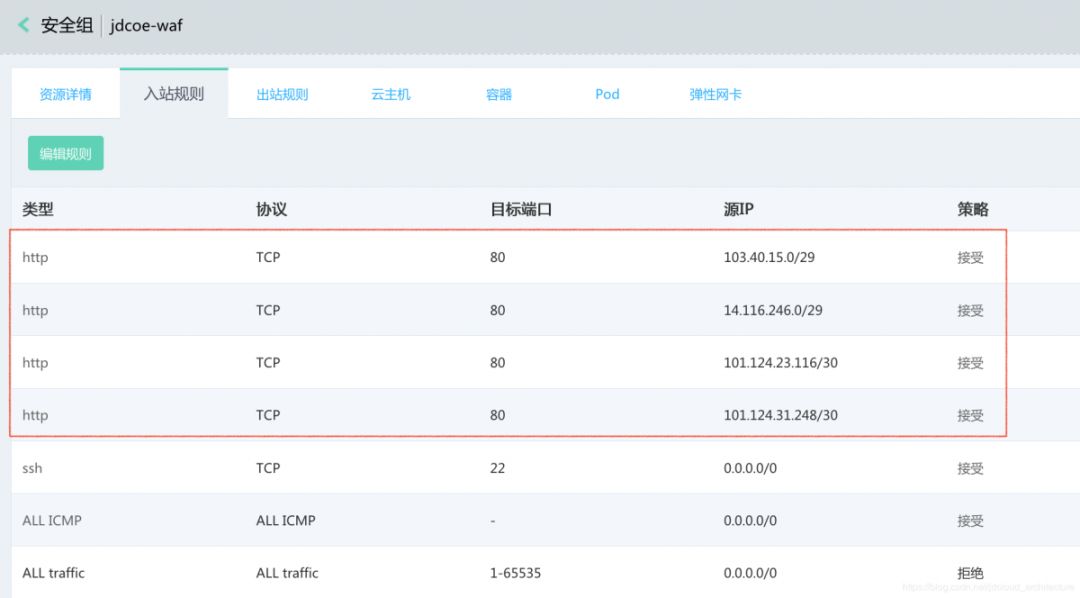
京东云WAF服务所采用的IP地址为如下:
101.124.31.248/30
101.124.23.116/30
14.116.246.0/29
103.40.15.0/29
因此需要在安全组中删除允许所有源IP都可访问Web网站的规则,并增加允许上述地址段可以访问Web网站的规则。修改后的安全组配置信息如下图:

这样Web网站将只接收来自WAF的请求,而不能直接访问。
# 不能直接访问源站
MacBook:~ user001$ curl 114.67.85.98 -I
^C
# 可以通过WAF服务访问源站
MacBook:~ user001$ curl waf-demo.jdcoe.top -I
HTTP/1.1 200 OK
Server: jfe
Date: Mon, 24 Dec 2018 07:52:19 GMT
Content-Type: text/html
Content-Length: 3700
Connection: keep-alive
Last-Modified: Tue, 06 Mar 2018 09:26:21 GMT
ETag: "5a9e5ebd-e74"
Accept-Ranges: bytes
2.4 修改域名解析配置
最后,需要在域名解析上修改原域名的解析规则,下面是京东云的云解析为例,配置域名waf-demo.jdcoe.top的CNAME为 waf-demo.jdcoe.top-15f08249c274.jdcloudwaf.com。

最后删除本机域名和IP地址的静态映射,然后执行dig命令,将看到为域名waf-demo.jdcoe.top配置的CNAME。
[root@waf-demo ~]# dig waf-demo.jdcoe.top +trace
...
waf-demo.jdcoe.top. 60 IN CNAME waf-demo.jdcoe.top-15f08249c274.jdcloudwaf.com.
;; Received 107 bytes from 59.37.144.32#53(ns1.jdgslb.com) in 28 ms
3 测试Web防护效果
3.1 发起正常访问
在一台机器上正常访问页面,能获得正常响应,同时在Web网站上能看到访问日志。
[root@jdcoe-bastion ~]# curl waf-demo.jdcoe.top/index.html -I
HTTP/1.1 200 OK
Server: jfe
Date: Mon, 24 Dec 2018 08:35:24 GMT
Content-Type: text/html
Content-Length: 3700
Connection: keep-alive
Last-Modified: Tue, 06 Mar 2018 09:26:21 GMT
ETag: "5a9e5ebd-e74"
Accept-Ranges: bytes
Nginx网站访问日志
101.124.31.248 - - [24/Dec/2018:16:35:24 +0800] "HEAD /index.html HTTP/1.0" 200 0 "-" "curl/7.29.0" "114.67.95.131"
3.2 发起异常攻击
下面模拟一个"文件读取/包含攻击",也就是说在HTTP请求中包含读取特定的系统问题。在无WAF防护的情况下,Web网站将返回如下信息:
[root@waf-demo ~]# curl localhost/index.html/etc/passwd -I
HTTP/1.1 404 Not Found
Server: nginx/1.12.2
Date: Mon, 24 Dec 2018 08:37:15 GMT
Content-Type: text/html
Content-Length: 3650
Connection: keep-alive
ETag: "5a9e5ebd-e42"
但是如果通过WAF防护,WAF将检测出请求中包含了对敏感文件访问,因此阻止该访问请求。
[root@jdcoe-bastion ~]# curl waf-demo.jdcoe.top/index.html/etc/passwd -I
HTTP/1.1 403 Forbidden
Server: jfe
Date: Mon, 24 Dec 2018 08:37:22 GMT
Content-Type: text/html
Content-Length: 162
Connection: keep-alive
3.3 安全分析报表
京东云WAF将根据配置阻断非法的HTTP请求,并通过安全报表获得攻击的来源和攻击类型的相关信息。下图是WAF实例下的waf-demo.jdcoe.top网站的防护报告。

4 环境清理
本指南会用到云主机、公网带宽和Web应用防火墙等收费资源。如果购买时采用按配置计费,建议删除资源。
总结:
本指南介绍了如何利用Web应用防火墙实现一个网站的安全防护。通过Web应用防火墙对HTTP/HTTPS请求的检测和过滤,减少因应用安全漏洞所造成的信息泄漏风险。