7月6日,平顶山市区黄河路与凤凰路以及黄河路与创业大道附近,有3块住宅用地网上挂牌出让,每亩地价分别为203万元、202万元和182万元,楼面地价分别为1218元/㎡、1212元/㎡和1092元/㎡,均被平顶山市国有企业竞得。

A2号地块成交信息

A2号A8-1号地块规划图

A2号地块宗地图

A2号地块现状图
平ZH(2018)020号A2地块:位于黄河路与凤凰路交叉口西北角,出让面积为31403.02平方米(47.1亩),土地用途为住宅兼容商用,商业建筑面积占地上总建筑面积的比例不大于10%,规划容积率不大于2.5,规划建筑密度不大于30%,绿地率不低于35%,建筑限高不大于100米,土地使用权出让年期为住宅70年、商业40年。挂牌起始价为200万元/亩。
A2地块以203万元/亩成交,楼面地价为1218元/㎡,被平顶山市瀚城建设有限公司竞得。该公司为国企平顶山市城市建设投资运营集团有限公司的子公司。

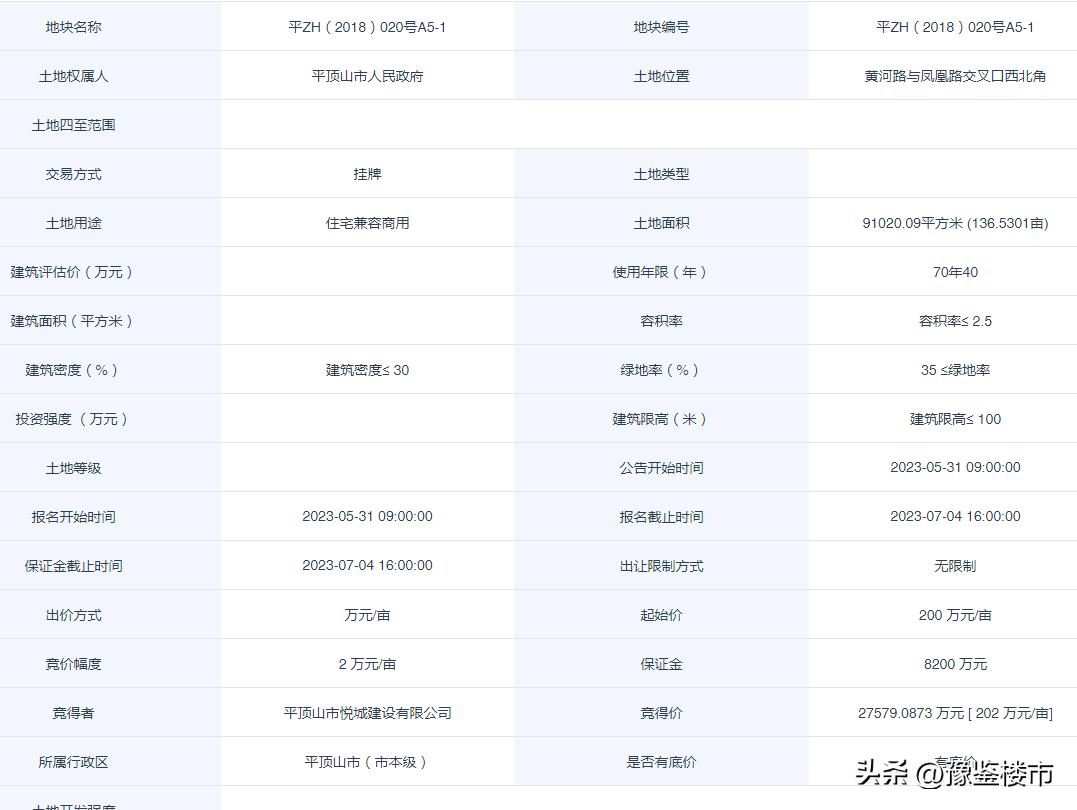
A5-1号地块成交信息

A5-1号地块宗地图

A2号A5-1号地块在地图上的大致位置

A5-1号地块现状图
平ZH(2018)020号A5-1号地块:位于黄河路与凤凰路交叉口西北角,出让面积为91020.09平方米(136.53亩),土地用途为住宅兼容商用,商业建筑面积占地上总建筑面积的比例不大于10%,规划容积率不大于2.5,规划建筑密度不大于30%,绿地率不低于35%,建筑限高不大于100米,土地使用权出让年期为住宅70年、商业40年。挂牌起始价为200万元/亩。
A5-1地块以202万元/亩成交,楼面地价为1212元/㎡,被平顶山市悦城建设有限公司竞得。该公司为国企平顶山市城市建设投资运营集团有限公司的子公司。
从地图上看,A2号地块和A5-1号地块相邻,周边有平顶山市第三人民医院、平顶山市第一高级中学新校区、平顶山市第一高级中学附属初中、凤凰山小区等。

A-02号地块成交信息

A-02号地块规划图

A-02号地块宗地图

A-02号地块在地图上的大致位置

A-02号地块现状图
A-02号地块:位于黄河路与创业大道交叉口西南角,出让面积为55790.85平方米(83.69亩),土地用途为住宅兼容商用,商业建筑面积占地上总建筑面积的比例不大于10%,规划容积率不大于2.5,规划建筑密度不大于25%,绿地率不低于35%,建筑限高不大于80米,土地使用权出让年期为住宅70年、商业40年。挂牌起始价为180万元/亩。
A-02号地块以182万元/亩成交,楼面地价为1092元/㎡,被平顶山中房建设集团有限公司竞得。
从地图上看,A-02号地块周边有东奥水城小区、平顶山高新区第二小学等。