发明专利申请
(21)申请号201610855972.8
(22)申请日 2016.09.27
(43)申请公布日2018.04.06
(71)申请人上海星翌国际贸易有限公司
地址 200233上海市浦东新区耀华路215号 2幢6108室
(72)发明人吴申星
(74)专利代理机构 上海宣宜专利代理事务所
(普通合伙)31288
F21Y115/10(2016.01)
代理人刘君
(51)Int.Cl.
F21L4/08(2006.01) F21V23/00(2015.01) F21V33/00(2006.01) H02J7/00(2006.01) H05B33/08(2006.01)
(54)发明名称
一种具有太阳能充电功能的手电筒充电宝

(57)摘要
本发明公开了一种具有太阳能充电功能的手电筒充电宝,包括透镜、灯板、下壳体、驱动控制部分、锂离子电池、开关板、微型开关、开关帽、内齿轮、导电线路板、弹性挡圈、上壳体、太阳能板、弹性导电片、充电指示灯、USB、Micro-USB、装饰盖和外壳体;所述上壳体与下壳体固定连接,上壳体与外壳体旋转连接,外壳体和上壳体上均安装有太阳能板。该具有太阳能充电功能的手电筒充电宝设计合理,将太阳能、充电宝和手电筒三者相结合在一起,具有照明、太阳能充电、充电宝三种功能,能够满足人们的使用需要;而且外形美观,使用方法简单;另外,该具有太阳能充电功能的手电筒充电宝还具有节能、环保、亮度高、携带方便的优点。
CN 107883224 A
权 利 要 求 书 1/1页
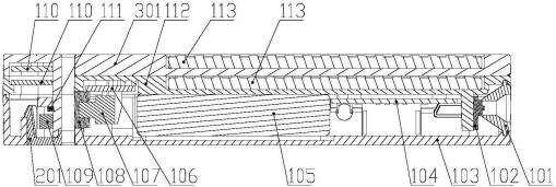
1.一种具有太阳能充电功能的手电筒充电宝,其特征在于,包括透镜(101)、灯板 (102)、下壳体(103)、驱动控制部分(104)、锂离子电池(105)、开关板(106)、微型开关(107)、开关帽(108)、内齿轮(109)、导电线路板(110)、弹性挡圈(111)、上壳体(112)、太阳能板(113)、弹性导电片(114)、充电指示灯(115)、USB(116)、Micro-USB(117)、装饰盖(201)和外壳体(301);所述上壳体(112)与下壳体(103)固定连接,上壳体(112)与外壳体(301)旋 转连接,外壳体(301)和上壳体(112)上均安装有太阳能板(113);所述上壳体(112)与下壳 体(103)内部安装有两个透镜(101)、灯板(102)、驱动控制部分(104)、锂离子电池(105)、开关板(106)、微型开关(107)、开关帽(108)、内齿轮(109)、导电线路板(110)、充电指示灯 (115)、USB(116)和Micro-USB(117),上壳体(112)与下壳体(103)的连接处设置有配合透镜 (101)穿过的第一通孔,透镜(101)一端连接至灯板(102),灯板(102)上连接有至少一个LED 灯珠,灯板(102)另一端连接至驱动控制部分(104),驱动控制部分(104)上连接有充电指示 灯(115)、USB(116)和Micro-USB(117),所述上壳体(112)与下壳体(103)的连接处设置有配 合充电指示灯(115)穿过的第二通孔,上壳体(112)与下壳体(103)的连接处设置有配合USB (116)穿过的第三通孔,上壳体(112)与下壳体(103)的连接处设置有配合Micro-USB(117)穿过的第四通孔,所述驱动控制部分(104)一侧设置有锂离子电池(105),锂离子电池(105)的一侧设置有开关板(106),开关板(106)上安装有微型开关(107),微型开关(107)上安装有开关帽(108),所述上壳体(112)与下壳体(103)的连接处设置有配合开关帽(108)穿过的 第五通孔,上壳体(112)的柱形结构处安装有内齿轮(109)、弹性导电片(114)和导电线路板(110),内齿轮(109)安装在上壳体(112)的柱形结构的中部,弹性导电片(114)安装在内齿轮(109)的一侧;所述外壳体(301)的柱形结构处也安装有导电线路板(110);所述下壳体(103)的柱形结构处连接有装饰盖(201)。
2.根据权利要求1所述的具有太阳能充电功能的手电筒充电宝,其特征在于,所述上壳 体(112)与下壳体(103)的内部还设置有弹性挡圈(111),弹性挡圈(111)设置在内齿轮(109)与上壳体(112)之间。
3.根据权利要求1所述的具有太阳能充电功能的手电筒充电宝,其特征在于,所述下壳 体(103)与装饰盖(201)通过卡扣式连接。
4.根据权利要求1所述的具有太阳能充电功能的手电筒充电宝,其特征在于,所述锂离 子电池(105)的形状为矩形。
5.根据权利要求1所述的具有太阳能充电功能的手电筒充电宝,其特征在于,所述灯板 (102)上连接有两个LED灯珠。
6.根据权利要求1所述的具有太阳能充电功能的手电筒充电宝,其特征在于,所述LED 灯珠采用CREE XPGR5型灯珠。
7.根据权利要求1所述的具有太阳能充电功能的手电筒充电宝,其特征在于,所述太阳 能板(113)吸收太阳光的能量通过弹性导电片(114)、导电线路板(110)传送给驱动控制部分(104),驱动控制部分(104)对锂离子电池(105)进行充电。
8.根据权利要求1所述的具有太阳能充电功能的手电筒充电宝,其特征在于,所述内齿 轮(109)上每隔22.5度设置有一个定位点。

一种具有太阳能充电功能的手电筒充电宝
技术领域
[0001] 本发明涉及一种充电宝,具体是一种具有太阳能充电功能的手电筒充电宝。
背景技术
[0002] 手电筒可以分为充电手电筒、普通手电筒、LED手电筒、防爆电筒、无电源手电筒、太阳能手电筒、头灯等类型,其中,普通手电筒是人们日常生活中必备的一件照明工具。太阳能是指太阳的热辐射能,主要表现就是常说的太阳光线,在现代一般用作发电或者为热水器提供能源,在化石燃料日趋减少的情况下,太阳能已成为人类使用能源的重要组成部 分,并不断得到发展。移动电源也叫充电宝、旅行充电器等,是一种集供电和充电功能于一体的便携式充电器,可以给手机、平板电脑等数码设备随时随地充电,一般由锂电芯作为储电单元,使用方便快捷。市场上出现了将手电筒与太阳能相结合的产品、太阳能与充电宝相结合的产品、充电宝与手电筒相结合的产品,但是没有将太阳能、充电宝和手电筒三者相结 合的产品,不能满足人们的需要。
发明内容
[0003] 本发明的目的在于提供一种具有太阳能充电功能的手电筒充电宝,以解决上述背景技术中提出的问题。
[0004] 为实现上述目的,本发明提供如下技术方案:
[0005]一种具有太阳能充电功能的手电筒充电宝,包括透镜、灯板、下壳体、驱动控制部 分、锂离子电池、开关板、微型开关、开关帽、内齿轮、导电线路板、弹性挡圈、上壳体、太阳能板、弹性导电片、充电指示灯、USB、Micro-USB、装饰盖和外壳体;所述上壳体与下壳体固定 连接,上壳体与外壳体旋转连接,外壳体和上壳体上均安装有太阳能板;所述上壳体与下壳体内部安装有两个透镜、灯板、驱动控制部分、锂离子电池、开关板、微型开关、开关帽、内齿 轮、导电线路板、充电指示灯、USB和Micro-USB,上壳体与下壳体的连接处设置有配合透镜穿过的第一通孔,透镜一端连接至灯板,灯板上连接有至少一个LED灯珠,灯板另一端连接 至驱动控制部分,驱动控制部分上连接有充电指示灯、USB和Micro-USB,所述上壳体与下壳体的连接处设置有配合充电指示灯穿过的第二通孔,上壳体与下壳体的连接处设置有配合 USB穿过的第三通孔,上壳体与下壳体的连接处设置有配合Micro-USB穿过的第四通孔,所 述驱动控制部分一侧设置有锂离子电池,锂离子电池的一侧设置有开关板,开关板上安装 有微型开关,微型开关上安装有开关帽,所述上壳体与下壳体的连接处设置有配合开关帽 穿过的第五通孔,上壳体的柱形结构处安装有内齿轮、弹性导电片和导电线路板,内齿轮安 装在上壳体的柱形结构的中部,弹性导电片安装在内齿轮的一侧;所述外壳体的柱形结构 处也安装有导电线路板;所述下壳体的柱形结构处连接有装饰盖。
[0006] 作为本发明进一步的方案:所述上壳体与下壳体的内部还设置有弹性挡圈,弹性 挡圈设置在内齿轮与上壳体之间。
[0007] 作为本发明再进一步的方案:所述下壳体与装饰盖通过卡扣式连接。
[0008] 作为本发明再进一步的方案:所述锂离子电池的形状为矩形。
[0009] 作为本发明再进一步的方案:所述灯板上连接有两个LED灯珠。
[0010] 作为本发明再进一步的方案:所述LED灯珠采用CREE XPGR5型灯珠。
[0011] 作为本发明再进一步的方案:所述太阳能板吸收太阳光的能量通过弹性导电片、导电线路板传送给驱动控制部分,驱动控制部分对锂离子电池进行充电。
[0012] 作为本发明再进一步的方案:所述内齿轮上每隔22.5度设置有一个定位点。
[0013] 与现有技术相比,本发明的有益效果是:
[0014] 该具有太阳能充电功能的手电筒充电宝设计合理,将太阳能、充电宝和手电筒三 者相结合在一起,具有照明、太阳能充电、充电宝三种功能,能够满足人们的使用需要;而且 外形美观,使用方法简单;另外,该具有太阳能充电功能的手电筒充电宝还具有节能、环保、亮度高、携带方便的优点。
附图说明
[0015] 图1为具有太阳能充电功能的手电筒充电宝的主视图。
[0016] 图2为具有太阳能充电功能的手电筒充电宝的后视图。
[0017] 图3为具有太阳能充电功能的手电筒充电宝的内部结构示意图。
[0018] 图4为具有太阳能充电功能的手电筒充电宝的剖视图。
[0019] 图5为具有太阳能充电功能的手电筒充电宝的展开结构示意图。
[0020] 图6为具有太阳能充电功能的手电筒充电宝的仰视图。
[0021] 图7为具有太阳能充电功能的手电筒充电宝右视图。
[0022] 其中:101-透镜;102-灯板;103-下壳体;104-驱动控制部分;105-锂离子电池; 106-开关板;107-微型开关;108-开关帽;109-内齿轮;110-导电线路板;111-弹性挡圈;
112-上壳体;113-太阳能板;114-弹性导电片;115-充电指示灯;116-USB;117-Micro-USB;
201-装饰盖;301-外壳体。
具体实施方式
[0023] 下面结合具体实施方式对本专利的技术方案作进一步详细地说明。
[0024] 请参阅图1-7,一种具有太阳能充电功能的手电筒充电宝,包括透镜101、灯板102、下壳体103、驱动控制部分104、锂离子电池105、开关板106、微型开关107、开关帽108、内齿轮109、导电线路板110、弹性挡圈111、上壳体112、太阳能板113、弹性导电片114、充电指示灯115、USB116、Micro-USB117、装饰盖201和外壳体301;所述上壳体112与下壳体103固定连接,上壳体112与外壳体301旋转连接,外壳体301和上壳体112上均安装有太阳能板113,两块太阳能板113可以相互任意角度的转动,而且当两块太阳能板113展开一定的角度时,外形看起来很酷,可以由一块太阳能板113进行给锂离子电池105充电,也可以由两块太阳能 板113给锂离子电池105充电,这两种方式可根据实际情况由使用者进行选择;所述上壳体112与下壳体103内部安装有两个透镜101、灯板102、驱动控制部分104、锂离子电池105、开关板106、微型开关107、开关帽108、内齿轮109、导电线路板110、充电指示灯115、USB116和Micro-USB117,上壳体112与下壳体103的连接处设置有配合透镜101穿过的第一通孔,透镜 101一端连接至灯板102,灯板102上连接有至少一个LED灯珠,灯板102另一端连接至驱动控
制部分104,驱动控制部分104上连接有充电指示灯115、USB116和Micro-USB117,具有两个 USB接口,即USB116和Micro-USB117,USB116是输入端口,可以把外部5V电源接入本产品,进而给可充电方块锂电池105充电,Micro-USB117是输出端口,可以对外部需要5V充电的产品 进行充电,所述上壳体112与下壳体103的连接处设置有配合充电指示灯115穿过的第二通孔,上壳体112与下壳体103的连接处设置有配合USB116穿过的第三通孔,上壳体112与下壳体103的连接处设置有配合Micro-USB117穿过的第四通孔,所述驱动控制部分104一侧设置有锂离子电池105,锂离子电池105的一侧设置有开关板106,开关板106上安装有微型开关107,微型开关107上安装有开关帽108,所述上壳体112与下壳体103的连接处设置有配合开关帽108穿过的第五通孔,上壳体112的柱形结构处安装有内齿轮109、弹性导电片114和导电线路板110,内齿轮109安装在上壳体112的柱形结构的中部,弹性导电片114安装在内齿轮109的一侧;所述外壳体301的柱形结构处也安装有导电线路板110;所述下壳体103的柱形结构处连接有装饰盖201。作为优选,所述上壳体112与下壳体103的内部还设置有弹性挡圈111,弹性挡圈111设置在内齿轮109与上壳体112之间;作为优选,所述下壳体103与装饰 盖201通过卡扣式连接;作为优选,所述锂离子电池105的形状为矩形;作为优选,所述灯板102上连接有两个LED灯珠;作为优选,所述LED灯珠采用CREEXPGR5型灯珠,可以提供
300lm的亮度高度照明;作为优选,所述太阳能板113吸收太阳光的能量通过弹性导电片
114、导电线路板110传送给驱动控制部分104,驱动控制部分104对锂离子电池105进行充 电;作为优选,所述内齿轮109上每隔22.5度设置有一个定位点,这样整个圆周有16个可定位的位置,方便了使用者的使用。
[0025] 本发明的工作原理是:两块太阳能板113可以相互任意角度的转动,而且当两块太阳能板113展开一定的角度时,外形看起来很酷,可以由一块太阳能板113进行给锂离子电 池105充电,也可以由两块太阳能板113给锂离子电池105充电,这两种方式可根据实际情况 由使用者进行选择;具有两个USB接口,即USB116和Micro-USB117,USB116是输入端口,可以把外部5V电源接入本产品,进而给可充电方块锂电池105充电,Micro-USB117是输出端口, 可以对外部需要5V充电的产品进行充电;两块太阳能板113可以相互任意角度的转动,且每隔22.5度有一个定位点,这样整个圆周有16个可定位的位置,方便了使用者的使用,而且当 两块太阳能板113展开一定的角度时,外形看起来很酷。
[0026] 该具有太阳能充电功能的手电筒充电宝设计合理,将太阳能、充电宝和手电筒三 者相结合在一起,具有照明、太阳能充电、充电宝三种功能,能够满足人们的使用需要;而且 外形美观,使用方法简单;另外,该具有太阳能充电功能的手电筒充电宝还具有节能、环保、亮度高、携带方便的优点。
[0027]上面对本专利的较佳实施方式作了详细说明,但是本专利并不限于上述实施方 式,在本领域的普通技术人员所具备的知识范围内,还可以在不脱离本专利宗旨的前提下 做出各种变化。

图1

图2

图3

图4

图5

图6

图7