1.产品的特点及用途
ZFP500A ZFP1000A ZFP2000A ZFP3000A型干粉灭火装置是以氮气为动力,向干粉罐内提供压力,推动干粉灭火剂,通过管路输送倒干粉炮或干粉枪,以扑救固体、油类、气体和电气火灾的目的。
该装置适用于危险品库房、液化气设备、大型淬油槽、加油站、室内外大型变压器、输油管、天然气井、油罐列车、石油化工等易燃防爆场所。
(制造商:深圳市共安消防设备有限公司)

2.工作原理
灭火装置内充装的是干粉灭火剂。干粉灭火剂是用于灭火的干燥且易于流动的微细粉末, 由具有灭火效能的无机盐和少量的添加剂经干燥、粉碎、混合而成微细固体粉末组成。它是一种在消防中得到广泛应用的灭火剂, 且主要用于灭火器中。除扑救金属火灾的专用干粉化学灭火剂外 , 干粉灭火剂一般分为 BC 干粉灭火剂 和 ABC 干粉两大类。干粉灭火剂主要通过在加压气体作用下喷出的粉雾与火焰接触、混合时发生的物理、化学作用灭火。另外 , 还有部分稀释氧气和冷却的作用。
当有火情发生时,打开氮气瓶瓶头阀,经过减压阀进行减压,然后向干粉罐提供压力,推动干粉灭火剂,通过管路输送到干粉炮或干粉枪进行灭火。
3.性能参数

4.产品结构图
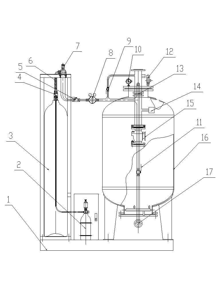
4.1 图一:500kg手动干粉装置图

1.撬块 2.启气瓶 3.驱动瓶 4.瓶头阀 5.高压球阀(常开) 6.高压软管 7.泄压阀 8. 减压阀 9.吹扫阀 10. 压力表 11.进气球阀(常开) 12.安全阀 13.*破爆**片 14.压力开关(信号反馈) 15.手动球阀(常开) 16.干粉罐 17.进气管路
6.安装要求
6.1 系统的安装、调试应由专门从事干粉灭火系统安装的消防工程公司按照国家标准进行。安装调试人员必须掌握本系统及部件的基本结构、工作原理、性能特点和应用要求。
6.2 设备安装在靠近保护对象的地点,保护对象应在设备的有效喷射范围内。如果保护对象是可燃液体或气体储罐,设备应安装在罐区的防火堤之外。
6.3 设备要安装于干燥、有遮蔽的地方,可安装于专用房间内也可安装于厂房内,但应避免潮湿、高温。
6.4 设备安装地点应便于操作,不应与其他操作区设在一起,若设在经常有人通过的地方应加防护装置。
6.5 干粉灭火系统撬块安装在同一水平面水泥基础上,浇注水泥基础时预留地脚螺栓孔,待设备固定后紧固螺母即可。
6.6 当干粉炮与干粉罐分开安装时,干粉供给管道的总长度不宜大于20m,炮塔上安装的干粉炮与低位安装的干粉罐的高度差不应大于10m,干粉管路通径为DN65。
7.使用
7.1 当有火灾发生时,通知人员关闭设备并撤离现场,干粉灭火设备操作人员应戴好安全帽、口罩等防护措施。
7.2 ZFP500干粉灭火系统操作方法
7.2.1 自动启动方法:在控制盘上将手/自动切换开关置于自动位置,现场控制盘上自动指示灯亮,控制盘接受到中控火灾信号,自动打开启动瓶上的电磁阀,驱动气打开驱动氮气瓶上的瓶头阀,给干粉罐充气,使主干粉罐压力到达指定值后,*破爆**片自动*破爆**,自动喷放灭火剂。压力开关检测到压力后,释放反馈信号反馈信号送至中控系统。在无人值守的情况下自动将火扑灭。如果需要现场手动灭火,请将手/自动选择开关置于手动位置,以手动启动方式灭火。
操作人员依次打开启动箱、拔出启动瓶瓶头阀插销、按下启动瓶瓶头阀启动装置。氮气经过减压器,向干粉罐内充气。当干粉罐上压力表显示1.4MPa时,*破爆**片自动*破爆**,喷射干粉进行灭火。当干粉罐压力低于0.3MPa时,关闭高压阀。以备干粉炮吹扫残余干粉。
7.2.2 机械应急启动方法:操作人员依次拔出驱动瓶瓶头阀插销、机械应急手柄插销,往下扳动机械应急手柄,驱动瓶瓶头阀被刺破。驱动瓶头阀被打开,氮气经过减压器,向干粉罐内充气。当干粉罐上压力表显示1.4MPa时,*破爆**片自动*破爆**,喷射干粉进行灭火。当干粉罐压力低于0.3MPa时,关闭高压阀。以备干粉炮吹扫残余干粉。
8 装粉filling
8.1 首先检查干粉罐底部放余粉法兰螺栓是否紧定,橡胶密封圈是否完好,放置是否正确。如有上述现象应先更换橡胶密封圈或放置正确,并均匀地拧紧螺栓。
8.2 打开干粉罐上处的加粉口盖,检查罐内有无积水、杂物和潮湿结块的剩余干粉,若有应及时清除。装粉时严禁将结块的干粉和杂物装入罐内,以免堵塞管道造成事故,并尽量避免在高温、潮湿气候下装粉。
8.3 安装加粉口盖时必须将罐口、密封圈擦拭干净,不得有干粉或其它杂物,以免密封面漏气。
9.维护和保养
9.1 设备安装地点设有详细操作说明,操作人员必须严格遵守操作规程,对各个部件及连接处每年检查一次,确保处于良好工作状态。
9.2 要定期检查气瓶压力是否在规定范围内,低于规定值时应立即更换或修复,并填充压力至规定值。
9.3 检查设备的阀门、减压器、压力表等部件是否都处于正常工作状态。
9.4 干粉罐和储气罐属压力容器其维护保养按《钢制压力容器安全技术监察规程》执行。
9.5 干粉罐的安全阀是安全装置,每年必须进行一次检查,安全阀的开启压力为1.6MPa。
9.6 干粉炮应经常检查已保转动灵活,油嘴里的润滑脂应加满。
9.7 干粉灭火剂应每年开罐常规检查,看有无受潮结块现象,若有则应立即更换灭火剂。每隔2~3年开罐取样检查,把样品送往专业单位检测,如不符合性能标准要求的应立即更换灭火剂。
9.8 每次灭火后应彻底将管道中残留余粉吹扫干净,对出粉阀、干粉炮、干粉枪进行擦拭清理,减压器重新调试,按照要求重新填充干粉灭火剂,氮气瓶重新填充氮气。对一次性使用膜片进行更换。

深圳市共安消防设备有限公司是生产自动消防水炮-自动跟踪定位射流灭火装置-大空间智能灭火系统-图像型火灾探测器-高压细水雾灭火系统-泡沫灭火系统-七氟丙烷气体灭火系统装置-ZFP系列干粉灭火系统设备-悬挂式超细干粉灭火装置-机电管道抗震支架-消防给水阀门-物联网消防给水机组等一系列消防产品。