夺回商标权后首度开唱,苏打绿宣布正式回归
终于回来了!苏打绿历经2年多商标大战去年十月夺回团名,2月18日,苏打绿aka鱼丁糸《池堂影夜》台北小巨蛋上正式官宣回归。
“全宇宙的朋友们大家好,我們是蘇打綠!”
即使面对再多艰难,他们也依然坚持向前。 恭喜苏打绿,他们终于拿回本就属于他们的东西。春日将近,希望接下来都是好消息,新专辑,演唱会全都搞起来!

谁的青春记忆里,还没有几首苏打绿的歌呢,《小情歌》《歌颂者》《我好想你》《当我们一起走过》《下雨的夜晚》《无与伦比的美丽》…
不少网友表示:
“苏打绿也好,鱼丁糸也罢,永远都是你们”、“鱼丁糸苏打绿都是他们,没有改名,鱼丁糸是他们的小号分身”、“仿佛青春又回来了,苏打绿加油鸭”等等。

曾风靡华语乐坛10余年
苏打绿是中国台湾地区知名乐团,2004年正式出道,在80、90后年轻群体中具有广泛号召力。自2006年到2015年间,出道10余年的苏打绿创作力不减,推出了许多极具传唱度的歌曲,风格清新温暖,特色显著,粉丝数量众多,几年间狂揽大奖无数。

苏打绿的不少歌曲相信大家耳熟能详。
2018年,苏打绿和前经纪人林暐哲决裂。据悉2018年底,在律师的见证下,双方签署合约终止协议。而吴青峰却因唱了自己写的歌,在2019年被昔日恩师林暐哲以违反《著作权法》告上法庭。
系列纠纷导致“苏打绿”这个团名无法继续使用。2020年7月3日,苏打绿发布微博宣布乐团改名叫“魚丁糸”,魚丁糸作为苏打绿的分身正式官宣。
据了解,新团名是“苏打绿”的拆解,是从繁体蘇打綠中各取一部分组成:蘇的魚,打的丁,綠的糸。除此之外,团员也取了新的艺名:阿福改名可田,家凯改名豕豆,小威改名八女,阿龚改名金八,馨仪改名香我,青峰改名日出。
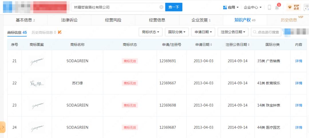
“苏打绿”团体更名“魚丁糸”并要求林暐哲将苏打绿的商标权归还相关纠纷一直持续。
双方商标官司纠缠已久
据了解,自决裂以来,吴青峰等人始终坚持状告林暐哲音乐社公司占有“苏打绿Sodagreen”注册商标,要求返还“苏打绿”商标。但经过2次法院审理,都判决吴青峰等人败诉,商标权仍归林暐哲。

2021年5月该官司二度开庭时,林暐哲曾控诉吴青峰“设局”陷害,吴青峰则坦言,2017年休团时,大家明面上都以“吴青峰要休假”为理由宣传,实际则为林暐哲逼迫。

面对二审仍然败诉的结局,吴青峰和团员们曾表示:“判决越偏颇,我们取回团名的信念就越坚定。商标法不能继续忽视艺人与创作者权益,我们将上诉到底,拿回我们的团名‘苏打绿’。”
谁也没有料到,距离才传出败诉的消息未过多久,本次商标争夺战以前经纪人林暐哲宣布放弃商标权迎来转机。
林暐哲表示:“我知道该做一个决定,放下过去,不管好的坏的都一样。所以决定放弃商标的所有权。并祝福这个名字有更好的未来。”
这场纠纷,终于宣告落幕。同年10月1日,据公告显示,“苏打绿”名字商标权自2022年10月1日起由苏打绿有限公司取得,期限为10年,6名成员确定取回本来的团名。
为什么要抓住“苏打绿”商标不放?
“苏打绿”作为一个商标,除了它的名气外,往往还有预估不了的价值所在!
1、商标是标志
一个企业或是团体的文化可以同商标表现出来,商标代表的形象会跟随着一辈子,加强商标的保护可以让企业的信誉和形象得到全面保护。
2、商标让企业能有效地运用社交媒体
当听众想听苏打绿歌曲的时候,肯定第一时间会搜索“苏打绿”这个名词。消费者有购买需求,并欲透过搜索引擎或社交平台进行查询时,毫无疑问的,商标/品牌将是首要印象。而较高的被搜索率不仅将对搜索引擎或社交平台的排名有所助益,更将增长品牌价值。
3、商标是有价的资产
每个著名品牌的确立,商标都同时成了一个升值的商品。当你的公司成为大公司的时候,你的商标同时也是升值的。苏打绿的成名让不少歌迷去“买单”。这是商标的预期价值。
文章来源: 细软知识产权综合新浪微博、网易新闻、成都商报、封面新闻、政研室等
【温馨提示】版权归属原作者,若有不妥,请联系告知修改或删除,谢谢。
“全球最大蛋糕店”要倒闭了?!耗资1亿元,如今停产停业……
豪掷1个亿,靠无数明星背书,拥有世界最大空间的烘焙品牌“昂司蛋糕”没有熬过这个冬天,又一巨头黯然离场。
如果用一句话总结昂司的落败,那一定是“理想很丰满,现实很骨感”。
日前,有深圳网友爆料称,昂司蛋糕深圳水围趣坊店自春节放假后就再也没有开业,小程序进不去,也联系不上负责人,因充值的余额未退,他已拨打12315电话维权。
据该网友提供的门店春节放假通知显示,昂司(深圳)食品有限公司放假时间为2023年1月8日到2023年2月5日,截至目前,该门店并未营业,其官方电话也无法接通。

耗资一亿打造网红门店最贵蛋糕造价1314万
据21世纪经济报道,创立于2019年的昂司蛋糕以“设计师蛋糕”出圈,不同于常规款的庆生蛋糕,昂司的蛋糕更突出颜值。明星代表作里,除了有流量明星的联名款蛋糕,还有拥有渐变色仿真花瓣的玫瑰三重奏等,不少大作是由甜点世界冠军及法国MOF奖大师团队打造。

开业初期,昂司蛋糕还大手笔邀约明星宣传,比如易烊千玺、陈学冬、邓紫棋。
巅峰时期,昂司蛋糕在深圳有近30家门店。而当中知名度最高的,莫过于南山海岸城商圈开出的超大型复合烘焙门店“昂司蛋糕奇幻空间”。近6000平米的蛋糕主题空间,有蛋糕、咖啡、茶饮、鲜花、零售等众多业态,门店里以莫比乌斯环为原型的楼梯,也是网红们的常驻打卡地。昂司对外声称耗资一个亿打造。

据悉,“昂司蛋糕奇幻空间”上下两层的月租金就约为260万元;店内摆放的镇店之宝巨型城堡蛋糕造价1314万元。就产品而言,早期宣传中整个店内有超过390款不同的产品,包括各式的茶点、甜品和蛋糕,其中甜品的价格区间在38-65元,蛋糕的价格区间为100-1999元,而它的整体客单价在63元左右。

昂司蛋糕门店摆放的1314万元艺术蛋糕
据华夏时报,2月18日,记者来到昂司蛋糕最大的门店“昂司蛋糕奇幻空间”看到,现场大门紧闭,玻璃橱窗被白色布帘遮得严严实实,看不清内部情况。
“大约去年年中吧,之后就没再开过门了,说是要升级,今年也没见开业,已经倒闭了。租金很高的,少见蛋糕店开这么大,当初也觉得是噱头,关门不奇怪。”附近一名商户对记者说道。
“还是觉得很可惜,以往过生日都在他家订蛋糕,造型好看,味道也不赖。”曾是昂司蛋糕忠实客户的小陈表示。
公司全面停产停业努力自救
2月16日晚间,昂司蛋糕在官方微博上发布公告,称受疫情影响企业经营不善,品牌门店无法在春节后如期开业。“公司自2023年2月10日起全面停产停业,努力自救,一是寻找新的投资商,二是开展重组或清算。”
公告称,停业停产期间,昂司会员预付卡余额退费可统一联系登记,核实后按进度分批退费。


昂司蛋糕对于会员预付卡余额退费一事给出了解决方案,但官微下的消费者们却并不买账,表示“电话打不通,小程序无法登陆。”

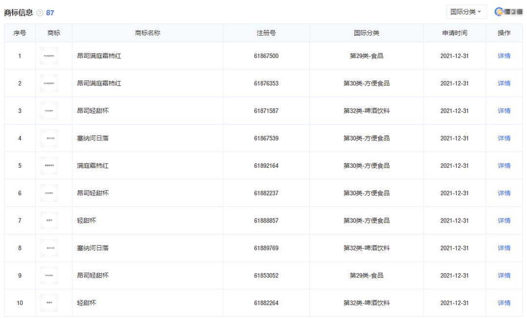
公告落款为“振帮(深圳)信息科技有限公司”。该公司已经成为被执行人,涉司法风险26条,法律诉讼55条,其中近90%是被告身份。


振帮(深圳)信息科技有限公司共有99条知识产权信息。其中商标信息87条,专利信息2条,版权信息8条。



蛋糕也能申请外观设计专利吗?
食物的外观是可以申请外观设计专利的,若是具备独特的制作工艺,甚至是可以申请发明专利,蛋糕也不例外。
我们拿振帮(深圳)信息科技有限公司的专利信息来说,这2条信息全部是外观设计专利,其中一条就与蛋糕的外观设计相关。

这款玫瑰女神蛋糕的外观确实很漂亮。它的设计要点在于形状及形状与色彩的组合,特别是玫瑰花形+花心点缀草莓的组合设计。目前这款蛋糕的外观设计专利状态是授权。可见,蛋糕的外观是可以申请外观专利的。
外观设计专利有什么用?
1、外观设计专利可以让产品、技术的无形价值得到应有的保障。对抗市场竞争中的侵权,专利申请无疑是最好的法宝。
2、外观设计专利使品牌升值。产品在市场中销售时,企业家们可以自豪地说,我们的产品是申请了专利的。这样的介绍是比大量的广告传单投入更加有力度,自然达到宣传的效果。
3、专利的质量与数量是企业创新能力和核心竞争能力的体现,是企业在该行业身份及地位的象征。
4、外观设计专利可以合法垄断,禁止别人生产跟你一样的产品销售。如果反被别人先申请外观,别人禁止你生产销售,那便造成了企业的悲剧,成就了他人的利益。
5、外观设计专利可以获得消费者认同。企业的新产品外形如果及时申报专利那么其外观设计就享有独占权。
6、外观设计专利是申报高新技术企业的必要条件。
如果您开了一家蛋糕店或者烘焙店,当您为蛋糕或者其他烘焙食品设计独特外观时,千万别忘记进行外观设计专利保护哦~
文章来源: 细软知识产权综合21世纪经济报道、红星新闻、IP创新赢、南方都市报、华夏时报
【温馨提示】版权归属原作者,若有不妥,请联系告知修改或删除,谢谢。
“李鬼”品牌惊现益生菌市场 保护商标权利与尊严势在必行
随着社会经济的发展,市场经营中各行各业的商标品牌战略不断兴起,消费者也越来越重视购买商品的品牌。在此背景下,有些企业在激烈的市场竞争中不走“正道”,选择通过仿冒其它企业商标,牟取不法利益。2022年8月,一起媒体广泛报道的商标侵权案揭开了益生菌行业市场潜藏的乱象。
作为全球最早期推广益生菌滴剂这种创新剂型的营养品牌之一,迪辅乐(dipro)在2015年进入中国市场,围绕迪辅乐益生菌产品开展相关临床研究和基础研究。通过多年的科研深耕和市场推广,迪辅乐品牌在业内取得不菲的知名度和消费者认可度。
但在媒体报道中,一家名为“重庆芈宝科技发展有限公司”(以下简称“重庆芈宝”)的企业在淘宝、拼多多平台上公然开设店铺,售卖“迪辅乐动物双歧杆菌Bb-12滴液饮品”“迪辅乐安必宝戊糖片球菌滴液饮品”等益生菌商品,上述商品在外观显著位置均标识有“迪辅乐”“dipro”商标。

图-迪辅乐旗下产品与重庆芈宝运营店铺“迪辅乐”所售产品对比图
据媒体报道,目前迪辅乐品牌运营主体公司——迪辅乐生物(上海)有限公司已经向法院提起诉讼,状告重庆芈宝、重庆佰立禾贸易、迪辅诺贸易、自然人丁绍成等多方侵犯自身商标权,索赔500万元。据悉,法院已受理此案,并将于2023年4月开庭审理。

图-庭审开庭信息
从公开信息可以看到,近年来迪辅乐生物一直在合法使用第32731382号第5类“迪辅乐”商标进行市场推广,核定注册的商品项包括“维生素制剂;鱼肝油;营养补充剂;婴儿奶粉;婴儿食品;医用营养品;消毒纸巾;非人用、非动物用除臭剂;补药;膳食纤维”。因此,迪辅乐生物(上海)有限公司是“迪辅乐”等商标的合法持有者无疑。
而重庆芈宝法人丁绍成自2019年5月开始在多个类别上申请注册了大量与“迪辅乐”、“dipro”商标相同或者近似的商标,以及与迪辅乐益生菌滴剂产品型号、名称相关的商标。重庆芈宝等三公司在益生菌滴剂产品上使用“迪辅乐”、“dipro”、“安必宝”商标,涉嫌未经商标注册人许可,在同一种或者类似商品上使用与其注册商标相同或者近似的商标、销售侵犯注册商标专用权的商品,违反《商标法》第五十七条第(一)、(三)项,显然已经构成了共同民事侵权。对此,北京市中闻律师事务所合伙人王维维律师认为,这是一起典型的益生菌行业侵犯商标权的案例。
据了解,国家知识产权局于2021年7月、9月、10月分别做出四份无效宣告请求裁定书,对丁绍成注册的第38140977号第32类“迪辅乐”商标、第38196577号第32类“dipro”商标、第41014812号第1类“迪辅乐”商标、第40135726号第29类“辅迪乐”商标予以无效宣告,主要理由为丁绍成的行为具有明显恶意,争议商标的注册构成了《商标法》第四十四条第一款所指的“以其他不正当手段取得注册”的情形。

图-国家知识产权局有关 “迪辅诺”商标不予注册的裁决书
更为恶劣的是,在上述商标无效宣告审查期间及被予以宣告无效后,丁绍成竟然同时持续申请了大量与“迪辅乐”、“dipro”相关,或者与迪辅乐益生菌滴剂产品型号、名称相关的商标,如第32类“迪辅乐dipro”、“dipro”、“didro”、“迪辅诺”、“didro迪德乐”、“dipro-ddjc”、“dipro8330”;第1类“dipro”等。

图-国家知识产权局商标局官网所示有关丁绍成申请注册与“迪辅乐”商标相关的商标
对于重庆芈宝这种“蹭名牌”的行为,王维维律师指出,重庆芈宝等三公司仿冒该品牌商品并以低于正品售价进行销售,所付出成本极低,通过对消费者形成误导,进而谋求从中攫取利润,使原告的经济利益和商业信誉蒙受重大损失,而侵权者却赚得盆满钵满。希望有关部门能做到“以案为鉴”,藉此典型案例,进一步细化假冒注册商标罪、非法制造销售非法制造的注册商标标识罪等的入罪及量刑标准,提高犯罪成本,善用刑法威慑力,保护注册商标应有的权利与尊严。
目前,迪辅乐与重庆芈宝等三公司的诉讼仍在进行中,最终的结果尚等待法律的评判。
文章来源: 南早网
【温馨提示】版权归属原作者,若有不妥,请联系告知修改或删除,谢谢。
苹果多次申请FaceID商标被驳回
这是一件比较常见的商标争议案件,苹果申请FaceID商标并不是一次性被驳回的,而是多次申请均未成功。具体原因是因为该商标已经被其他公司申请或者注册,或者与其他已经注册商标太过相似。这些因素都可能导致苹果的商标申请被驳回。
此外,商标申请和注册是一个复杂的过程,需要遵循各种法规和规定。一些其他的因素,例如申请人的资质、商标的设计和描述、申请的分类等等,也会影响商标的申请和注册过程。在这种情况下,苹果需要重新考虑商标的设计和策略,并可能需要进行法律上的争议解决。

需要注意的是,商标申请和注册是一项长期而复杂的过程。尽管苹果的FaceID商标申请被驳回多次,但是这并不一定意味着该商标永远不能被注册。苹果可以对商标进行修改或重新设计,并再次提交申请。同时,也可以通过与已注册商标持有者的协商或法律争议解决,获得商标的注册权。

值得一提的是,商标的争议解决过程是非常复杂和昂贵的。在商标争议解决过程中,涉及到许多法律程序、法规和规定。如果在商标争议解决过程中遇到困难或问题,可能需要雇佣专业律师或律师事务所进行代理。这会增加整个过程的成本和时间。
此外,商标的申请和注册也需要考虑到全球范围内的注册和保护。苹果作为全球知名的品牌,需要在全球范围内注册和保护商标,以保护自己的品牌形象和商业利益。这也会增加苹果在商标申请和注册上的成本和时间。
总之,商标申请和注册是一个复杂而漫长的过程,需要遵循各种法规和规定。在苹果多次申请。

商标被驳回的情况下,苹果需要重新考虑商标的设计和策略,并可能需要进行法律上的争议解决。同时,苹果需要在全球范围内注册和保护商标,以保护自己的品牌形象和商业利益。
文章来源: 二七小哥
【温馨提示】版权归属原作者,若有不妥,请联系告知修改或删除,谢谢。