在西宁这座城市生活、工作
难免会遇到一些“小困扰”
遇到问题时都想寻找各种帮助
而我们所熟知的
主要是110、119、120等号码
可这些还远远不够啊!

别着急
我们将为您送上西宁2019最新版便民通讯录
希望给你的生活带去更多便利!

黎晓刚 摄

医院预约、挂号
青海省人民医院
电话:0971-8177911、0971-8066114、0971-8066902
地址:西宁市城东区共和路2号
乘车路线:3 路、5 路、7 路、9 路、17路、20路、26路、27路、31路、35路
青海红十字医院
电话:0971-96120 8253008(投诉纠纷)
地址:西宁市南大街55号
乘车路线:103路 105路 17路 18路 24路 31路 39路 40路 49路 82路
青海省第二人民医院
电话:0971-6162000、0971-6111999、0971-6162999
地址:西宁市同仁路29号
乘车路线:2路、102路、7路、13路、30路、5路
青海省第五人民医院
电话:0971-6361749 0971-5120120(急诊)
地址:青海省西宁市城东区南山东路166号(南山路与湟中路交汇处)
乘车路线:43路 81路 71路 K1 K2
青海省中医院
电话:0971-8456222、0971-8458057
地址:西宁市城中区七一路338号
乘车路线:7、9、10、16、43、81、83、101、102、103、106
青海省第三人民医院
电话:0971-8140371、0971-8816500、0971-8816512、0971-8816508
地址:西宁市城东区果洛路41号
乘车路线:30路、39路、83路、86路
中国人民解放军第四陆军医院(西宁陆四医院)
电话:0971-8175226、0971-8068379
地址:西宁市城东区八一路67号
乘车路线:2路、101路、102路
青海省藏医院
电话:0971-8200897、0971-8170408
地址:西宁市南山东路97号
乘车路线:17路、18路、19路、21路、24路、31路、82、38
青海省心血管病专科医院
电话:0971-6255999、0971-6259626
地址:西宁市城西区砖厂路7号
乘车路线:33路、42路、7路、20路
青海省妇女儿童医院
电话:0971-8177608、0971-8166219、0971-8177607、0971-8179015
地址:青海省西宁市共和南路7号
乘车路线:21路、23路、31路、26路、81路
西宁市第一人民医院
电话:0971-7914222
地址:青海省西宁市城中区互助巷3号
乘车路线:102路 14路 39路 3路 49路 86路
停水停电、断气断网
国家电网热线:95598(24小时报修、查询举报)
西宁市燃气报警电话:0971-513117
24小时供水服务热线:96390
电信宽带客服电话:10000
联通宽带客服电话:10010
移动宽带客服电话:10086
长城宽带客服电话:95079
有线宽带服务电话:96296
各汽车站点热线

居住证、身份证等问题

孩子教育问题
西宁市教育局:
电话:0971-4393114
地址:西宁市城西区黄河路80号
市区幼儿园、小学政策咨询电话:
城东:8121550
城中:4919505
城西:4390861
城北:5507520
违规办学举报:4393011
安全隐患举报:4393019
教育资助政策咨询:4393028
师风师德投诉举报:4393007 4393017
初中升高中政策咨询:4393009
小学升初中政策咨询:4393055
教育乱收费投诉举报:4393023
社会教育考试政策咨询:4393048
中等职业技术学院招生政策咨询:4393011
教师招聘、资格认定政策咨询:439300
护照、签证
办理各种出入境、护照、通行证等问题。例如,外地人在西宁办理出国护照;护照变更、加注和赴港澳台地区的单独签注等等。
西宁市出入境接待大厅:0971-825175
投诉维权
各种维权投诉受理。在餐厅吃饭被坑;在小店买到假冒伪劣的东西;小商贩哄抬物价、乱收你的费;出去旅游买纪念品、吃饭被坑,或者强制你买;建筑施工刺耳的噪音、广场舞声音太大、酒吧太吵等等。

快递公司电话

银行卡、信用卡相关问题

道路交通
西宁市交警大队:0971 -6130506;
地址:青海省西宁市市辖区昆仑西路辅路
社会化移车:114
开车遇到问题,在高速上需要帮助:
交警总队:0971—8293700
高速公路支队:0971—8293729、0971—8293733
市交警:城东8225003、城西6146385、城北5500074、城中8225161
海东高速一队:0972—8633960
西宁高速二队:15202558055
湟源高速三队:0971—2432383
塔大高速四队:15202558022
互助高速五队:0971—8803110
平阿高速六队:0972—8616335
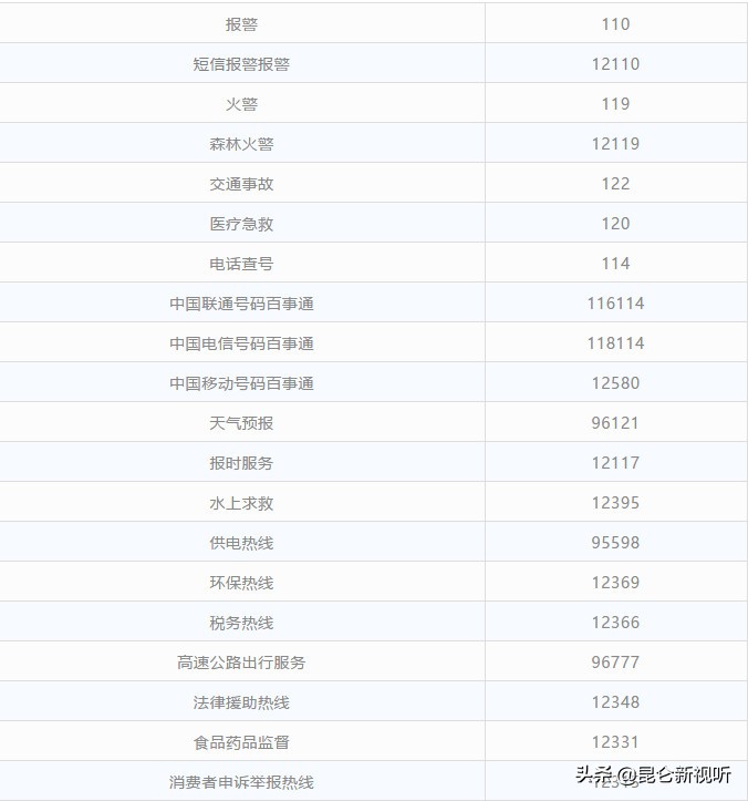
紧急求助

社保公积金
社保公积金咨询、“五险一金”、医疗、养老、生育、工伤、失业和住房公积金各方面问题解答。比如住房公积金提取、*款贷**;医保报销比例;生育保险领取条件、享受待遇;社保补缴、社保转移,以及劳动监察举报投诉、权益维护。
西宁市社保局咨询服务:96345
城镇居民医保:
西宁市社保局:6247356 、6164431
城东区社保局:8172692
城中区社保局:8231182
城西区社保局:6184816
城北区社保局:5133715
大通县社保局:2724019
湟中县社保局:2230466
湟源县社保局:7410705
新农合:
西宁市社保局:6184628
城东区社保局:8137633
城中区社保局:8227058
城西区社保局:6145610—8027
城北区社保局:5120217
大通县社保局:2734775
湟中县社保局:2230466
湟源县社保局:7411220
西宁市社保局咨询服务:
社保卡挂失电话:社保功能12333,金融功能95533
西宁市社保局地址:青海省西宁市城北区宁张路44号
西宁市社保局:6164401
城东区社保局:8171165
城中区社保局:8213136
城西区社保局:6153364
城北区社保局:5131441
大通县社保局:2721722—804
湟中县社保局:2232403
湟源县社保局:7411211
公积金:
市公积金咨询热线:5261111
省公积金咨询热线:6515471、6515472
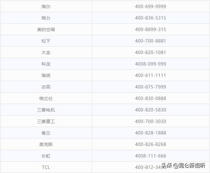
各大电器维修电话
家里空调、热水器坏了,却不知道找谁修?夏天,这份电话还是要收藏一下的。

保险公司电话


公积金、物业等问题咨询服务热线都有
有了这份通讯录
生活中的问题
基本都能找地方解决了
大家赶紧收藏吧
(夏都西宁)