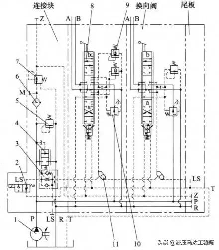
1.定量泵+负载敏感比例多路阀调压
因多路阀中位时系统卸荷无法调压,因此需要把多路阀换向进行调压。因为主溢流阀常闭,因此其设定压力P1高于二次溢流阀P2,通常高30bar。二次溢流阀压力通常比最大正常工作时稳态负载PL高20%。


多路阀换向,二位二通电磁换向阀换向(原理图上的二位二通电磁换向阀中的单向阀方向画反),将A/B口堵死或者将执行机构限位。将二次安全阀调到最大。调节主溢流阀到所需要设定压力,最后调节二次溢流阀到所需要设定压力。多路阀换向,调节另一边二次安全阀设定压力。

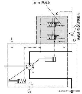
2.负载敏感泵+负载敏感比例多路阀调压
因多路阀中位时系统卸荷无法调压,因此需要把多路阀换向进行调压。因为主溢流阀常闭,因此其设定压力P1高于二次溢流阀P2,通常高30bar。为了能够更好的实现泵上的压力切断功能(高压待命状态),二次溢流阀压力P2通常比泵上的压力切断阀设定压力P3高,通常高30bar。压力切断阀设定压力P3通常比最大正常工作时稳态负载PL高10%。




