
近日,本网接到匿名网友举报名为“最美华夏老年网”,也有称“华夏老年网”通过举办老年活动等方法,主要吸引老年人参与其广告赚钱活动, 老年人先投资990元到8000元不等,然后每天完成指定的 “看广告”操作,即可获得几十元不等的返现,直至返本以及获利。

经查,华夏老年网是由黑龙江省汇鑫隆泰科技有限公司运营,据知情人士透露,“为了吸引更多人参与做大资金池,华夏老年网还鼓励老会员拉新,拉一个新会员最低奖励360元。以高额回报刺激,以缴纳入门费为基础,鼓励人传人,涉嫌变种传销。不仅如此,为了应对日益严峻的口碑下滑,黑龙江省汇鑫隆泰科技有限公司发声明否认运营‘华夏老年网’,并推出新名字‘最美华夏老年网’。”

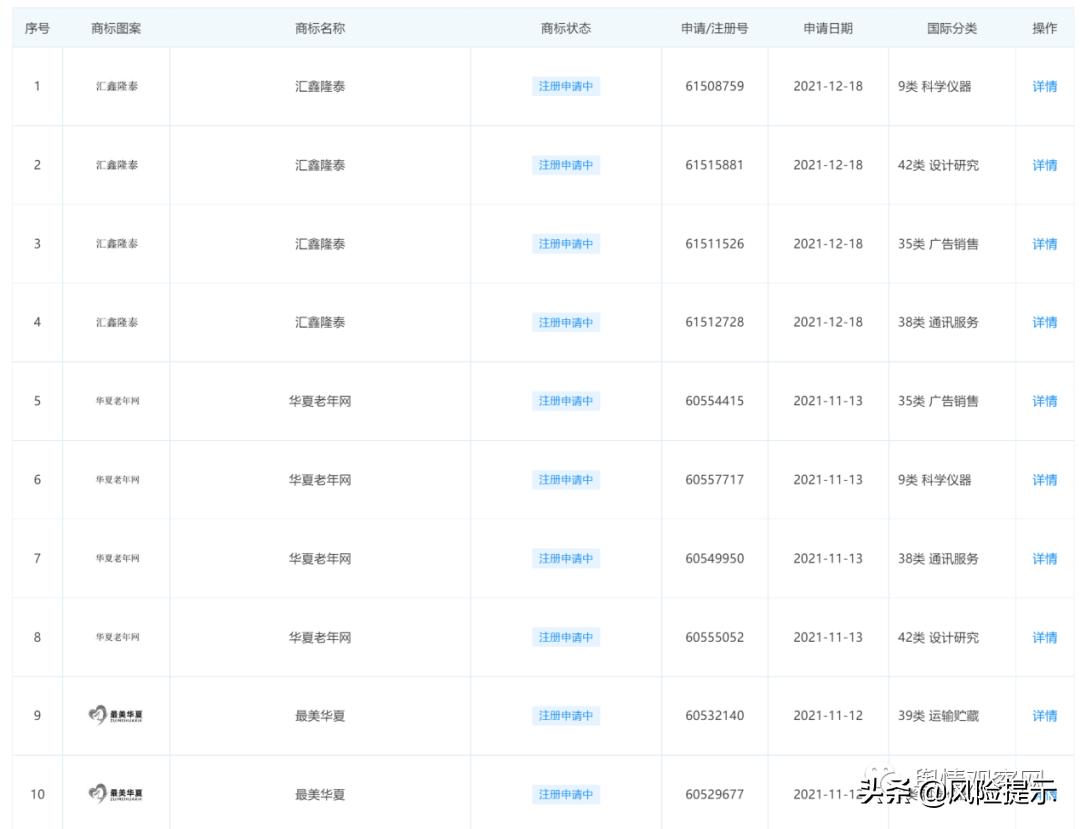
图片资料来源于企查查APP
据企查查显示,黑龙江省汇鑫隆泰科技有限公司法人为高健,注册资本1000万元,2021年6月25日注册。值得注意的是,该公司注册商标包括汇鑫隆泰、华夏老年网、最美华夏。
据悉,最美 华夏老年网一共有两个专区 :
99专区:加盟货款,990元,日收入,秒结算,每天收益15元,月收入450元,年收入5400元。推荐奖励举例:只推荐一个人日收入,50条X0.24元=12元,月收入360元,年收入4320元,每晚12点结算。
799专区:加盟货款,7990元,日收入,秒结算,50条X1.8元=90元,月收入2700元,年收入32400元,推荐奖励举例:只推荐一个人日收入50条X0.6元=30元,月收入900元,年收入10800元,每晚12点结算。

如果做双区990+7990元货款,日收入:105元,月收入:3150元,年收入:37800元,推荐双区,每月推荐奖约1260元。天天有月月有年年有收益,以上是每天必须完成任务就是看50条广告,劳动所得。
关于华夏老年网的拼团,据某代理商还在微信公众号写道,个人参与:99元专区收益,0.3元/局*50局/天=15元/天;799元专区收益:1.8元/局*50局/天=90元/天,个人参与一天:15元+90元=105元,105元*30天=3150元一个月的收益。
30天全部参与99元专区额外赠送:15分购物积分,150分老年网贡献积分,30天全部参与799元专区额外赠送,90分购物积分,900分老年网贡献积分。
邀请好友一起拼团:99元专区收益:0.24元/局*50局/天=12元/天,799元专区收益:0.6元/局*50局/天=30元/天,一天:12元+30元=42元,推荐一个朋友:42元*30天=1260元一个月的收益。根据个人邀请朋友的人数决定总收益:邀请好友30天全部参与99元专区,邀请好友30天全部参与799元专区,推荐越多,受益越多!
团队奖励(周结算) :
1、青铜级别:直推20人,可获得团队总流水万分之一的奖励 , 月收入1-2万 ;
2 、 白银:3个青铜(团队考核三条线不考核深度) ,白银可获得团队总流水万分之二的奖励, 月收入3-5万 ;
3、黄金:可拿团队总流水万分之三奖励 , 月收入6-18万 ;
4、铂金:可拿团队总流水万分之四的奖励 , 月收入30-100万 ;
5、钻石:可拿团队总流水万分之4.5的奖励 , 月收入60-300万 ;
6、至尊:可拿团队总流水万分之5的奖励 , 月收入300-600万 。
(备注:99专区一天流水4950 元 ,799专区一天流水39950 元 ,一个9000的账号一天的流水就是44900 元,流水是赚大钱的开始)。
根据《禁止传销条例》第七条,下列行为,属于传销行为:
(一)组织者或者经营者通过发展人员,要求被发展人员发展其他人员加入,对发展的人员以其直接或者间接滚动发展的人员数量为依据计算和给付报酬(包括物质奖励和其他经济利益,下同),牟取非法利益的;
(二)组织者或者经营者通过发展人员,要求被发展人员交纳费用或者以认购商品等方式变相交纳费用,取得加入或者发展其他人员加入的资格,牟取非法利益的;
(三)组织者或者经营者通过发展人员,要求被发展人员发展其他人员加入,形成上下线关系,并以下线的销售业绩为依据计算和给付上线报酬,牟取非法利益的。
此外,知乎也有网友对该公司提出质疑,具体内容及截图如下:



据该知乎网友称:最初之前 App叫 “爱上优选” 那时法人确是钟瑞,可不到半年app就被注销,以系统升级为名更名为 “ YY购 ” 然后继续诱导大家行骗。其实2021年下半年 “黑龙江汇鑫隆泰科技有限公司” 就被国家信用信息系统列入《严重违法失信企业》(可查看下图圈红处),后来2021年11月份公司法人钟瑞退出,更换成现在的最大股东高健担任法人,也是公司的直接受益人 。
对此, 舆情观察网 将持续关注报道!
文章来源:舆情观察网,特此鸣谢!