建筑资质的必要性是什么?为什么要办理工程资质?
其实,无论是总承包资质、专业承包资质还是劳务资质,这些都算一道“门槛”。施工资质其实就是企业的保障,而且因此能增加合作的机会。
在大数据时代下,
建筑企业工程资质怎么查询?
1、大数据查询×企业资质
其中,官方工程资质查询就是进入 中华人民共和国住房和城乡建设部官网 ,但是政府官网平台毕竟是免费服务平台,避免不了 出现卡顿 的现象,不仅 体验感不好 ,而且经常会因为查询信息 耽误时间 。

目前除了“四库一平台”外,
其实还有很多大数据平台查询服务
找到这一工具,你不用再为查询不到对方是否具有相应的建筑资质而苦恼!
2、大数据分析×保标招标网
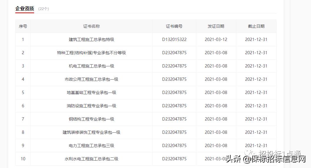
保标招标网——大数据信息服务平台,可查询企业等级资质、工商信息、历史信息、经营风险等。


■ 01 打开【保标招标】网站( https://www.gov-bid.com ),注册登录,点击“查企业”按钮
■ 02 输入想要查询的企业名称,点击查询就能得到这家公司的所有信息。
■ 03 如果你不方便打开网站,可以搜“保标招标”小程序也可一键查询!