张维祥 李昌泽 王昊 刘干
江苏省生产力促进中心 东南大学交通学院 江苏科创车联网产业研究院有限公司
摘 要: 智能网联技术作为物联网的重要分支,依赖于信息化和工业化的深度融合,对道路交通行业的发展具有重要意义。借助智能网联技术,交通决策者可以获得高精度、低延迟的交通运行状态数据,从而实现即时、智能的交通诱导控制。在此背景下,本文提出了一种面向智能网联的三级交通诱导控制系统。该系统以智能网联技术为基础搭建诱导与控制系统,通过对流量分布信息动态标志牌、可变车道动态显示标志牌以及适应可变车道的交通信号机进行协同控制,实现动态智能的交通诱导控制方法。
关键词: 交通工程;智能网联;信号控制;三级诱导;
国家战略《中国制造2025》确立了智能网联汽车产业发展的具体目标:道路交通事故减少80%、死亡减少90%和公路效率提升80%。让交通标志、红绿灯、护栏、路灯等道路沿线路侧设施具备通信能力,通过物联网实现V2I(Vehicle to Infrastructure)车路通信,是未来智能交通技术发展的大势所趋。自21世纪初期,欧美各国家已经开始着手于智能网联技术的探索,积累了一定的理论成果及工程基础,而我国在该领域的发展相对滞后。
国际上具有代表性的智能网联通信研究项目CVIS、Drive C2X、ACDC等影响力较大的项目均着眼于建立车辆与路边设施之间的无线通信,旨在从宏观上推进交通领域的智能化。
在此背景下,传统的交通诱导控制也被赋予了新含义。交通诱导技术作为智能交通的重要组成部分,旨在根据当前路网的交通流量状况等信息对路网中运行的车辆的出行路径进行优化,为路网中的车辆提供最佳的行驶路线,从而均衡道路上的交通量,缩短车辆的行驶时间或距离。日本、美国、欧洲从1970年左右开始对相关智能交通技术进行研究,积累了丰富的技术和经验。我国相比于国外起步较晚,但随着近年来的发展,交通诱导技术相关研究成果如论文、专利及产品的数量稳步上升。
传统的交通诱导方法多依赖于安装于道路上的检测器实现交通运行状态数据的采集,但受到检测器技术本身的限制,数据的采集存在局限性,如车辆间的相互遮挡,天气对光学传感器的影响,数据的准确性和全面性还有所欠缺。
为了顺应当前智能网联技术高速发展的潮流,提高交通诱导控制的智能化程度,实现其与智能网联环境的无缝对接,本文提出了一种面向智能网联环境的三级交通诱导方法。
1 面向智能网联的三级交通诱导控制系统
本文所提出的三级交通诱导系统,以智能网联技术所带来的全息感知数据为决策支撑,依托流量分布信息动态标志牌,可变车道标志牌以及适应可变车道的交通信号控制,实现对智能网联环境下车辆的诱导控制。
1.1 智能网联背景下的三级交通诱导控制结构
本文以V2I通信技术为基础,构建三级交通诱导控制结构。在V2I技术所主导的通信模式中,车辆与路边单元(road side unit,RSU)进行数据交换,如诱导标志牌,交通信号灯等。基于这种模式,交通控制中心对路段的相关信息,如流量、道路状况和事故信息进行收集,并做出相应的调整。
以V2I技术为通信手段,本文所搭建的三级交通诱导控制结构如图1所示。图中黑色箭头代表数据的交换。

图1 三级交通诱导控制结构示意图 *载下**原图
该交通诱导控制结构包含三个部分,按照车辆的接触顺序先后,分别是路段通行状况标志,可变车道功能标志和交通信号灯。车辆可与三者分别进行通信,进而上传有关自身运行状态的信息。该三者分别对应交通诱导控制系统中的路段通行状况提示诱导,可变导向车道控制以及交通信号配时控制。以下分别对三种控制的机理进行详述。
1.2 路段通行状况提示诱导
路段通行状况提示诱导基于路段通行状况标志牌实现,后者作为车辆最先接触的一级交通诱导控制结构,其作用在于,通过为车辆提供前方交叉口所联结的路段的运行状况信息,促使驾驶员做出更加合理的选择。路段通行状况标志牌的具体构造如图2所示。

图2 路段通行状况标志牌 *载下**原图
路段通行状况标志牌接收行驶来自当前交叉口所联结路段上的车辆的数据,处理、分析并显示当前路段车辆所可能驶向路段的运行状态信息,并用不同的颜色进行标识,绿色、黄色和红色分别对应通畅、繁忙和拥堵三种状态。三个箭头则分别对应三处不同的路段,分别是车辆直行、左转和右转通过交叉口后的路段。位于箭头尖端的文字对应各自路段的名字,位于中下部的文字则注明了当前路段的名字。
1.3 可变导向车道控制
进行可变导向车道控制,是为了改善交叉口进口道的不均衡性来提高交叉口的整体通行效率。可变导向车道功能标志的设置示意图如3所示。

图3 可变导向车道功能标志设置示意图 *载下**原图
设置可变导向车道的交叉口应满足以下硬件条件:
(1)在只考虑左转和直行的情况下,应用可变导向车道的交叉口进口道应至少包含3条车道;
(2)诱导系统标志牌的布设要求进口道上游路段长度不少于120米,路段需要足够的长度来配置可变导向车道标志牌。
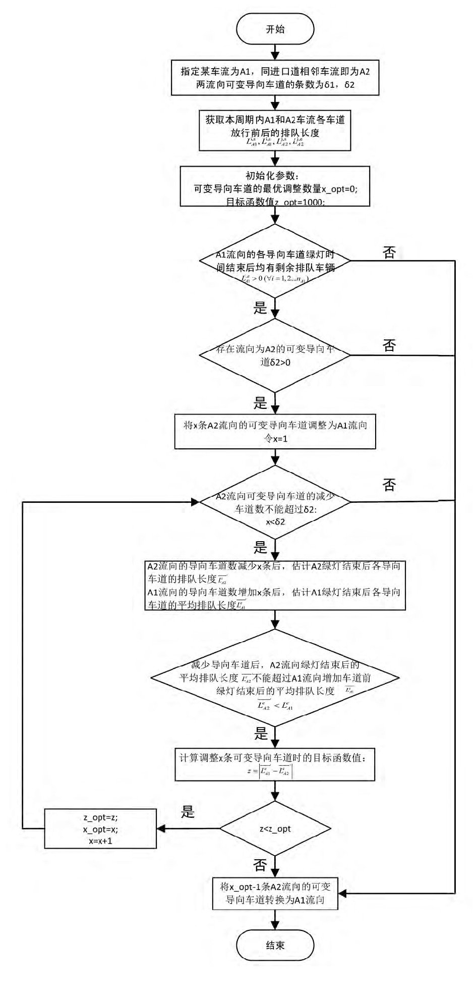
当交叉口某一进口道左转和直行车流的流量比在一天的不同时段中存在较大差异时,应考虑利用可变导向车道进行均衡性控制。左转和直行的流量比差异的具体表现为:在某一特定时段,该交叉口进口道的左转车流交通压力大于直行车流;而在一天中的另一时段,直行车流的交通压力大于左转车流的交通压力,即在该交叉口进口道处存在转向式潮汐交通流。通过设置可变导向车道,合理地配置不同时段内进口道各方向车道的数目,从而均衡该进口道左转和直行车道的排队长度,提高交叉口的通行效率。面向进口道均衡性控制的可变导向车道控制流程如图4所示。

图4 面向进口道均衡性控制的可变导向车道控制流程 *载下**原图
1.4 交通信号配时控制
为了保证可变导向车道控制的可靠性,车道功能的切换应该与交通信号配时优化同步进行。本文所提出的交通信号配时控制主要包含两个部分,分别是车道功能切换后的放行方案选取与信号配时方案优化。
1.4.1 放行方案选取
在确定信号配时之前,首先应确定交叉口信号控制的放行方案。相位组成的确定取决于各方向车流量的大小、交叉口的几何特征与运行中需考虑的特殊情况等因素。以下对常用的信号组成方案进行介绍,并结合可变导向车道制定相应的相位选取原则。
(1)对称式放行方案
对称式放行方案在每个相位内部放行来自对向的交通流,一般包含四个相位,分别对各方向的直行和左转进行放行,能够高效地平衡各个相位的饱和度。根据经验,为了尽量减少相位衔接带来的损失时间,一般情况下以采用直行相位与左转相位的连接,如图5所示:

图5 对称式四相位放行方案 *载下**原图
(2)单进口放行方案
单进口放行方案在每个相位内部放行来自同一进口道的所有方向交通流,该方案一般包含四个相位。相较于对称式放行方案,该方案能够有效地分离各进口道的车流,在相位内部交通流完全不存在相互干扰,安全性高。目前普遍应用的是顺时针放行相序,如图6所示。

图6 单进口放行方案 *载下**原图
(3)混合式放行方案
考虑到有部分交叉口的实际情况可能是前两种方案适用范围的结合,这时便应考虑结合两种方案,进行混合式放行。混合式放行方案结合了对称式和单进口两种方案的特点,可以有效地缓解潮汐交通带来的影响。该方案的一种相序如图7所示。
(4)搭接式放行方案
当交叉口对向进口道两个方向的直行与左转流量均存在差异时,可以考虑采用搭接式放行来缓解流量的不均衡。对于某一组对向进口道,搭接式放行通常起始于一方进口道的单进口放行,然后是对称式放行,最后是另一方进口道的单进口放行。在实践中,搭接式放行可以只出现在一组对向进口道上,也可以出现在四个进口道上。如图8是一种经典的搭接式放行方案,虚线框内为搭接相位。

图7 混合式放行方案 *载下**原图

图8 直行搭接式放行方案 *载下**原图
1.4.2 信号配时方案优化
本文拟采用韦伯斯特模型进行交叉口配时,如公式(1)-(4)所示:




其中:C0为信号周期;L为总延误时间;Y为各方向流量与饱和流量比之和。
韦伯斯特配时模型的主要目的是降低交叉口的通行延误,其基于绿信比与流量比成正比的假设分配各相位绿灯时间。
结合前节中的可变导向车道功能切换控制与本节的交通信号配时控制,可变导向车道控制的流程如图9所示。
2 案例分析
为了更好地证明本文所提出三级交通诱导控制系统的有效性,设置仿真实验进行验证。该仿真实验的情景基于孤立交叉口设计,主要的观察对象为设置了可变导向车道的进口道。进口道共有四条车道,分别对应左转、左转/直行、直行和右转的交通流,其中左转/直行为可变导向车道。在实验过程中,首先将可变导向车道的初始功能定义为直行方向,为在仿真运行过程中实现可变导向车道功能的转换,需要在总交通量不变的情况下增加在该进口道左转的需求比例。图10所示的是三级诱导系统中第一级诱导即路段通行状况提示诱导的变化情况。可以发现,通行状况提示诱导标志中,该交叉口的两个方向的路段的通行状况提示颜色由绿色变成了黄色,说明该两路段的通行状况从通畅变为了繁忙。

图9 可变导向车道控制流程 *载下**原图

图1 0 通行状况提示变化对比图 *载下**原图
图11所示的是三级诱导系统中第二级诱导即可变导向车道功能变化诱导的变化情况。当交通诱导系统检测到进口道不同方向的车流出现与车道数不匹配的不均衡后,实行了可变导向车道的功能切换,并根据切换后的各方向车道数以及交通量对信号进行重新配时。
图12所示的是车道功能切换前后交叉口的运行状况图。该图直观地展示了可变导向车道对于进口道处不均衡交通流的改善效果。车道功能切换之前,左转交通量明显高于直行交通量,但因左转方向车道数少,在原有配时方案下容易形成排队堆积,无法清空。而在车道功能切换之后,左转排队则可以在绿信号时间内清空。

图1 1 可变导向车道功能变化对比图 *载下**原图

图1 2 进口道交通运行状况对比图 *载下**原图
以图13给出目标进口道的左转及直行车道在两次仿真中的排队长度比较。

图1 3 直行及左转车道的排队长度比较 *载下**原图
由图13分析可得,由于该进口道在仿真时段内左转流量远大于同进口道的直行流量,所以在仿真开始之后,当检测到左转排队长度在某一周期内大于可变导向车道功能切换的阈值条件时,可变导向车道的功能转向左转方向,使左转车辆的通行效率增加,排队长度大大降低,但是在车道功能转换之后,直行车辆由于车道减少,排队长度会逐渐增加,当达到可变导向车道控制的触发条件时,车道功能又会切换回直行方向,所以排队长度在仿真时段内出现了一定程度的波动。但是从总体情况来看,设置可变导向车道后左转车道排队长度的减少量远大于直行车道排队长度的增加量,可以看出可变导向车道的设置是有效的。
目标进口道的左转及直行车道在两次仿真中的平均延误如图14所示:

图1 4 左转及直行车道的平均延误比较 *载下**原图
对比左转车道在两次仿真中的延误数据可以看出,在设置可变导向车道后,左转车道的排队长度在仿真开始后的第四个周期达到了可变导向车道功能切换的触发条件,并将可变导向车道的功能转向左转方向,使左转车辆的通行效率大大增加,同时也有效降低了左转车辆的平均延误,对比直行车道在两次仿真中的延误数据,可以发现减少车道后直行车辆的平均延误与不设置可变导向车道相比并没有显著的增加,所以可变导向车道控制以直行车辆延误微小的增加为代价,显著降低了左转车辆的平均延误,同时也从侧面印证了三级交通诱导控制系统的有效性。
3 结语
作为智能交通系统的一部分,交通诱导控制融合了传感器技术、通信技术以及互联网技术,可以即时获得交通系统的运行状态信息,大幅度地提高交通流诱导信息水平,更好地配置道路的时间与空间资源。本文所提出的面向智能网联的三级交通诱导控制系统,以多级结构为基础,通过向驾驶员发布路段运行信息,收集交通流数据,进行可变车道功能切换与信号配时优化,实现了智能化、精细化和自动化的交通诱导控制,可以显著地提升交通资源的利用率,提高交通系统的运行效率。
参考文献
[1] 陆化普.智能交通系统概论.北京:中国铁道出版社,2004.
[2] 卓义斌,缪照浜,高月红,等.V2X技术发展历程及应用研究.电信工程技术与标准化,2016,29(2):20-24.
[3] 付长军,李斌,乔宏章.智能网联产业发展现状研究.无线电通信技术,2018,44(4):5-9.
[4] GALLO L,HAERRI J. Unsupervised long-term evolution deviceto-device:a case study for safety-critical V2X communications.IEEE Vehicular Technologymagazine,2017,12(2):69-77.
[5] 姜涛.信控平交口可变车道设置方法研究.西安:长安大学,2019.
[6] 全永桀.城市交通控制.北京:人民交通出版社,1989.

声明: 我们尊重原创,也注重分享。有部分内容来自互联网,版权归原作者所有,仅供学习参考之用,禁止用于商业用途,如无意中侵犯了哪个媒体、公司、企业或个人等的知识产权,请联系删除,另本头条号推送内容仅代表作者观点,与头条号运营方无关,内容真伪请读者自行鉴别,本头条号不承担任何责任。