导语: Divvy Homes是一家为低信用客户提供房屋*款贷**的公司,为租房者提供过渡到房屋所有权的服务。
Part 1 公司概述

1.1 公司简介
Divvy Homes是一家美国房地产*款贷**服务提供商,专注于提供房屋*款贷**以及房屋维修服务,允许租户在租房时建立股权信用,租房者可以挑选市场上的任何房屋,由平台进行购买,租房者可即刻入住该房屋,同时建立股权信贷,偿还债务。
Divvy Homes的愿景:“与其每月支付租金,更接近拥有房屋,我们将为租户提供建立信用评分、赚取股权并最终通过修改后的先租后买安排获得抵押*款贷**批准的机会”
1.2 创立背景
Divvy Homes联合创始人兼首席执行官 Adena Hefets对 Divvy Homes 的热情来自于她的家人无法获得抵押*款贷**,因此不得不求助于卖方融资才能买得起房子。
Adena Hefets父亲于20世纪80年代从以色列移民到美国,并在被拒绝抵押*款贷**后通过卖方融资幸运地拥有了房屋,后来这个家庭能够动用了他们的房屋净值来支持他们女儿的常春藤盟校教育。
2017年, Adena Hefets成功创办了Divvy Homes。
Divvy Homes目标客户可能没有良好的信用评分、稳定的工作经历或 401(k) 计划,Divvy Homes的业务模式与一般租赁公司的不同之处在于,该公司通过“从租赁到购买”的方式鼓励租客最终买下房屋。
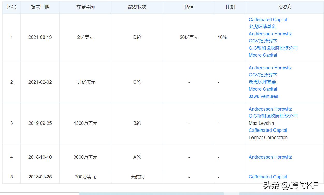
1.3 融资情况

(资料来源:天眼查)
Part 2 公司业务
Divvy Homes 与想要成为房主但无法获得融资的人合作,允许租房者选择他们有朝一日想要拥有的房子,支付小额首付,搬进去,然后按月付款。
所有这一切都是为了让买家可以在几年内获得房屋的净值。 在大约三年内,理想情况下,租房者将提高他们的信用评分,获得房屋净值,并有资格获得融资。
2.1 从租房到有房的5个步骤
Divvy Homes 帮助客户从租房到有房的5个步骤:
第1步 5分钟免费申请
免费获得迅速的资格预审,不影响您的信用评分。
作为申请流程的一部分,Divvy Homes 会要求您提供以下信息:
- 联系信息
- 当您打算搬家时你想住在哪里
- 您目前是否正在与房地产经纪人合作
- 您是否和另一个人一起申请
- 您目前的财务状况(每月总收入和当前租金)
- 就业信息
- 背景调查
- 身份证明
要获得Divvy的资格,客户需要满足:
- 有记录的收入(每月至少收入$ 2,400);
- 必须具有550以上的信用评分;
- 必须通过背景检查,包括租赁历史记录;
- 结账前需预付2%的首付。
第2步 找到合适的房子
与您自己的代理合作或通过Divvy寻找代理,选择市场上任何符合条件的房屋,并获得购房预算。
第3步 Divvy 购买您梦想中的家
Divvy 以现金支付房屋费用,并支付所有费用(比如交易费用、税金和保险),您先支付售价的1% 到2%,这直接用于为您自己未来的首付款节省资金。
第4步 带着内置的储蓄搬进来
您可以马上搬到房子里来,您的每月付款包括内置储蓄,这些储蓄会随着时间的推移变成首付款。( Divvy Homes的计划旨在让客户在3年内成为符合抵押*款贷**条件的客户。)
第5步 买房,或带着积蓄离开
在合适的时候买你的房子。如果您没有购房需求,您也可以搬出(提前60天通知)并保留您的Divvy储蓄(减去重新列出的费用)。您可以在 3 年租约期间随时购买您的房屋。在签署租约之前,您会知道购买价格选项是多少,如果您在租约的前 18 个月内购买房屋,则预设购买价格较低。
2.2 相关费用
从以上步骤可以看出,Divvy Homes以现金支付房屋费用,并支付所有费用(比如交易费用、税金和保险)。
Divvy Homes客户需要付的费用有两种,第一种是入住时的首付,客户需支付一次性的预付款(房屋价值的1%–2%),直接用于节省未来的首付款。第二种是每个月都需要缴纳的房屋租金加家庭储蓄金*。客户在Divvy Homes的租金取决于房屋的位置、大小、状况和功能。而其家庭储蓄按月预留,用于支付其未来的首付款。
*客户每月的家庭储蓄约占每月总付款的 10-25%(或房屋价值的大约 0.10-0.25%)。例如,对于一个价值 200,000 美元的家庭,每月支付的大约200-500美元将用于家庭储蓄。
Part 3 替代产品
Landis Technologies可以看作是Divvy Homes的替代产品和竞争对手。
Landis Technologies成立于 2018 年,总部位于美国纽约市,它帮助租房者过渡到拥有房屋,还允许客户在准备好抵押*款贷**时选择房屋、出租和购买房屋。Landis 在以下地区提供购房机会: 阿拉巴马州、佛罗里达州、佐治亚州、印第安纳州、肯塔基州、北卡罗来纳州、马里兰州、俄亥俄州、南卡罗来纳州、宾夕法尼亚州、田纳西州和西弗吉尼亚州。与Divvy Homes不同的是,Landis Technologies房屋租客最多只能租住两年。