近年来国内外经济技术高速发展,润滑油产品也快速升级换代。这就需要企业更好掌握润滑油的调合方法,从而制定出适合自己企业的生产工艺和技术,不断推陈出新,生产出优良产品。
润滑油调合是按既定的功能剂配方(包括清净分散剂、抗氧剂、极压抗磨剂、油性剂、金属钝化剂、防锈剂等),通过在允许范围内适当调整基础油组分(包括基础油、降凝剂、粘度指数改进剂、抗泡剂等),使所有组分均匀混合成质量合格的成品润滑油的工艺过程。调合的目的是使油品具有使用要求的各种性能指标,符合规格标准,并保持产品质量的稳定性;调整润滑油品种,提高产品的质量等级,改善油品的使用性能,使组分油合理使用,可以有效地提高产品的收率增加产量。而在此过程中,选择什么调合方法才能使调合效果更好显得尤为重要。

1.调合方法
润滑油的调合,和其它油品的调合方法相类似。其调合方法有:机械搅拌调合,调合泵循环调合、脉冲气动搅拌及管道调合等几种。一般的调合方法都是先将基础油和添加剂倒入调合罐中,通过安装在调合罐中的设备进行搅拌调合,属于间歇调合。而管道调合则不同,它是通过管道在线调合,在管道中充分混合,属于连续调合。
1.1 机械搅拌调合
机械搅拌调合是利用搅拌器的转动,使需要混合的润滑油作近似圆周的循环流动及翻滚,达到混合均匀的目的。搅拌器的安装方式有2种:(1)罐壁伸入式:采用多个搅拌器时,应将搅拌器集中布置在罐壁的1/4圆周范围内。(2)罐顶进入式:可采用罐顶中央进入式,也可不在罐顶正中心。其调合流程示意见下图。

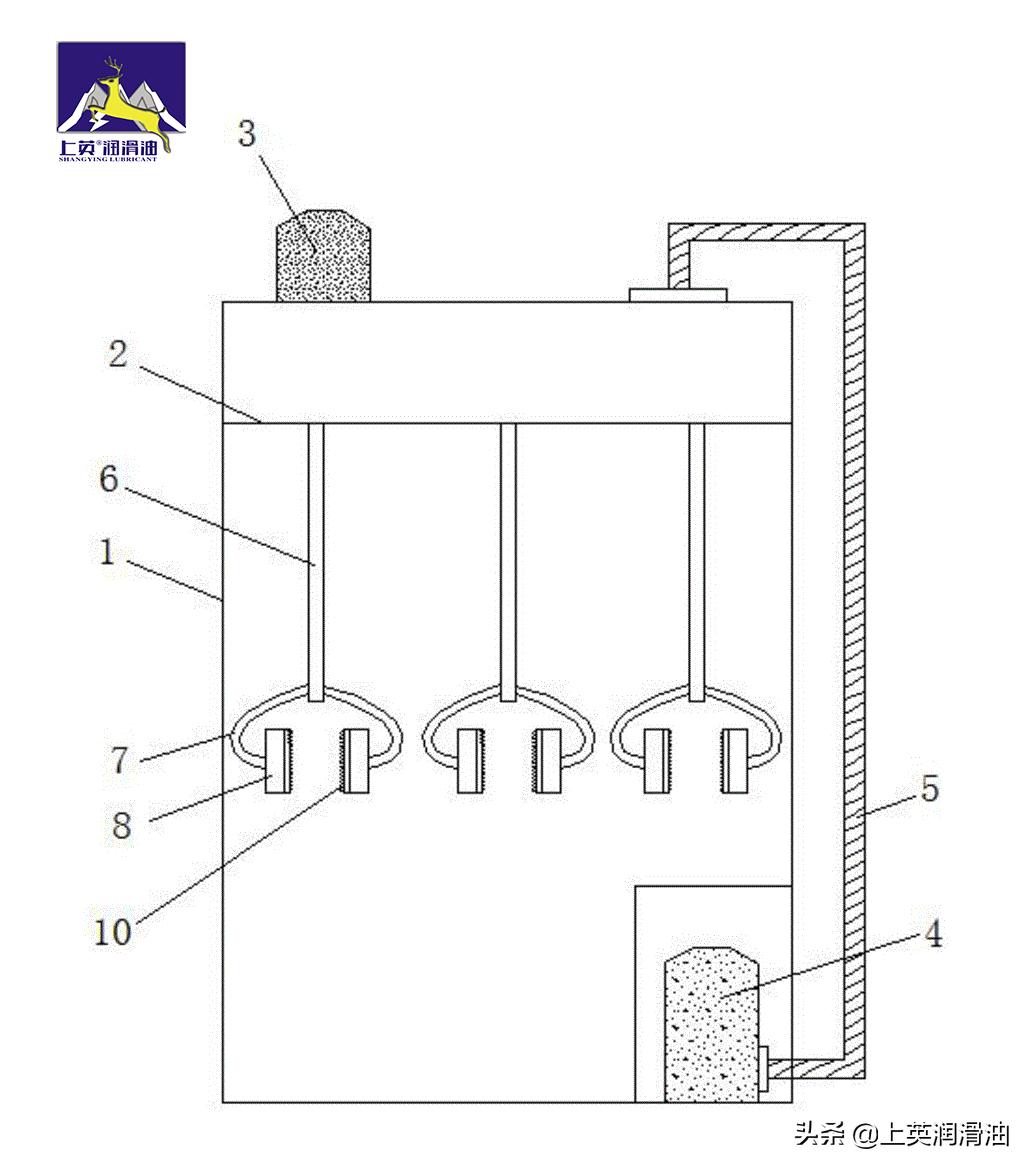
1.2 泵循环调合
泵循环调合是把需要调合的各组分油送入罐内,利用泵不断的从罐体底部抽出油品,然后把油品打回流至罐内(一般在回流口增设喷嘴或喷射搅拌器,喷出的高速流体使物料能够更好的混合),如此循环一定时间,使各组分调合均匀,达到预期要求。调合泵选用时,扬程要考虑喷嘴最需的压头。其调合流程示意见下图。

1.3 脉冲气动搅拌调合
脉冲气动搅拌调合装置采用压缩空气进行液体的搅拌调合。在工业控制计算机的控制下,根据油品在不同温度下的粘度、按照设定好的脉冲频率定时控制进气的频次(次/min)和每次的进气量多少(空气阀打开时间0.5~1 s)。当受控的压缩空气通过储罐底部均匀分布的喷射盘以脉冲方式喷射冲刷、刮扫罐底并在液体中产生喷射气流和大气泡,利用气流的涡旋作用和气泡在液体中的上浮作用,使罐底重组份物质被挤出、托起(扬起)上浮到油表面,气泡自行*破爆**;同时带动储罐中各组份上下运动,形成翻滚的液体涡流,在较短时间内使罐内油品各组份达到充分搅拌混合的目的。压缩空气使用时必须在调合之前需脱干水分,对质量要求相对较高的产品应用净化空气。这种调合方法现在得到广泛推广。其调合流程示意见下图。

1.4 管道调合
管道调合就是利用自动化控制仪表,对各种组分油与添加剂的流量进行控制(一般是流量计发出流量脉冲信号,经过自控仪表,操纵泵出口处的气动控制阀来调节流量合维持比例),使它们按照预定的比例进入到在线混合器中,在其中充分混合,调合成符合各项指标要求的成品油。管道调合一般由基础油罐、添加剂罐、过滤器、输油泵、控制阀组、流量计、成套控制仪表、混合器及成品油罐组成。该方法需要较高级、精确的先进设备及自控手段。前期投资相对较大,但能节约时间,降低能耗,实现优化控制。其调合流程示意见下图。

2.调合过程
间歇调合方式各组分需依次定量地加入调合器(罐)中,通常的加料顺序是:基础油—抗泡剂—降凝剂—粘度指数改进剂—功能剂(复合剂)。在复合剂加入前要求半成品的粘度、倾点、抗泡值在预期的范围内,否则,要进行适当的调整,加入复合剂调合后再按规格要求做全面分析。
在调合过程中必须严加控制调合温度和搅拌时间,一般调合温度在50~70℃范围内根据原料情况适当掌握。尤其要避免物料的局部过热现象,否则会因基础油氧化、添加剂分解等现象而影响产品质量;搅拌时间要根据物料数量、容器大小、搅拌力度等因素来确定。
在调合过程中还需监控、调整3个理化项目:
(1)运动粘度和动力粘度。这些数值除要符合产品指标外,有时还要考虑到用户的意向,这些数值可通过调整轻重基础油组分的比例及粘度指数改进剂用量来实现。
(2)凝点。可通过改变轻重基础油的比例及降凝剂用量或更换降凝剂品种来调整。
(3)抗泡性。可通过改变轻重基础油的比例及抗泡剂用量或更换抗泡剂品种来调整,在硅型抗泡剂用量增加也不奏效时,复合适量的非硅抗泡剂可能有很好的效果。

润滑油的各种调合方法各有优缺点。为达到更好的混合效果,在润滑油调合过程中,一般是几种方法结合使用。所以,应根据实际的不同工况,做好可行性研究,选择适当的方法,适当的设备对基础油进行调和,使其达到预期的润滑油生产目的,生产出符合市场需求的优质产品。