暖卫设备及管道安装
本工艺标准适用于民用及一般工业建筑室内、外采暖与卫生设道安装工程。
一、材料、设备要求
1暖卫设备、钢材、管材、管件及附属制品等,在进场后使用认真检查,必须符合国家或部颁标准有关质量、技术要求,并有出厂合格证明。
2各种连接管件不得有砂眼、裂纹、偏扣、乱扣、丝扣不全和角度不准等现象。
1.3各种阀门的外观要规矩无损伤,阀体严密性好,阀杆不得弯曲,安装前应按设计要求或施工规范、规定进行强度和严密性试验。
4石棉橡胶垫、油麻、线麻、水泥、电、气焊条等质量都必须符合设计及规范要求。
二、主要机具
1机具:套丝机、砂轮锯、煨弯机、砂轮机、电焊机、台钻、手电钻、电锤、电动水压泵等。
2工具:套丝板、圆丝板、管钳、链钳、活扳子、手据、手锤、大锤、契子、捻凿、麻钎、螺丝板、压力案、台虎钳、克丝钳、改锥、气焊工具等。
3量具:水平尺、钢卷尺、线坠、焊口检测器、卡尺、小线等。
三、作业条件
1 根据施工方案安排好适当的现场工作场地、工作棚、料具库,在管道层、地下室、地沟内操作时,要接通低压照明灯并采取效果良好的通风措施。
2 配合土建施工进度按设计和有关规范要求做好各项预留孔洞、管槽,稳栽各种型钢托、吊卡架及预埋套管。浇注楼板孔洞、堵抹墙洞工作应在土建装修工程开始前完成。
3 在各项预制加工项目进行前要根据安装测绘草图及材料计划,将需用材料、设备的规格型号、质量、数量确认合格并准备齐全,运到现场。
四、操作工艺
(一) 工艺流程:

(二) 管道预制加工:
1 管道丝扣连接:
(1) 断管:根据现场测绘草图,在选好的管材上画线,按线断管.
①用砂轮锯断管,应将管材放在砂轮锯卡钳上,对准画线卡牢,进行断管.断管时压手柄用力要均匀,不要用力过猛,断管后要将管口端面的铁膜、毛刺清除干净.
②用手锯断管,应将管材固定在压力案的压力钳内,将锯条对准画线,双手推锯,锯条要保持与管的轴线垂直,推拉锯用力要均匀,锯口要锯到底,不许扭断或折断,以防管口断面变形.
(2)套丝:将断好的管材,按管径尺寸分次套制丝扣,一般以管径15~32mm者套二次,40~50mm者套三次,70mm以上者套3~4次为宜.
用套丝机套丝,将管材夹在套丝机卡盘上,留出适当长度将卡盘夹紧,对准板套号码,上好板牙,按管径对好刻度的适当位置,紧住固定板机,将润滑剂管对准丝头,开机推板,待丝扣套到适当长度,轻轻松开板机.
②用手工套丝板套丝,先松开固定板机,把套丝板板盘退到零度,按顺序号上好板牙,把板盘对准所需刻度,拧紧固定板机,将管材放在压力案压力钳内,留出适当长度卡紧,将套丝板轻轻套入管材,使其松紧适度,而后两手推套丝板,带上2~3扣,再站到侧面扳转套丝板,用力要均匀,待丝扣即将套成时,轻轻松开板机,开机退板,保持丝扣应有锥度。管子螺纹长度尺寸详见下表。

注:螺纹长度均包括螺尾在内。
(3)配装管件:根据现场测绘草图,将己套好丝扣的管材,配装管件。
①配装管件时应将所需管件带入管丝扣,试试松紧度(一般用手带入3扣为宜),在丝扣处涂铅油、缠麻后带入管件,然后用管钳将管件拧紧,使丝扣外露2~3扣,去掉麻头,擦净铅油,编号放到适当位置等待调直。
②根据配装管件的管径的大小选用适当的管钳(见下表)。

(4)管段调直:将已装好管件的管段,在安装前进行调直。
① 在装好管件的管段丝扣处涂铅油,连接两段或数段,联接时不能只顾预留口方向而要照顾到管材的弯曲度,相互找正后再将预留口方向转到合适部位并保持正直。
② 管段连接后,调直前必须按设计图纸核对其管径、预留口方向、变径部位是否正确。
③ 管段高超要放在调管架上或调管平台上,一般两人操作为宜,一人在管段端头目测,一个在弯曲外用手锤敲打,边敲打,边观测,直至调直管段无弯曲为止,并在两管段连接点处标明印记,卸下一段或数段,再接上另一段或数段直至调完为止。
④ 对于管件连接点处的弯曲过死或直径较大的管道可采用烘炉或气焊加热到600℃~800℃(火红色)时,放在管架上将管道不停地转动,利用管道自重使其平直,或用木板垫在加热处用锤轻击调直,调直后在冷却前要不停地转动,等温度降到适当时在加热处涂抹机油。
凡是经过加热调直的丝扣,必须标好印记,卸下来重新涂铅油缠麻,再将管段对准印记拧紧。
⑤ 配装好阀门的管段,调直时应先将阀门盖卸下来,将阀门处垫实在敲打,以防震裂阀体.
⑥ 镀锌碳素钢管不允许用加热法调直.
⑦ 管段调直时不允许损坏管材.
2 管道法兰联接(下图)

(1) 凡管段与管段采用法兰盘联接或管道与法兰阀门连接者,必须按照设计要求和工艺压力选用标准法兰盘.
(2) 法兰盘的连接螺栓直径、长度应符合规范要求,紧固法兰盘螺栓时要对称拧紧,紧固好的管道螺栓外露丝扣应为2~3扣,不宜大于螺栓直径的1/2.
(3) 法兰盘连接衬垫,一般给水管(冷水)采用厚度为3mm的橡胶垫,供热、蒸汽、生活热水管道应采用厚度为3mm的石棉橡胶垫.垫片要与管径同心,不得放偏.
3 管道焊接:
(1) 根据设计要求,工作压力在0.1Mpa以上的蒸汽管道、一般管径在32mm以上的采暖管道以及高层建筑消防管道可采用电、气焊连接.
(2) 管道焊接时应有防风、雨雪措施,焊区环境温度低于-20℃,焊口应预热,预热温度为100℃~200℃,预热长度为200~250mm.
(3) 一般管道的焊接为对口型式及组对,如设计无要求,电焊应符合表3的规定,气焊应符合表4的规定.

注: δ〈5mm管子对接如能保证焊透可不开坡口.

(4)焊接前要将两管轴线对中,先将两管端部点焊牢,管径在100mm以下可点焊三个点,管经在150mm以上以点焊四个点为宜。
(5)管材壁厚在5mm以上者应对管端焊口部位铲坡口,如用气焊加工管道坡口,必须除去坡口表面的氧化皮,并将影响焊接质量的凹凸不平处打磨平整下图.

(6)有缝钢管对焊时,管缝应至少错开45°角。
(7)管材与法兰盘焊接,应先将管材插入法兰盘内,先点焊2~3点再用角尺找正找平后方向可焊接,法兰盘应两面焊接,其内侧焊缝不得凸出法兰盘密封面(下图)。

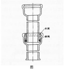
4管道承插口连接:
(1)水泥捻口:一般用于室内、外铸铁排水管道的承插口连接(下图)。

图
①为了减少捻固定灰口,对部分管材与管件可预先捻好灰口,捻灰口前应检查管材管件有无裂纹、砂眼等缺陷,并将管材与管件进行预排,校对尺寸有无差错,承插口的灰口环形缝隙是否合格。
②管材与管件连接时可在临时固定架上,管与管件按图纸要求将承口朝上、插口向下的方向插好,捻灰口。
③捻灰口时,先用麻钎将拧紧的比承插口环形缝隙稍粗一些的青麻或扎绑绳打进承口内,一般打两圈为宜(约为承口深度的1/3),青麻搭接处应大于30mm的长度,而后将麻打实,边打边找正、找直并将麻须捣平。
④将麻打好后,即可把捻口灰(水与水泥重量比1:9)分层填入承口环形缝隙内,先用薄捻凿,一手填灰,一手用捻凿捣实,然后分层用手锤、捻凿打实,直到将灰口填满,用厚薄与承口环形缝隙大小相适应的捻凿将灰口打实打平,直至捻凿打在灰口上有回弹的感觉即为合格.
⑤ 拌合捻口灰,应随拌合随用,拌好的灰应控制在一个半小时内用完为宜,同时要根据气候情况适当调整用水量.
⑥ 预制加工两节管或两个以上管件时,应将先捻好灰口的管或管件排列在上部,在捻下部灰口,以减轻其震动.捻完最后一个灰口应检查其余灰口有无松动,如有松动应及时处理.
⑦ 预制加工好的管段与管件应码放在平坦的场所,放平垫实,用湿麻绳缠好灰口,浇水养护,保持湿润,一般常温48h后方可移动到现场安装.
⑧ 冬季严寒季节捻灰口应采取有效的防冻措施,拌灰用水可加适量盐水,捻好的灰口严禁受冻,存放环境温度应保持在5℃以上,有条件亦可采取蒸汽养护.
(2) 石棉水泥接口:一般室内、外铸铁给水管道敷设均采用石棉水泥捻口,即在水泥内掺适量的石棉绒拌合,其具体做法详见第2章.
(3) 铅接口:一般用于工业厂房室内铸铁给水水管敷设,设计有特殊要求或室外铸铁给水管紧急抢修,管道碰头急于通水的情况可采用铅接口.
(4) 橡胶圈接口:一般用于室外铸铁给水管铺设、安装的管与管接口.管于管件仍需采用石棉水泥捻口,具体做法详见第12章.
(二) 预留孔洞及预埋铁件:
1 在混凝土楼板、梁、墙上预留孔、洞、槽和预埋件时应有专人按设计图纸将管道及设备的位置、标高尺寸测定,标好孔洞的部位,将预制好的模盒、预埋铁件在绑扎钢筋前按标记固定牢,盒内塞入纸团等物,在浇筑混凝土过程中应有专人配合校对,看管模盒、埋件,以免移位.
2 凡属预制墙板楼板需要剔孔洞,必须在装修或抹灰前剔凿,其直径与管外径的间隙不得超过30mm,遇有剔混凝土空心楼板肋或断钢筋,必须预先征得有关部门的同意及采取相应的补救措施后,方可剔.
3 在外砖内模和外挂板内模工程中,对个别无法预留的孔洞.应在大模板拆除后及时进行制凿.
4 用电锤或手锤、錾子剔凿孔洞时,用力要适度,严禁用大锤操作.
5 预留孔应配合土建进行,其尺寸如设计无要求时应按下表 的规定执行.

注:1.给水引入管,管顶上部挣空一般不小于100mm;
2.排水排出管,管顶上部净空一般不小于150mm。
(四)套管安装:
1钢套管:根据所穿构筑物的厚度及管径尺寸确定套管规格、长度,下料后套管内刷防锈漆一道,用于穿楼板套管应在适当部位焊好架铁。管道安装时,把预制好的套管穿好,套管上端应高出地面20mm,厨房及厕浴间套管应高出地面50mm,下端与楼板面平。预埋上下层套管时,中心线需垂直,凡有管道煤气的房间,所有套管的缝隙均应按设计要求做填料严密处理。
2防水套管:根据构筑物及不同介质的管道,按照设计或施工安装图册中的要求进行预制加工,将预制加工好的套管在浇注混凝土前按设计要求部位固定好,校对坐标、标高,平正合格后一次浇注,待管道安装完毕后把填料塞紧捣实。
(五)托、吊卡架安装:
1型钢吊架安装:
(1)在直段管沟内,按设计图纸和规范要求,测定好吊卡位置和标高,找好坡度,将吊架孔洞剔好,将预制好的型钢吊架放在洞内,复查好吊孔距沟边尺寸,用水冲净洞内砖碴灰面,再用C20细石混凝土或M20水泥砂浆填人洞内,塞紧抹平。
(2)用22#铅丝或小线在型钢下表面吊孔中心位置拉直绷紧,把中间型钢吊架依次栽好。
(3)按设计要求的管道标高、坡度结合吊卡间距、管径大小、吊卡中心计算每根吊棍长度并进行预制加工,待安装管道时使用。
2型钢托架安装:
(1)安装托架前,按设计标高计算出两端的管底高度,在墙上或沟壁上放出坡线,或按土建施工的水平线,上下量出需要的高度,按间距画出托架位置标记,剔凿全部墙洞。
(2)用水冲净两端孔洞,将C20细石混凝土或M20水泥砂浆填人洞深的一半,再将预制好的型钢托架插入洞内,用碎石塞住,校正卡孔的距墙尺寸和托架高度,将托架栽平,用水泥砂浆将孔洞填实抹平,然后在卡孔中心位置拉线,依次把中间托架栽好,型钢托架的间距应符合下表的要求。

3活动支架及固定支架型式、规格,均应按设计或标准图集要求制作、安装。
(六)立管卡安装:
1金属管道立管管卡安装应符合下列规定:
(1)楼层高度小于或等于5m,每层必须安装1个.
(2)楼层高度大于5m,每层不得少于2个.
(3)管卡安装高度,距地面应为1.5~1.8m,2个以上管卡应均称安装,同一房间管卡应安装在同一高度上.
2按设计或施工规范要求在墙上画好卡位印记,按印记剔直径60mm左右、深度不少于80mm的洞,用水冲净洞内杂物,将M50水泥砂浆填入洞深的一半,将预制好φ10×170mm带燕尾的单头丝棍插入洞内,用碎石卡固找正,上好管卡后再用水泥砂浆填塞抹平.
(七) 填堵孔洞:
1 管道安装完毕后,必须及时用不底于结构标号的混凝土或水泥砂浆把孔洞堵严、抹平,为了不致因堵洞而将管道移位,造成立管不垂直,应派专人配合土建堵孔洞.
2 堵楼板孔洞宜用定型模具或木板支搭牢固后,往洞内浇点水在用C20以上的细石混凝土或M50水泥砂浆填平捣实,不许向洞内填塞砖头、杂物.
(八) 管道试压:
1 管道试压一般分单项试压和系统试压两种.单项试压是在干管敷设完后或隐蔽部位的管道安装完毕按设计和规范要求进行水压试验。系统试压是在全部干、立、支管安装完毕,按设计或规范要求进行水压试验.
2 连接试压泵一般设在首层,或室外管道入口处.
3 试压前应将预留口堵严,关闭入口总阀门和所有泄水阀门及低处放风阀门,打开各分路及主管阀门和系统最高处的放风阀门.
4 打开水源阀门,往系统内充水,满水后放净空气,并将阀门关闭.
5 检查全部系统,如有漏水处应做好标记,并进行修理,修好后再充满水进行加压,而后复查,如管道不渗、漏,并持续到规定时间,压力降在允许范围内,应通知有关单位验收并办理验收记录.
6 拆除试压水泵和水源,把管道系统内水泄净.
7 冬季施工期间竣工而又不能及时供暖的工程进行系统试压时,必须采取可靠措施把水泄净,以防冻坏管道和设备.
(九) 闭水试验:
1 室内排水管道的埋地铺设及吊顶,管井内隐蔽工程在封顶、回填土前都应进行闭水试验,内排水雨水管道安装完毕亦要进行闭水试验.
2 闭水试验前应将各预留口采取措施堵严,在系统最高点留出灌水口.
3 由灌水口将水灌满后,按设计或规范要求的规定时间对管道系统的管件、管材及捻口进行检查,如有渗漏现象应及时修理,修好后再进行一次灌水试验,直到无渗漏现象后,请有关单位验收并办理验收记录.
4 楼层吊顶内管道的闭水试验应在下一层立管检查口处用橡皮气胆堵严,由本层预留口处灌水试验.
(十) 管道系统冲洗:
1 管道系统的冲洗应在管道试压合格后,调试、运行前进行.
2 管道冲洗进水口及排水口应选择适当位置,并能保证将管道系统内的杂物冲洗干净为宜.排水管截面积不应小于被冲洗管道截面的60%,排水管应接至排水井或排水沟内.
3 冲洗时,应采用设计提供的最大流量或不小于被1.0m/s的流速连续进行,直至出水口处浊度、色度与入水口处冲洗水浊度、色度相同为止。冲洗时应保证排水管路畅通安全。
五、质量标准
(一)主控项目:
1各种管道安装完毕所进行的水压试验、灌水试验和系统冲洗必须符合设计和施工规范要求。
检验方法:检查系统或分区(段)试验记录。
2各种管道隐蔽工程必须分部位在隐蔽前进行验收,各项指标必须符合设计要求和施工规范规定。
检验方法:检查系统各隐蔽部位的验收记录。
3管道固定支架的位置和构造必须符合设计要求和规范规定。
检验方法:观察和对照设计图纸检查。
4管道的坡度必须符合设计要求和施工规范规定。
检验方法:按系统内直线管段长度每30m抽查二段,不足30m不少于一段。
5管道的对口焊缝处及弯曲部位严禁焊接支管,接口焊缝距起弯点支、吊架边缘必须大于50mm。
检验方法:观察和尺量检查。
(二)一般项目:
1管螺纹加工精度符合国际《管螺纹》规定,螺纹清洁、规整,无断丝,联接牢固,管螺纹根部有外露丝扣,无外露麻头,防腐良好,镀锌碳素钢管和管件的镀锌层无破损、无焊接口等缺陷。检验方法:观察或解体检查。
2碳素钢管道的法兰连接应对接平行、紧密,与管道中心线垂直,螺母在同侧,螺杆露出螺母长度一致,且不大于螺杆直径的1/2,法兰衬垫材质符合设计要求或施工规范规定,且无双层垫。
3非镀锌碳素钢管的焊接应做到:焊口平直度、焊缝加强面符合施工规范规定。焊口表面无烧穿、裂纹、结瘤、夹渣和气孔等缺陷,焊波均匀一致。检验方法:观察或用焊接检测尺检查。
4金属管道的承插和套箍接口应做到接口结构和所用填料符合设计要求和施工规范规定,口密实、饱满,环缝间隙均匀,灰口平整、光滑,养护良好胶圈接口回弹间隙符合施工规范规定。
检验方法:观察和尺量检查。
5管道支(吊、托卡)架的剔做构造正确,埋设平整、牢固,排列整齐。采用压制弯头要求与管道同径。
检验方法:观察或手扳检查。
(三)允许偏差:
有关允许偏差项目参照各章节具体内容。
六、成品保护
1预制加工好的管段,应加临时管箍或用水泥袋纸将管口包好,以防丝头生锈腐蚀。
2预制加工好的干、立、支管,要分项按编号排放整齐,用木方
垫好,不许大管压小管码放,并应防止脚踏、物砸。
3经除锈、刷油防腐处理后的管材、管件、型钢、托吊、卡架等金属制品,宜放在有防雨、雪措施、运输通畅的专用场地,其周围不应堆放杂物.
七、应注意的问题
1 管道断口有飞刺、铁膜.用砂轮断管后应铣口.
2 锯口不平、不正,出现马蹄形,锯管时站的角度不合适或锯条未上紧.
3 丝头缺扣、乱扣,不能只套一板,套丝时应加润滑剂.
4 管段表面有飞刺和环行沟.主要是管钳失灵,压力失修,压不住管材,致使管材转动滑出横沟,应及时修理工具或更换.
5 管段局部凹陷.是由于调直时手锤用力过猛或锤头击管部位太集中,因此调直时发现管段弯曲过死或管径过大,则应加热调直.
6 托、吊、卡架不牢固.由于剔洞深度不够,卡子燕尾被切断,埋设卡架洞内杂物未清理净,又不浇水致使固定不牢.
7 焊接管道错口,焊缝不匀.主要是在焊接管道时未将管口轴线对准,厚壁管道未认真开出坡口.
8 捻口环行缝隙大小不匀、灰口不饱满.捻灰口时应将承插口环行缝隙找均匀,灰口内灰应填满.
9 排水管段及管件连接处弯曲现象,打麻时应认真将管与管件找正、找直.