常用工具的分类:
1、扳手类:开(叉)口扳手、梅花扳手、活动扳手、内六角扳手、扭力扳手、套筒扳手、特种扳手
2、起子(旋具)类(螺丝刀):“一”字螺丝刀、“十”字螺丝刀
3、钳子类:尖嘴钳、卡簧钳(挡圈拆装钳)等
4、敲击类
5、电动工具
6、专用工具

一、起子(旋具)类
1、螺丝刀(一字)
螺丝刀主要用来旋转一字槽形的螺钉、木螺丝和自攻螺丝等。它有多种规格,通常说的大、小螺丝刀是用手柄以外的刀体长度来表示的,常用的有100mm、150mm、200mm、300mm和400mm等几种。要根据螺丝的大小选择不同规格的螺丝刀。若用型号较小的螺丝刀来旋拧大号的螺丝很容易损坏螺丝刀。

2、螺丝刀(十字)
十字形螺丝刀:螺丝刀主要用来旋转十字槽形的螺钉、木螺丝和自攻螺丝等。使用十字形螺丝刀时,应注意使旋杆端部与螺钉槽相吻合,否则容易损坏螺钉的十字槽。十字螺丝刀的规格和一字螺丝刀相同。

3、旋具的规格
旋具的规格(杆部长)分:50毫米、65毫米、75毫米、100毫米、125毫米、150毫米、200毫米、250毫米、300毫米和350毫米等几种。

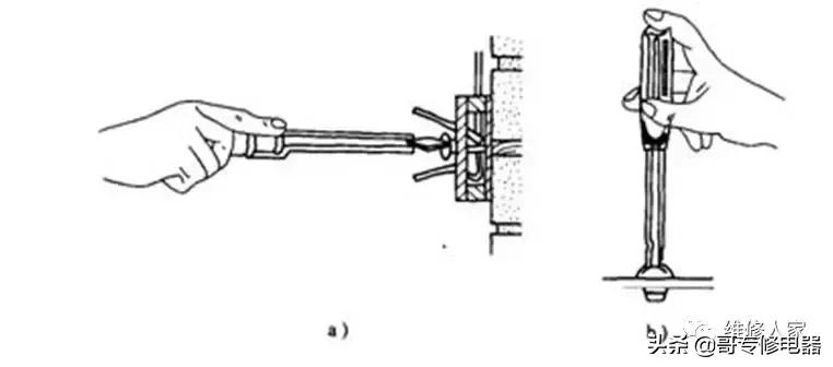
4、旋具的使用方法
1)、使用时,右手握住旋具,手心抵住柄端,旋具和螺钉同轴心,压紧后用手腕扭转.松动后用手心轻压旋具,用拇指、中指、食指快速扭转,如图1.7:
2)、使用长杆旋具,可用左手协助压紧和拧动手柄,如图1.8:

5、旋具的使用注意:
1)、刀口应与螺钉槽口大小、宽窄、长短相适应,刀口不得残缺,以免损坏槽口和刀口,如图:

2)、不可用锤子敲击旋具柄或当做錾子使用。
3)、不可把旋具口端用扳手或者签字增加扭力,以免损坏旋杆。
4)、使用旋具时,要求旋具刃口端应平齐,并与螺钉槽的宽度一致,旋具上无油污。让旋具口与螺钉槽完全吻合,旋具中心线与螺钉中心线同心后,拧转旋具,即可将螺钉拧紧或旋松。

二、钳子类
1、钢丝钳(手钳):
是一种五金工具,是用来夹住工件或剪切工件的专用工具,钳口不是固定的,钳口表面有锯齿和剪切刃口,所以也叫夹剪。另一种是电工用手钳,主要用于剪切线材。
使用手钳时应注意:
不要将钢丝钳当成扳手使用,剪切线材断头时,为防止飞出的短头伤人,短头应朝地下,操作者应戴上护目镜,电工用把柄必须加绝缘套。

钢丝钳是由钳夹头和钳柄组成。电工用的钢丝钳钳柄上套有绝缘胶套,具有一定的耐压作用,以防触电,如图A。
使用方法是;刀口朝上,使用者大拇指在上钳柄上方,食指、中指、无名指在下钳柄的下方,小指在下钳柄的上方,大拇指固定上钳柄,其余四指自由活动使钳口张开、闭合,如图B 。
使用钢丝钳要注意:禁止用来代替锤子敲击其它工件,也不允许用来起钉。钳柄上绝缘胶套禁止被钉扎或放在高温及有腐蚀性的地方,以防绝缘层损坏,若发现钢丝钳的钳柄绝缘套已损坏,应及时更换。

2、尖嘴钳
修口钳,俗称尖嘴钳,也是电工(尤其是内线电工)常用的工具之一。主要用来剪切线径较细的单股与多股线以及给单股导线接头弯圈、剥塑料绝缘层以及夹取小零件等。能在较狭小的工作空间操作,不带刃口者只能夹捏工作,带刃口者能剪切细小零件,常用于仪表、电讯器材等装配和修理作业的工具。

3、斜口钳

4、鲤鱼钳的使用方法
1)用手握住钳柄后端,使钳口开闭、夹紧,使用时可调节钳口开度大小,
2)不可用鲤鱼钳代替扳手拧紧或者拧松螺栓或者螺母,以免损坏螺栓或者螺母头部棱角。
3)不可把鲤鱼钳当撬棍使用,以免使之弯曲、折断或者损坏,
4)使用时,擦净钳子上的油污,以免工作时打滑。夹牢零件后,再弯曲或扭切;夹持大零件时,将钳口放大。不能用钳子拧转螺栓或螺母。

5、外卡簧钳(直头和弯头)
钳头可以插在卡簧两个孔里.然后扩大或缩小内径或外径.
使用时用力要平稳,以防脱落或者断裂,用戴手套的手保护卡簧断裂后伤人,戴好护目镜。

6、内卡簧钳(直头和弯头)
钳头可以插在卡簧两个孔里.然后扩大或缩小内径或外径。
使用时用力要平稳,以防脱落或者断裂,用戴手套的手保护卡簧断裂后伤人,戴好护目镜。

7、剥线钳
1、根据缆线的粗细型号,选择相应的剥线刀口
2、将准备好的电缆放在剥线工具的刀刃中间,选择好要剥线的长度
3、握住剥线工具手柄,将电缆夹住,缓缓用力使电缆外表皮慢慢剥落
4、松开工具手柄,取出电缆线,这时电缆金属整齐露出外面,其余绝缘塑料完好无损。

8、管钳
以摩擦力和两边的夹住所产生的力,对水管,钢管起到固定作用坚固或拆卸金属管和其他圆柱形零件,为管路安装和修理工作常用工具。


9、水泵钳

三、扳手类
1、活络(活动)扳手:
活动扳手主要是用于旋紧六角形、正方形螺钉和各种螺母的工具。采用工具钢、合金钢或可锻铸铁制成。一般分为通用的、专用的和特殊的三大类。

使用时应根据螺钉、螺母的形状、规格及工作条件选用规格相适应的活动扳手去操作。
活动扳手:由扳手体、固定钳口、活动钳口及蜗杆等组成活动扳手是通用扳手。它的开口尺寸可在一定的范围内调节,所以在开口尺寸范围内的螺钉、螺母一般都可以使用。但也不可用大尺寸的扳手去旋紧尺寸较小的螺钉,这样会因扭矩过大而使螺钉折断;应按螺钉六方头或螺母六方的对边尺寸调整开口,间隙不要过大,否则将会损坏螺钉头或螺母,并且容易滑脱,造成伤害事故;应让固定钳口受主要作用力,要将扳手柄向作业者方向拉紧,不要向前推,扳手手柄不可以任意接长,更不应将扳手当锤击工具使用。
活动扳手:是由扳手体、固定钳口、活动钳口及蜗杆等组成。各种板手的加力方向是固定的,反向加力板口会向外张,所以加力时,须要确认扳手的加力方向。

活动扳手的开口宽度可在一定尺寸范围内进行调节,能拧转不同规格的螺栓或螺母。活动扳手适用于不同大小的螺栓螺母拆卸和安装;但是活动扳手的缺点就是使用不方便、费力、空间较小,工作时扳手不易打开、并且容易伤人和把螺栓角圆滑;活动扳手可以方便地调整扳手使用角度。这种扳手用于螺丝的松紧操作,具有适用性强,适用于户外携带使用等特点。
使用时,应将钳口调整到与螺栓或螺母的对边距离同宽,并使其贴紧,让扳手可动钳口承受推力,固定钳口承受拉力。扳手长度有100毫米、150毫米、200毫米、250毫米、300毫米、375毫米、450毫米、600毫米几种。
活络扳手的使用方法及注意事项
1)、活络扳手的开口尺寸能在一定范围内任意调节。
2)、限于拆装开口尺寸限度以内的螺栓、螺母,特备对不规则的螺栓、螺母,更能发挥作用。
3)、不可用于拧紧力矩较大的螺栓、螺母,以防损坏扳手活动部分。

2、套筒扳手
套筒扳手是用盒装的,小型套筒扳手20件一盒,有4, 4.5, 5, 5.5, 6, 6.5, 7, 8, 10, 11, 12, 13,14, 17, 19, 加附件
普通套筒扳手32件一盒,有8, 9, 10, 11, 12, 13, 14, 15, 16, 17, 18, 19,20, 21, 22, 23, 24, 26, 27, 28, 30, 32. 加附件
套筒是指套筒扳手的简称。上紧或卸松螺丝的一种专用工具。它有数个内六棱型的套筒和一或几个个上套筒的手柄构成,套筒的内六棱根据螺栓的型号依次排列,可以根据需要选用

使用场合:用于拧紧或拧松扭力较大的或头部为特殊形状的螺栓、螺母。
1)根据作业空间集扭力要求的不同选用接杆及合适的套筒进行作业。
2)使用时注意套筒必须与螺栓或螺母的形状与尺寸相适合,一般不允许使用外接加力装置。
3、内六角(六棱、六方)扳手
内六角扳手:成L形的六角棒状扳手,专用于拧转内六角螺钉。英制和公制两种类型,需要换算尺寸。

1)、用于拧紧或拧松标准规格的内六角螺栓。
2)、拧紧或拧松的力矩较小。
3)、内六角扳手的选取应与螺栓或螺母的内六方孔相适应,不允许使用套筒等加长装置,以免损坏螺栓或者扳手。
4、开口(叉口、呆)扳手
1).开口扳手
1.1 开口扳手:又称为呆扳手。
1.2 开口宽度6~24毫米范围内有6件、8件两种。适用于折装一般标准规格的螺栓和螺母。

能用套筒扳手的地方不用梅花扳手,但需要有足够的空间;能用梅花扳手的地方不用开口扳手,但需要套进去才能拧螺丝;尽量不用活动扳手。前面的扳手防滑性能好,力矩比较大,后面的扳手比较灵活,但不能用在特别重要的地方像缸盖螺丝等....。
在使用开口板手拧动螺栓或螺母时,不得把开口板手的吃力方向弄反。如果反方向用力地拧动,很可能把开口扳手的开口拉开,使开口扳手损坏。除此之外,不得用开口钳拆装螺丝钉或螺母。只能是拧紧螺栓,另一个方向只能是拧松螺栓。如果是反方向地拧紧螺栓,很容易损坏开口扳手的开口。呆扳手使用时应使扳手开口与被旋拧件配合好后再用力,如接触不好时就用力容易滑脱,使作业者身体失衡。
开口扳手的使用方法
1)、扳口大小应与螺栓、螺母的头部尺寸一致,如图1.3:
2)、扳口厚的一边应置于受力大的一侧,如图1.3:
3)、扳动时以拉动为好,若必须推动式,以防止伤手,可用手掌推动,如图

开口扳手的使用注意事项
1、多用于拧紧或拧松标准规格的螺栓或螺母;
2、不可用于拧紧力矩较大的螺母或螺栓;
3、可以上、下套入或者横向插入,使用方便。
5、梅花扳手:
梅花板手的转角较小,可用于只有较小摆角的地方(只需转过板手1/2的转角)由于接解面大,无受力方向,可用于强力拧紧。且两端具有带六角孔或十二角孔的工作端,适用于工作空间狭小,不能使用普通扳手的场合。梅花扳手广泛用于拆卸和紧固螺栓,在拆卸和安装螺栓时,应将扳手垂直于螺栓拆卸和安装,如果扳手放的过于不平,则容易损坏螺栓甚至会伤到操作人员,在使用中要牢记紧固螺栓时,用右手握住扳手后端,左手按住螺栓方向的扳手头,施加拉力或推力,拆卸与紧固螺栓方向相反,左手保持扳手垂直于螺栓,右手手指伸开,使用掌心推拉扳手。

1) 梅花扳手:适用于折装5~27毫米范围的螺栓或螺母。每套梅花扳手有6件和8件两种。
2)梅花扳手两端似套筒,有12个角,能将螺栓或螺母的头部套住,工作时不易滑脱。有些螺栓和螺母受周围条件的限制,梅花扳尤为适用。
梅花扳手的使用方法
1)、适用狭窄场合的操作,扳手扳动30°后,则可更换位置。
2)、使用时,可将螺栓或者螺母的头部全部围住,不易脱落,安全可靠。
3)、与呆扳手相比,拧紧或拧松力矩较大,但受空间的限制也较大。
6、梅花-开口扳手
一端是呆扳手,另一端是梅花扳手,两端规格是相同的。用途都是拆卸和紧固螺栓螺母,这类工具的使用与梅花和开口扳手基本相同,但它的另一头是开口扳手,可以用来拆卸梅花扳手由于空间过小无法拆卸的螺栓螺母比较方便。


7、敲击扳手
敲击扳手属于特种扳手类,敲击梅花扳手(又称为敲击十二角扳手、梅花敲击扳手)、敲击呆扳手是由45号中碳钢或合金钢整体锻造制成。是设备安装、设备检修、维修工作中的必需工具。主要用来紧固、拆卸扭矩较大的螺栓或螺母,敲击扳手具有抗打击能力强,不易折断、牢固耐用、使用保管方便等特点。根据螺栓的大小选择相对应的敲击扳手,将扳手平放在螺栓或螺母上卡好,使用榔头敲击扳手另一端,使扳手转动,达到螺栓或螺母松动的目的,也可以用钢管加长力臂或进行敲击、锤击,轻松拧紧或拆卸大型螺母,敲击扳手的规格分为公制和英制两种。
注意事项:防止在敲击过程中榔头和扳手滑脱伤害人体和设备。

四、敲击类
1、手锤
1)手锤,由锤头和手柄组成。锤头重量有0.25千克、0.5千克、0.75千克、1千克等。锤头形状有圆头和方头。手柄用硬杂木制成,长一般为320~350毫米。
2)手锤主要用于敲击工件,使工件变形、位移、振动,也可以用于工具的校正、整形。

手锤的使用方法
1)敲击时,右手握住锤柄后端约10mm处,握力适度,眼睛注视工件,如图所示:

2)手柄应安装牢固,用楔塞牢,防止锤头飞出伤人。
3)拆卸零件时,禁止直接敲击表面或者易损部位,以防止出现表面破坏或者损伤。
4)锤头应平整地打在工件上,不得歪斜,防止破坏工件表面形状,如图:

2、錾(Zhan) 子
通过凿、刻、旋、削加工材料的工具,具有短金属杆,在一端有锐刃
用锤子打击錾子对金属工件进行切削加工的方法,叫錾削。
工作范围主要是去除毛坯上的凸缘、毛刺、分割材料、錾削平面及油槽等,经常用于不便于机械加工的场合。
钳工常用錾子:扁錾、尖錾、油槽錾。

3、凿子
塑胶和木头制品打眼、挖槽等,一般机械维修用不到凿子。
使用凿子打眼方法:一般左手握住凿把,右手持斧,在打眼时凿子需两边晃动,目的是为了不夹凿身,另外需把木屑从孔中剔出来。半榫眼在正面开凿,而透眼需从构件背面凿一半左右,反过来再凿正面,直至凿透。

4、冲子
打孔、打眼
顶出销子、小部件

铜棒
使用场合:主要用于敲击不允许直接接触的工件表面,不得用力太大。
使用时,一般和手锤共用,一手握住铜棒,一手用手锤锤击铜棒另一端。
使用时,不可代替锤子和撬棍使用。

五、其它类
1、撬棍
使用场合:用于撬动旋转件或撬开结合面,也可以用于工件的整形。
使用时以撬棍上的某点为支点,在撬棍一端加力使另一端的物体绕支点旋转并撬起。
不可以代替铜棒使用,不可用于软材质结合面。

2、手锯
手锯是手工锯割的主要工具,可用于锯割零件的多余部分,锯断机械强度较大的金属板、金属棍或塑料板等。手锯由锯条和锯弓组成。锯弓用以安装并张紧锯条,由钢质材料制成。锯条也用钢质材料制成,并经过热处理变硬。锯条的长度以两端安装孔的中心距离来表示,我们常用的是300mm的一种。锯条的锯齿有粗细之分,通常以每25mm长度内的齿数来表示,有14、18、24和32等几种。

锯条的安装,应使齿尖朝着向前推的方向。锯条的张紧程度要适当。过紧,容易在使用中崩断;过松,容易在使用中扭曲、摆动,使锯缝歪斜,也容易折断锯条。握锯一般以右手为主,握住锯柄,加压力并向前推锯;以左手为辅,扶正锯弓。根据加工材料的状态(如板料、管材或圆棒),可以做直线式或上下摆动式的往复运动,向前推锯时应均匀用力,向后拉锯时双手自然放松。快要锯断时,应注意轻轻用力。
对于锯的使用来说,要看:
①不同的加工对象,如何选择不同的锯;
②锯割的准确性如何;
③如何正确固定被锯割的零件
手锯锯条多用碳素工具钢和合金工具钢制成,并经热处理增加硬度。手锯在使用中,锯条折断是造成伤害的主要原因。

手锯使用中应注意:
①应根据所加工材料的硬度和厚度去正确的选用锯条;锯条安装的松紧要适度,根据手感应随时调整。
②被锯割的工件要夹紧,锯割中不能有位移和振动;锯割线离工件支承点要近。
③锯割时要扶正锯弓,防止歪斜,起锯要平稳,起锯角不应超过15º,角度过大时,锯齿易被工件卡夹。
④锯割时,向前推锯时双手要适当的加力;向后退锯时,应将手锯略微抬起,不要施加压力。用力的大小应根据被割工件的硬度而确定,硬度大的可加力大些,硬度小的可加小些。
⑤安装或调换新锯条时,必须注意保证锯条的齿尖方向要朝前;锯割中途调换新条后,应调头锯割,不宜继续沿原锯口锯剖;当工件快被锯割下时,应用手扶住,以免落下伤脚。
3、拉马
•bearing puller
轴承拉出器, 轴承拆卸工具
轮子拉出器具;例如皮带轮、链轮、等等
拉马是使轴承与轴相分离的拆卸工具。使用时用三个抓爪勾住轴承,然后旋转带有丝扣的顶杆,轴承就被缓缓拉出轴了。

外拉马
常见应用场合:轴和杆、片、轮、轴承

分体拉马
常见应用场合:轴和杆、片、轮、轴承
步骤:分割刀分割,拉马拉出

内拉马
常见应用场合:轴和杆、片、轮、轴承
步骤:内部撑紧,拉出部件

拉马使用要点

4、锉刀
锉手工工具 条形 多刃 主要用于对金属 木料 皮革等表层做微量加工。按横截面的不同可分为扁锉 圆锉方锉 三角锉 菱形锉 半圆锉 刀形锉等,也叫锉刀。锉 锉刀 钢锉 为同一产品。
钢锉
钢锉和锉刀一样大致可分为普通锉、特种锉和整形锉(什锦锉)三类。
普通锉按锉刀断面的形状又分为平锉、方错、三角锉、半圆锉和圆锉五种,平锉用来锉平面、外圆面和凸弧面;方锉用来锉方孔、长方孔和窄平面;三角锉用来锉内角、三角孔和平面;半圆锉用来锉凹弧面和平面;圆锉用来锉圆孔、半径较小的凹弧面和椭圆面。
特种锉用来锉削零件的特殊表面,有直形和弯形两种。
整形锉(什锦锉)适用于修整工件的细小部位,有许多各种断面形状的锉刀组成一套

挫刀是用高碳钢T13或T12制成的,淬火后的硬度很强。挫刀分为普通挫、特种挫和整形挫三类。普通挫又分为平挫、方挫、圆挫、半圆挫和三角挫等;特种挫分直挫和弯挫等;整形挫俗称组挫,由许多各种形状和断面的挫刀组成一套。还有粗挫刀、细挫、双细挫刀和油光挫刀。
挫刀的安全使用注意事项:
①挫刀必须装柄才能使用,否则挫刀的尾尖有可能扎伤手及手腕或身体的其他部位。
②要正确的使用挫刀。一般用右手握紧挫柄,左手握住或扶住挫刀的前边,两只手均匀用力,推进挫刀;断面比较小的挫刀在使用时,施力不要过大,以免使挫刀折断;挫削速度不要过快,一般在每分钟20~60次为宜。
③挫刀和挫柄上防止油脂污染,正在挫削的工件表面也不宜被油脂污染。防止挫刀打滑,造成事故。
④挫削时不要用嘴吹铁屑,防止铁屑飞进眼内;也不要用手去清除铁屑,以防铁屑扎破手指和手掌,应该使用刷子清扫除掉。
⑤挫刀用后,应妥善放置,不应重叠摆放,以免损坏挫齿;放在操作台上时,不要露出台面,防止掉下伤脚。
⑥严禁将挫刀做其他工具使用,不能当扁铲、撬棍使用,防止折断伤人。
5、丝锥和扳牙
丝锥和扳牙是切削内外螺丝的工具。一般用工具钢或高速钢制作,并经热处理淬火硬化。丝锥分为手用丝锥和机用丝锥二种;扳牙有圆扳牙和圆柱管螺纹扳牙。
攻丝和套丝应注意:
①攻丝时端面孔口要倒角;丝锥要与工件的孔同轴;攻丝开始时应施加轴向压力,使丝锥切入,切入几圈之后就不再需要施加轴向力。
②当丝锥校准部分进人螺孔后,每正转半圈到一圈就要退回1/4,1/2圈,使切屑碎断后再往下攻;攻下通孔时,要经常退出丝锥进行排屑。
③在钢类工件上攻丝时要加切削液在铸铁工件上攻丝时,可加少许煤油;用了头攻后,再用二攻、三攻时,必须将丝锥旋入螺孔。
④套丝时工件端部要倒角,扳牙端面应与工件轴线垂直;套丝开始时要施加轴向压力,转动压力相应的要大一些;当扳牙在工件上切出螺纹时,就不要再加压力。
⑤套丝时为使切屑碎断,排出及时,应经常的反转扳牙。
⑥工件应牢固地固定在夹、卡具上;当丝锥折断时,不要用手去触摸折断处,用夹钳、錾子或样冲剔出断丝时必须要戴好防护镜。

6、剪刀
剪切刀是用两个斜形刀刃相对运动,对薄板材料进行成形和切割用的刀具。
应根据被剪材料的厚度及工件的形状选用相应规格的剪切刀。以防剪切刀由于超负荷工作而崩刃。一般剪切直的、弯度不大的、短的切口,可使用直口手工剪;剪切直的、长的工件可用直通剪;剪切内曲线应用孔剪;剪切厚度大的应用手动机器剪。

7、手动葫芦
手动葫芦分为手扳葫芦、手拉葫芦两种。
手扳葫芦是通过人力扳动手柄借助杠杆原理获得与负载相匹配的直线牵引力,轮换地作用于机芯内负载的一个钳体,带动负载运行。它具有结构紧凑、重量轻、外形尺寸小、携带方便、安全可靠、使用寿命长、手扳力小、对钢丝绳磨损小等优点。它可以进行提升、牵引、下降、校准等作业。若配置特殊装置,不但可以作非直线牵引作业,而且可以很方便的选择合适的操作位置,或以较小吨位的机具成倍地扩大其负载能力,对于较大吨位负载可以采用数个机具并列作业。

8、千斤顶
1)千斤顶有螺旋千斤项、液压千斤顶和液压举升器。常用液压千斤顶斤顶的举升力为3吨、5吨、8吨等。
2)液压千斤顶用于举升重物。其结构由顶块、螺旋杆、贮油筒、油缸、摇动手柄、压油柱塞、柱塞筒、进出油阀、油阀、螺塞和壳体等组成。

9、黄油枪
黄油枪用于各润滑点加注润滑脂,由油嘴、压油阀、柱塞、进油孔、杆头、杠杆、弹簧、活塞杆等组成。
使用黄油枪时,将润滑脂小团小团地装入贮油筒,排除空气。装潢后,拧紧端盖即可使用。对油嘴加注润滑脂时,应对正油嘴,不得歪斜。若不进油,应停止注油,检查油嘴是否堵塞。

10、水平仪(Levels)
水平仪用于测量小角度,在生产过程中常用以检验和调整机器或机件的水平位置或垂直位置,进而可对机器或机件作真直度或真平度的检验工作工业界常用气泡水平仪或电子水平仪等二种

11、游标卡尺

12、万用表

万用表是一种多功能、多量程的测量仪表,一般可用于测量直流电流、直流电压、交流电压、电阻和、电容量、、及半导体的一些参数等。
万用表的结构如下图所示:

个别的功能键说明
转换开关
其作用是用来选择各种不同的测量线路,以满足不同种类和不同量程的测量要求。转换开关一般有两个,分别标有不同的档位和量程。
符号含义
(1)∽ 表示交直流
(2) V-2.5KV 4000Ω/V 表示对于交流电压及2.5KV的直流电压挡,其灵敏度为4000Ω/V
(3)A-V-Ω 表示可测量电流、电压及电阻
(4)45-65-1000Hz 表示使用频率范围为1000 Hz以下,标准工频范围为45-65Hz
(5)2000Ω/V DC 表示直流挡的灵敏度为2000Ω/V
万用表的使用
(1)熟悉表盘上各符号的意义及各个旋钮和选择开关的主要作用。
(2)进行机械调零。
(3)根据被测量的种类及大小,选择转换开关的挡位及量程,找出对应的刻度线。
(4)选择表笔插孔的位置。
使用注意事项
1)如果无法预先估计被测电压或电流的大小,则应先拨至最高量程挡测量一次,再视情况逐渐把量程减小到合适位置。完毕,应将量程开关拨到最高电压挡,关闭电源.
2)满量程时,仪表仅在最高位显示数字“1”,其它位均消失,这时应选择更高的量程。
3)测量电压时,应将数字万用表与被测电路并联。测电流时应与被测电路串联,测直流量时不必考虑正、负极性。
4)当误用交流电压挡去测量直流电压,或者误用直流电压挡去测量交流电压时,显示屏将显示“000”,或低位上的数字出现跳动。
5)禁止在测量高电压(220V以上)或大电流(0.5A以上)时换量程,以防止产生电弧,烧毁开关触点。
6)当显示“BATT”或“LOW BAT” 时,表示电池电压低于工作电压。
13、电钻
电钻可区分为3类:手电钻、冲击钻、锤钻。
1)手电钻:功率最小,使用范围仅限于钻木和当个电动改锥用,不具有太大的实用价值,不建议购买。
2)冲击钻:可以钻木、钻铁和钻砖,但不能钻混凝土,有的冲击钻上说明了可钻混凝土,其实并不可行,但对于钻瓷砖和砖头外层很薄的水泥是绝对没有问题的。
3)锤钻(电锤):可在任何材料上钻洞,使用范围最广。

手枪钻
1、使用手电钻时,首先到工具库领取电钻及橡皮手套,然后找电工接线,严禁私自乱接。
2、电钻外壳必须有接地线或者接中性线保护。
3、电钻导线要保护好,严禁乱拖防止轧坏、割破。更不准把电线拖到油水中,防止油水腐蚀电线。
4、使用时一定要带胶皮手套,穿胶皮鞋。在潮湿的地方工作时,必须站在橡皮垫或干燥的木板上工作,以防触电。
5、使用当中如发现电钻漏电、震动、高热或有异声时,应立即停止工作,找电工检查修理。
6、钻未完全停止转动时,不能卸、换钻头。
7、停电、休息或离开工作地时,应立即切断电源。
8、如用力压电钻时,必须使电钻垂直工件,而且固定端要特别牢固。
9、胶皮手套等绝缘用品,不许随便乱放。工作完毕时,应将电钻及绝缘用品一并放到指定地方。

角磨机
电动角向磨光机就是利用高速旋转的薄片砂轮以及橡胶砂轮、钢丝轮等对金属构件进行磨削、切削、除锈、磨光加工


使用手电钻和手提电动砂轮时,要符合下列要求:
1)认真检查电源线,无破皮、漏电现象,接地线要保证安全,操纵开关应灵敏可靠。
2)使用电钻、砂轮时,要戴绝缘手套并采取必要的安全措施(如在干燥的木板或橡皮上操作);雨天禁止在室外作业。
3)工作场地停电或离开工作岗位时,应及时切断电源。
4)钻孔时,钻头与工作物应保持垂直;当孔快钻透时,应降低压力,以避免折断钻头或发生事故。
5)使用手提电动砂轮时,应有防护罩,并要仔细检查砂轮有无裂纹和损伤,经空运转无不正常现象时,方可使用。
6)要按被加工件的材质,正确选择砂轮。砂轮磨损后,出现不圆或表面不平时,要进行砂轮修整,当磨损到一定程度(一般当砂轮直径大于夹板直径20~30mm),即应换掉。
7)装砂轮时,砂轮孔要与轴很好配合,孔的两端面应平整,两端夹板不应小于砂轮直径的一半,并垫以软的垫片。
8)用砂轮磨削操作时,应使砂轮缓慢的接触工作物,不能猛烈碰撞,以免出现事故。