有哪些方向控制阀的操作方式 (方向控制阀怎么判断几通)

方向控制阀的五种操作方式,方向控制阀怎么判断几通

今天为大家带来的是方向控制阀,喜欢我们的朋友请点击右上角关注我们哦,天天都有新知识点!

方向控制阀简称方向阀,主要用来通断油路或切换油流的方向,以满足对执行元件的启、停和运动方向的要求。按其用途可分为两大类:单向阀和换向阀。

(1)单向阀

单向阀又称止回阀,它的功用是使油液只能单向流过。根据阀芯结构不同,单向阀可分为球阀式和锥阀式两种。图5—1所示出为两种单向阀的结构及单向阀的符号。球阀式阀芯结构简单,但容易因摩擦而使密封性变差,只用于低压场合。锥阀式应用较多,且密封性较好。根据阀中通道情况,又可分为直通式和直角式。直通式液流阻力小,更换弹簧也较方便,一般采用管式连接;而直角式则即可采用管式连接。又可采用板式连接或法兰连接。

单向阀中弹簧的主要作用是在没有油流通过或油液倒流时可帮助阀迅速关闭。但它同时也增加阀开启时的阻力,并成为油液流过单向阀时产生压力损失的主要部分。在不影响阀灵敏可靠的同时,就应把弹簧做得软些。’一般单向阀开启压力是0.035~0.05MPa,全部流量通过时的压力损失大约是0.1~0.3MPa。

方向控制阀的五种操作方式,方向控制阀怎么判断几通

图5—1单向阀

1—阀体;2—弹簧;3—阀芯;4—阀座

(要求:动画显示两种单向阀正向导通,反向截至的工作过程,动画可参见第五章动画资源“5-1直通式单向阀(动画按钮可去掉)及5-2直角式单向阀”)

在某些场合,需要单向阀允许油流反向通过,这时即采用液控式单向阀。液控式单向阀结构和符号如图5—2所示。它主要由直角单向阀和控制活塞两部分组成。当下盖7上的控制油口元压力油时,它仅是一个普通单向阀,只允许油液从A流向B;当控制油口通人压力油时,则控制活塞就被顶起,通过顶杆使阀芯1强制打开,允许油液由B向A反向流过。

方向控制阀的五种操作方式,方向控制阀怎么判断几通

图5—2液控单向阀

1—单向阀阀芯;2—弹簧;3—上盖;4—阀体;5—单向阀阀座;6—控制活塞;7—下盖

(二)换向阀

换向阀的作用是利用阀芯和阀体的相对运动来接通、关闭油路或变换油液通向执行元件的流动方向,以使执行元件启动、停止或变换运动方向。

(1)换向阀分类

换向阀按结构分有转阀式和滑阀式;按阀芯工作位置数分有二位、三位和多位等;按进出口通道数分有二通、三通、四通和五通等;按操纵和控制方式分有手动、机动、电动、液动和电液动等;按安装方式分有管式、板式和法兰式等。

①转阀

图5—3所示为转阀式换向阀的换向原理和图形符号图。它变换油液的流向是利用阀芯相对阀体的旋转来实现的。此阀有三个工作位置,四个通口,且为手动操纵,故称作三位四通转阀式手动换向阀。转阀的密封性能较差,径向力又不平衡,一般用于低压、小流量的系统中。

方向控制阀的五种操作方式,方向控制阀怎么判断几通

图5—3转阀换向原理

②滑阀

图5—4所示为滑阀式电磁换向阀的换向原理及相应的图形符号图。它变换油液的流动方向是利用阀芯相对阀体的轴向位移来实现的。换向阀变换左、右位置,即使得执行元件变换了运动方向。此阀因有两个工作位置,四个通口,阀芯靠电磁铁推力实现移动,所以称作二位四通滑阀式电磁换向阀。

方向控制阀的五种操作方式,方向控制阀怎么判断几通

图5—4二位四通电磁换向阀原理图

(2)换向阀的“位”与“通”

位:指阀相对于阀体停留的工作位置数,用图形符号表示即为实线方框。

通:指阀连接主油路的通口数。用职能符号表示。

图5—5列出了几种换向阀(滑阀式)的结构原理图及相应的职能符号。换向阀主要由阀体及阀心等组成,阀体内具有几条环形通道,阀心上有几个台肩与之相配合,以使某些通道连通,而另一些通道被封闭。当阀心在阀体内作轴向移动时,可改变各通道之间的连通关系。从而改变液流通过阀后的方向。

方向控制阀的五种操作方式,方向控制阀怎么判断几通

图5—5换向阀的工作原理

a)二位二通换向阀;b)二位三通换向阀;c)三位三通换向阀;d)二位四通换向阀;

e)三位四通换向阀

(3)滑阀的操纵方式

常见的滑阀操纵方式示于图5-6中。

方向控制阀的五种操作方式,方向控制阀怎么判断几通

图5—6滑阀的操纵方式

(a)手动式;(b)机动式;(c)电磁动(;d)弹簧控制;(e)液动;(f)液压先导控制;(g)电液控制

(4)液压卡紧现象

由于滑阀式换向阀阀芯与阀体孔的加工误差或装配时中心线不重合,进入滑阀配合间隙中的压力油将对阀芯产生不平衡的径向力,而使阀芯的偏心加大,最终使阀芯紧贴在孔壁上,使得操纵滑阀运动发生困难,甚至卡死,这种现象称作液压卡紧。下图5—7是液压卡紧原理图。

方向控制阀的五种操作方式,方向控制阀怎么判断几通

图5—7液压卡紧原理

(5)换向阀的中位机能

三位换向滑阀的左、右位是切换油液的流动方向,以改变执行元件运动方向的。其中位为常态位置。利用中位P、A、B、T间通路的不同连接,可获得不同的中位机能以适应不同的工作要求。表5-2所示为三位换向阀的各种中位机能以及它们的作用、特点。

表5—2三位换向阀的中位机能

(6)典型换向阀的示例

①手动换向阀

图5-8(b)为自动复位式手动换向阀,放开手柄1、阀芯2在弹簧3的作用下自动回复中位,该阀适用于动作频繁、工作持续时间短的场合,操作比较完全,常用于工程机械的液压传动系统中。

如果将该阀阀芯右端弹簧3的部位改为可自动定位的结构形式,即成为可在三个位置定位的手动换向阀。图5-8(a)为职能符号图,(b)为结构示意图

方向控制阀的五种操作方式,方向控制阀怎么判断几通

图5—8手动换向阀

(a)职能符号图 (b)结构图

1—手柄;2—阀芯;3—弹簧

②机动换向阀

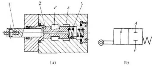
图5-9所示为二位二通机动换向阀的结构和图形符号图。它是靠挡铁(图中未示出)接触滚轮l将阀芯压向右端,又当挡铁脱离滚轮时阀芯在弹簧作用下回到原位来实现换向的。

方向控制阀的五种操作方式,方向控制阀怎么判断几通

图5—9机动换向阀

③电磁换向阀

图5—10为二位三通板式交流电磁换向阀的结构和图形符号图。当电磁铁通电时,即推动推杆将阀芯顶向右端;又当电磁铁断电时,阀芯在弹簧的作用下回到左端,从而实现了油路的换向。

方向控制阀的五种操作方式,方向控制阀怎么判断几通

图5—10二位三通电磁换向阀

图5-11所示为35D-25B型三位五通板式交流电磁换向阀的结构和图形符号图。当左、右电磁铁均断电时,其阀芯在两端弹簧的作用下处于中位(图示位置);当左电磁铁通电时,即推动推杆将阀芯顶向右端;当右电磁铁通电时,即推动推杆将阀芯顶向左端,从而实现了油路的换向。

方向控制阀的五种操作方式,方向控制阀怎么判断几通

图5—11三位五通电磁换向阀

④液动换向阀

图5-12所示为液动换向阀的结构图和图形符号图。当控制油口K1、K2均无控制压力油通入时,阀芯在两端弹簧作用下处于中位(图示位置);当K1通入控制压力油、K2通回油时,阀芯在液压力作用下克服右端弹簧力移向右端;反之,当K2通控制压力油、K1通回油时,阀芯被推向左端,从而实现了油路的换向。

方向控制阀的五种操作方式,方向控制阀怎么判断几通

图5—12三位四通液动换向阀

⑤电液动换向阀

图5-13所示为电液换向阀的结构图和图形符号图。当电磁阀左端电磁铁通电时,电磁阀阀芯被推向右端(左位接通),控制压力油通过电磁阀流入液动阀阀芯的左端,推动液动阀阀芯向右移动,其右端的油液经电磁阀回油箱,此时主油路P口与A口接通,B口与T口接通。反之,电磁阀右端电磁铁通电时,控制压力油经电磁阀进入液动阀阀芯的右端,推动液动阀阀芯向左移动,其左端油液经电磁阀回油箱,使主油路P口与B口接通,A口与T口接通。如电磁阀左、右电磁铁均断电,则电磁阀阀芯处于中位,控制压力油被阻断,不能进入液动阀,且因电磁阀的中位机能为Y型特性,使液动阀两端的油液均经电磁阀中位泄回油箱,因此液动阀也在其两端弹簧的作用下处于中位,主油路P、T、A、B口均不相通。

方向控制阀的五种操作方式,方向控制阀怎么判断几通

方向控制阀的五种操作方式,方向控制阀怎么判断几通

图5—13三位四通电液换向阀

滑阀机能

符号

中位油口状况、特点及应用

O型

P、A、B、T四油口全封闭,液压缸闭锁;可用于多个换向阀的并联工作

H

四油口全串通;活塞处于浮动状态,在外力作用下可移动;泵卸荷

Y

P口封闭,A、B、T三油口相通;活塞浮动,在外力作用下可移动;泵不卸荷

K

P、A、T三口相通,B口封闭;活塞处于闭锁状态;泵卸荷

M

P、T口相通,A、B口均封闭;活塞不动;泵卸荷,也可用多个M型换向阀并联工作

X

四油口处于半开启状态,泵基本上卸荷,但仍保持一定压力

P

P、A、B三油口相通,T口封闭;泵与缸两腔相通,可组成差动回路

J

P与A口封闭,B与T口相通,活塞停止,外力作用下可向一边移动;泵不卸荷

C

P与A口相通,B与T口皆封闭;活塞处于停止位置

N

P和B口皆封闭,A与T口相通;与J型换向阀功能相似,只是A与B口互换了,功能也类似

U

P和T口均封闭,A与B口相通;活塞浮动,在外力作用下可移动;泵不卸荷