东方网·纵相新闻记者 贾天荣
在当下对外卖平台的讨论不断发酵之际,外卖骑手的安全问题又为众人所关注。
在马路上的我们总是会为那些争分夺秒却无视交通规则的外卖骑手捏把汗,偶尔也会被突然从身边蹿出来的外卖骑手吓出一身冷汗。
近日,赵女士告诉东方网·纵相新闻,其弟弟在今年8月送美团外卖的过程中被货车撞倒,当场身亡。家人认为这属于工伤,但因没有与美团签订劳务合同,家里人现在无法确定劳动关系以及进行工伤鉴定。

(图片来源网络)
专业律师告诉记者,外卖员不属于外卖公司是很正常的事,就此事而言美团无需承担责任。而对外卖平台用工该如何监管,目前还没有明确规定。
送单途中遇车祸,家属被告知不是平台员工
赵女士表示,两年前,弟弟赵帅(化名)通过"美团众包"APP注册成为外卖骑手,今年8月22日中午,赵帅在送餐过程中与一辆货车在北京大兴某路口被一辆货车撞倒,死亡证明显示赵帅系创伤性休克及颅脑损伤导致的死亡,尸检报告显示其无饮酒无吸毒。
据家属称,交警监控系统显示,交通事故发生时,赵帅驾驶电动车在机非混合、没有红绿灯的十字路口相撞:"因为没有红绿灯,我们自己也没办法预判事故责任,只能等交警认定的结果,该怎么判定就怎么判定。"据警方表示,等待事故责任认定大概需要40天。

(图源:受访者微博)
在等待事故责任认定的过程中,家属却对另一件事情感到不解。赵女士认为,弟弟赵帅送的是美团外卖,应该属于美团的实际用工,在工作过程中发生意外,应该进行相应的工伤鉴定。但家属致电美团客服却被告知,赵帅并未与美团签订劳动合同,不属于美团的员工,应该找与他签订协议的劳务公司。
随后,家属联系了美团客服提供的相关劳务公司电话,得到了回应:"劳务公司说他们帮我们催保险,骑手自己每天扣三块钱上的意外险,其他事情他们一概不谈。"
赵女士告诉记者,弟弟在出车祸时没有佩戴头盔,家属认为这也与雇佣方有关系:"我弟弟送外卖以后,他们没有提供相应的劳动保障产品,安全帽什么都要骑手自己买。"
让家属疑惑的是,为什么赵帅明明送的是美团外卖,却不属于美团的实际用工?这是一种怎样的劳动关系?外卖员发生这样的不幸该找谁?又如何维权?
众包外卖员:门槛低,无保障
近日也有媒体报道介绍, 在美团、饿了么等外卖平台,骑手分为两类——专送与众包。
专送骑手的底薪、上下班时间、工作标准等都有所规定和保障。众包则是兼职骑手,准入门槛极低,他们没有底薪,可以自由抢单,可以拒绝系统派单,但多次拒绝会被限制抢单。
且在这其中,众包骑手的维权更为艰难。京师律师事务所律师许浩在接受媒体采访时表示,类似的案件不在少数。这种看似方便的用工方式,一旦出现纠纷,就成了难题。"出现事故,背后责任如何划分,目前仍属灰色地带。"
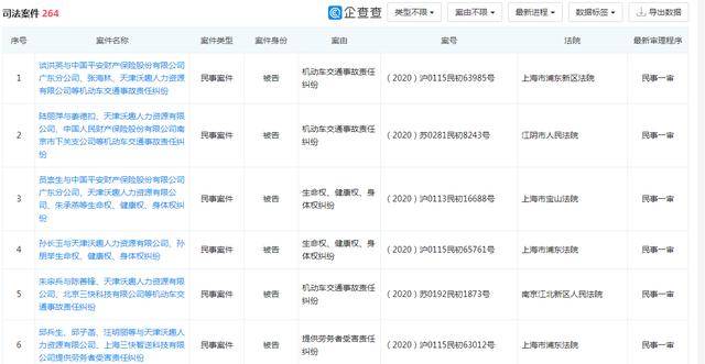
东方网·纵相新闻记者在"美团众包"APP上看到,用户通过上传身份证实名认证、学习配送知识等步骤后就可获得接单资格,此外还需同意《网约配送员协议》等条款,协议中写明配送员与"天津沃趣人力资源有限公司"共同签署协议并使用美团众包平台服务。

企查查显示,天津沃趣人力资源有限公司涉及多个机动车事故责任纠纷案件,多为众包外卖员在送餐过程中发生意外请求赔偿。

记者注意到,其中今年6月发生在江苏的一则案例中,外卖员吉某在配送过程中撞到吴某致其受伤,法院审理认定,吉某与沃趣公司签订劳务协议,并使美团众包平台服务。协议中明确双方系劳务关系,沃趣公司系劳务公司,吉某注册为众包员。
事故发生时,吉某在配送美团众包平台订单,系在执行工作任务,用人单位的工作人员因执行工作任务造成他人损害的,由用人单位承担侵权责任。事故发生时,吉某系执行工作任务,故应由沃趣公司承担赔偿责任。而这样的案例在其他与外卖平台签订的劳务公司中也不在少数。
律师:外卖员并非受雇于美团,美团无需承担责任
对于此事,北京中闻律师事务所合伙人张晓菊在接受东方网·纵相新闻采访时表示,就本案而言,美团及美团众包平台只是为具有配送需求的用户和配送服务提供方提供配送服务供需信息发布、展示、接单、完成、确认等信息、技术服务的信息平台的经营者,不参与送餐或快递服务的经营,外卖员工作并非受雇于这两个平台,故其无需承担任何的责任与义务。
江苏震宇震律师事务所律师张玉华告诉记者,外卖员和与之签订协议的公司属于劳动关系:"尽管他们签的是劳务协议,但是公司对外卖员有管理控制的权利,因此应属于劳动关系。在这种情况下,劳动者在执行工作任务遭受了人身损害,其所属的公司是要对其承担赔偿责任的,如果有确定的侵权人,那么责任的最终承受人为侵权人。"
张晓菊表示,赵帅通过美团众包平台注册成为众包员, 根据《网约配送员协议》可知,其已与天津沃趣人力资源有限公司建立了雇佣关系,他的安全应由雇佣单位来保障。
张晓菊认为,雇员在从事雇佣活动中遭受人身损害,雇主应当承担赔偿责任。根据相关法律规定,遇到事故,如果是第三人造成的,外卖员可以有选择权,既可以直接请求由第三人承担赔偿责任,也可以请求雇主承担赔偿责任。
外卖平台用工制度,尚处于监管真空
人社部数据显示,目前每天"跑在路上"的网约配送员已经达到百万级。今年2月,"网约配送员"正式成为新职业,纳入国家职业分类目录。
据央广网报道,商务部《网络交易服务规范》和工商总局《网络交易管理办法》中,都对电子商务平台提出了规范化要求。但现实状况是,在同业竞争的强压下,外卖平台只是在价格战上下功夫,而在缺少自律的氛围之下,不少外卖平台就乱了章法,甚至有的平台将责任推给消费者。

"目前,对于外卖平台用工的监管方面是比较欠缺的。"张玉华也表示,从法律上讲外卖员不属于美团公司是一件很正常的事情,美团完全可以将外卖业务委托给第三方公司去做,由第三方公司雇佣外卖员去送外卖,这无可厚非。"关键点在于美团这么做的时候是否将这件事让广大群众知道。"
张玉华认为,美团作为一家知名度很高的公司,不能排除部分外卖员选择送外卖是基于对美团的信任,也不能排除消费者对于外卖的信任度也是受到美团公司的影响。"在这种情况下倘若美团不把具体的事通过一定的方式让群众知情,那么对于外卖员与消费者来说是容易造成误会的。"
截至发稿前,美团回应东方网·纵相新闻称,已督促加盟商积极推进事件处理,切实保护骑手利益。
记者将持续关注此事。