“果小云旗舰店”在天猫认证公司北流市鑫果生态农业有限公司注册资金100万元,但北流市北部的山围镇李村是一个以种植百香果、番石榴为主的村庄,不产脐橙。
薅羊毛事件复盘!果小云店家哥哥回应争议:协商录音是被误导
“羊毛*党**”薅垮的天猫网店“果小云旗舰店”重新开张后,其所售脐橙大卖,月销3万余单。
与销量同时“收获“的,还有来自媒体和网友”营销炒作“的质疑。几经波折后,涉事网店于11月13日晚再度下架了其所有在售水果。
记者调查发现,“果小云旗舰店”在天猫认证公司北流市鑫果生态农业有限公司注册资金100万元,于10月25日刚变更了股东及法定代表人,由原来的练鸿南变更为覃艺和赵晓芳,二人各持股50%。

果小云旗舰店所属公司股东为赵晓芳、覃艺。
记者于11月10日前往北流市、玉林市等地进行实地调查,见到了该公司前负责人练鸿南。练鸿南表示,他此前用该公司信息注册了天猫网店,销售百香果、火龙果等;10月底,经朋友介绍,覃艺与赵晓芳从其手中接手了这家公司及对应注册的网店。
而覃艺一直以在四川发货忙碌为由,未进一步接受采访。一位自称是覃艺合伙人的张锋向澎湃新闻承认他们无自有脐橙果园,否认存在营销炒作。张锋称,网店的实际管理和运营是“小布和叔叔”,“覃艺是小布的表哥,他是小布的堂哥”。
此前“小布”以网店负责人身份曾在被“薅羊毛”后发布信息称,其与“叔叔”出身农村,凑钱开网店,“小布”负责操作店铺,“叔叔”负责采摘果子发货,并“跪下”向“羊毛*党**”求饶。
“小布和叔叔”是谁?张锋在电话中曾多次答应会让“小布”接受澎湃新闻采访,但截至记者发稿时仍未实现。“小布和叔叔”是否真实存在,仍是谜团。
但张锋和覃艺关系特殊,二人在多家电子商务公司、日用百货公司控股、担任法定代表人和高管。其中,覃艺在张锋控股的玉林市穿云电子商务有限公司中担任监事。
刚接手网店就被“薅垮”
被“羊毛*党**”薅垮后,“果小云旗舰店”重新开张,并上了新品,生意迎来大转折。
据其网店销售页面显示,此前疑似标错价格“26元4500斤”的脐橙,现售价每9斤28.8元,月销量已达3万余单。
截至11月13日晚,该店铺粉丝已逾7万,店铺群内聚集了400多的“支持者”。
而这家店的前身,并没有这么好的运气。练鸿南是“果小云旗舰店”的第二任店主,他今年3月从一位黎姓网店主处接手了这家网店。网店认证的北流市鑫果生态农业有限公司也同时变更了股东、法定代表人至练鸿南名下。

练鸿南家屋后的果园,多种植百香果和火龙果。澎湃新闻记者 李思文 摄
北流市北部的山围镇李村是一个以种植百香果、番石榴为主的村庄,不产脐橙。练鸿南家屋后有大片果园种植着百香果和火龙果。
11月10日,练鸿南在其家中告诉澎湃新闻,他接手网店后,主要经营自家种植的百香果、火龙果等水果,但因不太懂网络的运营,生意一直不好,还亏了些钱,就想将网店转让出去。

10月25日练鸿南将公司及淘宝店转让给覃艺、赵晓芳。
今年10月,经朋友介绍,他以十几万元的价格将网店转让给了覃艺和赵晓芳;10月25日,正式变更了工商登记信息。练鸿南只知道覃艺和赵晓芳是玉林市人,在做网店生意,家中没有果园。
未料五天后,11月1日,练鸿南的手机号被“打爆”了,一天上百个电话。
“最开始是有人打电话提醒我,说你网店的订单设置错了,赶紧修改,要不然就亏大了,我当时还觉得很奇怪,因为这个网店我在10月的时候就转手出去了。”练鸿南说。
“有人过来催单、有人维权。“练鸿南拿出手机给澎湃新闻记者看,为了不被骚扰,他给每一个联系的人都发去了一段解释的话,并附上了覃艺的电话。
事后,练鸿南才发现,覃艺在接手其网店后,没有修改原有店铺信息,以致被“羊毛*党**”薅时,大量的订单信息、咨询、维权电话涌向了他。练鸿南说,事后他曾联系过覃艺,但对方表示没来得及修改。
吊诡的是,事发多日之后,截至发稿,该网店认证公司地址、电话等信息仍为练鸿南的信息。
神秘的“小布”和果园
在被“薅羊毛”后,“果小云旗舰店”下架所售脐橙,发布“对不起,我真的累了”一文,迅速引发关注。
自称店铺负责人的“小布”当时称:“果小云旗舰店就两位人员,一位是我,负责操作店铺,一位是叔叔负责摘果子打包发货,我跟叔叔都是农民出身,生在农村,长在农村。果小云旗舰店是我跟叔叔俩凑钱开的店,我俩的命根子……”
此事经媒体报道后,便得到网友声援,引发对“羊毛*党**”的批判。疑带领“薅羊毛”的某视频网站博主出面道歉,淘宝微博也发文回应,称已将该店铺保护起来。
事后,澎湃新闻尝试与“果小云旗舰店”店主联系,多日未果;11月11日,一位自称是该网店合伙人的张锋主动联系澎湃新闻记者多次接受了采访。张锋称,网店实际运营人并非覃艺,“覃艺只是股东之一,但网店的管理和运营都是小布在负责。”
张峰介绍称,“覃艺是小布的表哥,他是小布的堂哥”,“小布”今年20岁,负责果园运营和发货工作,而他作为合伙人之一,目前和叔叔在宁波负责资金的问题。
在随后的电话采访中,11月12日,张锋又改口称,网店的运营确实是“小布和叔叔”在负责,他和覃艺目前在帮忙。张锋承认,他和覃艺名下都没有果园,但“小布的叔叔家”有果园,种的是番石榴,打算以后在网店上架番石榴。
此前,“果小云旗舰店”在11月7日重新上新的脐橙销售页面中,“全国多仓发货”的介绍引起不少网友质疑。有网友指出:“既然是凑钱开店的果农,怎么能在全国都有果园和仓库?”之后,“全国多仓发货”的介绍图片便悄悄于11月11日撤下。

果小云旗舰店曾在产品中介绍“全国多仓发货”,后删除。
张锋称,店铺声明中所说的“叔叔负责摘果子打包发货”指的并不是被“薅羊毛”的脐橙,而是此后店铺打算上架的百香果产品;店铺中脐橙主要来自四川成都的合作果园。
“广西这个季节也没有橙子,而且现在订单那么多,我们自己种也种不了那么多,就和四川那边的果农合作的,这几天小布就在成都负责最近订单的发货。”张锋未告知“小布”在成都的发货地址。
“小布”和“小布的叔叔”成为了关键。张锋许诺会让“小布”接受澎湃新闻采访,但截至发稿前,仍未实现。其间,张锋称,等“小布”发完货回到老家再接受采访。
疑拥有多家电商公司的店主和合伙人
通过进一步调查,澎湃新闻发现,覃艺、张锋二人名下关联有多家电商、日用百货公司。
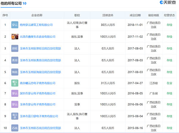
据天眼查查询信息显示,覃艺名下除“果小云旗舰店”所认证的北流市鑫果农业有限公司外,疑还有9家与其关联的公司。其中,“覃艺”担任6家公司的法定代表人,并在4家公司担任股东,名下企业分布在玉林、北流、南京、深圳四地,4家为日用百货经营部,4家为电子商务有限公司。此外,还有1家建筑工程有限公司。

覃艺名下关联10家公司。
张锋名下关联公司也疑有6家之多,公司类型多与“覃艺”相似,其中3家为日用百货经营部,2家为电子商务有限公司,1家皮具厂。在其名下控股100%的玉林市穿云电子商务公司中,“覃艺”担任监事,为公司的主要成员。
对于上述公司和关系,张锋向澎湃新闻解释称,自己和覃艺运营了多家淘宝店铺,注册公司多是用于申请店铺认证,“因为一个公司只能绑定一个淘宝店铺。”对于自己和覃艺所运营的淘宝店铺名称及产品,张锋并未透露。
谈及果小云旗舰店的“实际掌权人”,11月12日,覃艺告诉澎湃新闻,自己确实是果小云旗舰店所属公司的股东,目前负责店铺的客服工作。但在13日采访中,张锋坚称店铺是由“小布”在运营,自己和覃艺只是帮忙。
随后,覃艺以在成都发货繁忙为由,未接受澎湃新闻进一步采访。
根据张锋名下玉林市穿云电子商务有限公司所显示的注册地址,澎湃新闻记者来到了位于玉林市郊区的茂林镇,小镇位于公路边,多以住房为主,散落着小面积的农田。

张锋名下公司注册地为张峰住所,附近并无果园。澎湃新闻记者 李思文 摄
经和附近村民的确认,玉林市穿云电子商务有限公司注册地址所在的三层楼房,即是该公司法定代表人张锋的常住地址。家中大门紧闭,村民称张锋已经多日未回。据村民介绍称,茂林镇地区并不种植水果,也从未听说张锋家中有果园,隔壁邻居称:“他是在玉林市工作,是在网上卖东西的。”
11月13日晚,在被质疑其网店“营销炒作”,抄袭其他网店商品图片、信息后,张锋向澎湃新闻承认存在抄袭,但否认营销炒作一事。
“我们五万块的保证金都没有了,还有一些‘薅羊毛’的订单没有退,我们怎么可能损失那么大去炒作?” 张锋称,此事经报道后,已经严重影响了他和家人的生活,“真的是太累了。”
对于被扣保证金一事,澎湃新闻记者联系了淘宝方面求证,截至发稿时尚未得到回复。
13日23时许,澎湃新闻发现“果小云旗舰店”下架所有产品,并发布新的声明。张锋称,他们需要调整一段时间,等事件平息过去后再继续运行店铺,但已经下单的橙子依然会继续发货。
来源:澎湃新闻
编辑:无双