企查查显示,7月4日,万达地产集团有限公司(以下简称“万达地产”)新增一则股权冻结信息,冻结权益数额为1亿元人民币,冻结股权标的企业为其子公司长春莲花山万达地产开发有限公司(以下简称“长春莲花山万达公司”),冻结期限从2023年6月7日到2026年6月6日,执行法院为上海市虹口区人民法院。

据企查查信息,长春莲花山万达公司成立于2021年5月,公司注册资本1亿元人民币,依此来看,长春莲花山万达公司100%股权已被冻结。
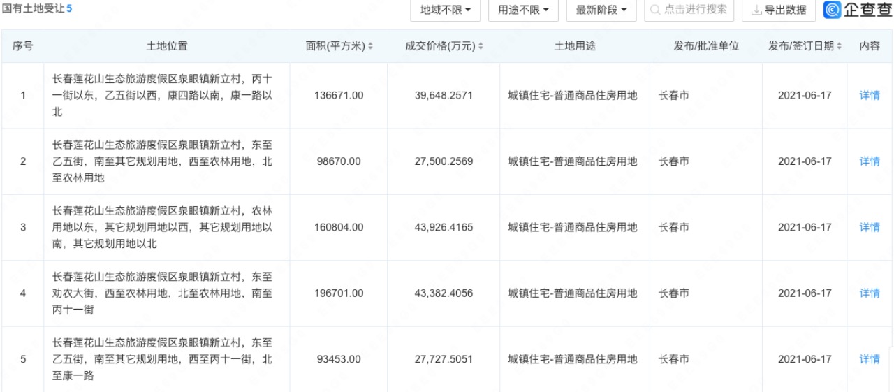
而紧随公司股权被冻结,6月29日,长春市规划和自然资源局发布了4条关于解除关于解除《国有建设用地使用权出让合同》的公告,裁定解除长春莲花山万达公司于2021年6月17日通过招拍挂方式竞得的莲花山度假区泉眼镇新立村内4宗城镇住宅用地和其他商服用地。

土拍信息显示, 包括上述用地在内的5宗地块,彼时由长春莲花山万达公司以18.22亿元的总价竞得。

据了解,土地合同协议被解除的原因,一般分为合同履行不当(如一方未按照合同约定缴纳土地租金、违章建筑物、擅自转让土地使用权等行为 )、土地用途变更(如新修建的建筑不符合原土地批准的规划用途,或者原土地用途发生变更、不再适用)和土地被征收或收回(如政府拟用土地进行重大项目建设)。
而从稍早前长春莲花山万达公司股权被冻结及母公司近况来推测,原因可能是因资金困境,未按约定缴纳土地租金有关。
新近信息显示,万达地产被执行总金额24657.976万元,而在旗下长春莲花山万达公司股权被冻结前1天,旗下另一家子公司上海万达物业服务有限公司1000万元股权数额已于6月6日被冻结。

信息显示,上述用地即为万达莲花山文旅城,项目于2021年8月开放外展点,官方资料称,万达莲花山文旅城以莲花山120平方公里原生森林和50平方公里水域湿地资源为依托,打造集度假、运动、康养于一体的高端特色文旅小镇,内容涵盖800m生态引导界面、6000㎡梨花园、萌宠乐园、房车营地、马术俱乐部、儿童乐园、水岸生活集市、垂钓俱乐部等。

尽管规划内容颇为丰富,但项目核心仍属于地产+文旅的惯用操作。查询项目官方微信发现,其早在2022年4月停更,或许就已经传递出“生变”讯号,而伴随此次用地合同遭解除,万达这一文旅小镇项目正式宣告“胎死腹中”。
作为横跨多个产业的大型综合性集团,万达起家于房地产,而出于规避风险和可持续发展的考量,早在多年前,集团在战略层面就表达了对作别房地产的决绝姿态。
2016年10月,万达集团董事长王健林在接受CNNMoney采访时就放言,中国房地产目前的市场泡沫是历史上最大的泡沫;
2017年7月,遭遇债务压顶的万达忍痛“瘦身”,在万达、融创和富力的三方世纪大交易中近乎“清仓”手中土储;
万达集团2018年工作总结会上,王健林更是表示,万达商业2019年要剥离所有房地产业务,一平方米的房地产开发业务也不能有,要成为彻底的商业管理运营企业。
“听其言,观其行”,尽管曾经深刻感知过房地产周期性存在的风险,但受多重因素影响,2019年万达集团各大板块经营业绩命途多舛,面对债务高压/转型受阻的困境,曾被王健林弃之如敝履的地产行业,随后又被重新捡拾。
2019年底,万达商管完成房地产业务剥离,万达地产将集团所有地产业务揽进体系之中,继续从事房地产开发业务;2020年初,万达集团召开全体高管会议,就重振房地产达成共识。以此为始,集团激进扩张大幕拉开。
据不完全统计,就在2020年当年,万达先后在四川眉山、浙江台州、广东河源、湖北黄石、青岛即墨、安徽亳州、江苏盐城、上海临港、昆明安宁、安庆、肇庆等地签约合作/土拍协议,累计金额已超80亿,且多以文旅地产形式推进。
以肇庆为例,2020年9月,万达集团就与肇庆市、鼎湖区举行万达国家度假区签约仪式。据悉,该项目2020年计划投资17.30亿元,力争在2022年年底建成开业。肇庆万达国家度假区,集万达33载之大成类,依托肇庆独特的区位优势及山水人文资源。
又譬如眉山,2020年8月,万达集团与天府新区眉山管委会举行天府万达国际文旅项目签约仪式。初步拟定的建设内容为:打造集度假、体育、文化、会议、商业、教育等为主要内容的中国顶级国际文旅产业基地。内容涵盖体育乐园、水上乐园、好声音剧场、天府特色文旅小镇、酒店群、生态湿地、运动绿道、蜀皇祠等。
尽管重新发力文旅地产的营销声势浩大,但从上述项目的进展来看,现实距离预期存在明显偏差。
以眉山万达文旅项目为例,2021年11 月,万达集团才注册成立眉山天府万达置业有限公司,且时至今日,该公司仍未有拿地信息;至于肇庆万达国家度假区,新近信息显示,项目公司肇庆万达度假区投资有限公司多次沦为被执行人,且公司已于月前被限制高消费。

审视万达此轮“回马枪”性质的文旅地产扩张,在观察者看来,其似乎仍未摆脱最初的那套逻辑。即用极低的成本拿地,同时以地产开发支撑快速滚动。但伴随优秀的商业运营公司快速成长,万达商业运营的比较优势持续缩小,其品牌的市场号召力在同步消退。
以港交所披露的珠海万达商业管理集团股份有限公司(简称“珠海万达商管”)招股书为例, 2022年,珠海万达商管营业收入和净利润分别为人民币271.2亿元和人民币75.34亿元;而在同期,龙湖集团运营业务不含税租金收入为118.8亿元,利润占比为27%(2022年,龙湖集团净利润328.23亿元)。

再看近年来持续升温的冰雪旅游,为规避重资产模式带来的风险,以融创和万科为代表,目前均发力转型轻资产输出,且项目拓展均有斩获。而反观万达,尽管旗下万达文旅规划设计院涵盖山地滑雪场业态的规划设计输出,且集团在长白山的国际滑雪场运营多年,但目前并未见相关轻资产输出落地的报道。
相对单一的业态运营尚且如此,对于体量庞大、业态多元的文旅综合体,万达面临的挑战无疑更为艰难。对于这一点,旗下耗费巨额投入却关门歇业多年的武汉电影乐园和曝出死亡惨剧的汉秀剧场,可以说是万达文旅运营能力的生动写照。
对于万达文旅地产的困境,36氪早前分析称,万达地产正在进入某种恶性循环:要想拿到低价的地,就必须避开市场竞争激烈的核心城市或板块,而当万达选择不断下沉,进入大量低线城市,其运营效率越低,住宅市场越容易产生波动,溢价率也低,从而影响现金流和利润。
需指出的是,在万达集团2020年后重新力拓文旅地产的项目中,其在长春并非只有莲花山文旅城。2020年3 月,长春北方影都投资有限公司(以下简称“长春北方影都公司”)资近91亿元摘得长春市净月开发区16宗地,该地块即为此前万达宣布200亿元打造“长春国际影都”项目。
据企查查信息,长春北方影都公司原为长春净月投资控股(集团)有限公司全资子公司,后于2020年6月变为万达地产全资控股;同年7月,海南万骏管理服务有限公司(原由万科控股,后于2021年4月变为中国信达实控)以15%的持股比例,成为长春北方影都公司第二大股东。
而值得注意的是,于万达莲花山文旅城项目生变之前,旗下位于武汉的另一大项目,已经出现异动。
6月25日,武汉华达玖号创新投资合伙企业(有限合伙)(以下简称“武汉华达玖号创新投资”)股权结构发生变更,万达地产、华融资本管理有限公司分别转让武汉华达玖号创新投资合伙企业(有限合伙)85.7206%股份、0.3175%股份;股权转让后,中国华融持股86.0381%,万达地产集团有限公司持股13.9104%,华融资本管理有限公司持股0.0515%。
信息显示,武汉华达玖号创新投资成立于2023年3月,万达地产持股99.63%,华融资本以执行事务合伙人角色持股0.369%,2023年6月9日,武汉华达玖号创新投资以 90%的持股比例,成为武汉万达东湖置业有限公司(以下简称“武汉万达东湖置业”)实控人,也即历经数次股权转让后,中国华融成为武汉万达东湖置业实控人。

相关信息显示,武汉万达东湖置业打造有武汉顶豪住宅武汉万达御湖汉印项目,据贝壳数据,目前项目单价接近4.5万元/平,此前有报道显示,该对标北上广深的一线人居标杆作品的项目,其货值将超300亿(不过受此后的规划调整/终端售价变化等因素影响,项目实际货值有待核实)。
一个引人注意的关键信息在于,此次华融集团接盘的武汉万达东湖置业,并非万达地产新近拓展的项目,而是2017年万达/融创/富力三方世纪大交易中的幸存项目之一。即便当时遭债务压顶,仍将其予以保留。由此一点足以看出,万达集团对该优质资产倾注了足够的“翻盘”期待。
时移势易,曾挺过2017年世纪大交易的武汉万达东湖置业,最终仍以无奈易主作为终局。令人唏嘘的背后,万达集团当前面临的债务压力之大,由此可见一斑。
回看此次被解除用地合同的万达莲花山文旅城,作为2020年以来万达重启大规模土储扩张的项目之一,依附于副省级城市能级的万达莲花山文旅城,相比同批次的其他地级市项目,风险指数/回报产出无疑更为占优。
当万达集团曾经视为“非卖品”的武汉万达东湖置业,如今同样难逃被卖的命运,以此对比,长春莲花山文旅城以“胎死腹中”作为结束,想来业界或不再有感过多意外。
长春莲花山文旅城用地合同遭解除,同处一城的“长春国际影都”项目,其实际境况究竟如何?债务压顶之下,以武汉万达东湖置业的国资救场模式为参照,“长春国际影都”项目未来可能会有怎样的“变曲”?而当有更高城市能级托底的万达莲花山文旅城尚且如此,其他低能级城市尚待落地的庞大万达文旅项目,其又将面临何种终局?