合肥市公安局近日破获一起网络传销案,直接上了微博热搜。

因为这事儿有点奇葩:不法分子将罐装地下水,包装成售价千元的“SSG生命能量液”,声称包治百病、逆转青春,还能投资赚钱。而涉案公司已发展了3万多名会员,层级达到204层,销售额近6亿元,全国近7万人上当。
对此,网友纷纷表示惊呆了:


“神仙水”包治百病卖千元?
警方出手:只是地下水
近日,合肥市公安局包河分局侦破一起网络传销案:不法分子把罐装地下水“包装”成售价千元的“生命能量液”,还声称这种产品不仅包治百病,逆转青春,还能投资赚钱。

根据合肥警方,今年4月中旬,合肥市民王女士报警称,朋友向其介绍了一款产品——“SSG生命能量液”,这个产品号称可以治疗多种疾病,并能逆转青春。产品所属公司自称运用最新的“区块链技术”运转,会员只要买了生命能量液就能获得公司返点,买15万元回报10万元。王女士随即投钱购买了产品,结果服用后既没看到效果,也没见回报,她才意识到被骗。
据悉,该公司大力宣传一个远古海洋水的故事,并称“SSG生命元素能量液”是全世界唯一的量子级的产品。

宣传中,“美国太空总署NASA埃姆斯研究中心”、“联合国”、“诺贝尔经济学奖获得者”等要素经常出现。

到底多能忽悠?看看视频就明白了:
合肥市公安局包河分局经侦大队民警屈晓隆:“在立案侦查以后,我们发现这个SSG水,资金其实属于一种这种传销资金,也比较隐蔽,中资创联是把这款水作为传销道具使用,一盒是15小瓶,每一盒1万5千元,也就是每一小支水是1000元,每一个投资到中资创联的人,首先要买一盒水,成为中资创联的会员,成为会员之后才有资格去发展其他的人。我们也对这款水做了相应的鉴定,这个水其实就是普通的水,对人体的健康没有任何帮助。”
与传统传销不同,为了扩大下线、诱导消费者,这种新型网络传销模式还开发了自己的APP,注册了实体公司“水孕新生公司”,甚至开设了线下产品体验馆:漂浮馆。
漂浮馆宣称是以“漂浮理疗”为核心的大健康连锁养生机构,主要服务项目为“漂浮”,同时售卖面膜、疼痛贴膏、益生菌等衍生产品盈利,单次漂浮服务价格高达298元/次。
早在2017年合肥新闻频道《晚间播报》便对中资创联的漂浮馆进行过暗访。
在暗访中,宣传人员表示,人体在该公司的能量液中可以漂起来。只要断食一周,并在漂浮液中坚持做7天调理,别说胖子能变瘦,心脑血管疾病、糖尿病、帕金森都可以治愈,就连不少癌症患者也是在他们能量液里漂好的。

该宣传人员还称,前不久有一个二十多岁的女孩得了肺癌,医生已经下了死亡通知书,但是在他们的漂浮馆里调理之后,重获了新生。
不过,有着三十多年从医经验,安徽省第二人民医院肿瘤科主任的程先平表示,从医生角度来说,这是不可能的。

还是投资*局骗**!
买15万回报10万?
产品所属公司自称运用最新的“区块链技术”运转,会员只要买了生命能量液就能获得公司返点,买15万元回报10万元。因此,上述报警的王女士动心了。
然而,她的钱全砸进去却没有一分回报。“公司当初说,钱很快都可以回到投资人的账上,越往后涨得越多。我的钱全砸进去了,也没见一分钱回报。” 王女士表示。
值得注意的是,今年9月底,公司还发布公告将成立子公司,会员可用现金或积分形式来购买新设子公司的股份,“估值仅仅定为30亿元人民币,远低于矿产评估的价值”。如若真有人按照其估值进行“投资”,则损失更为巨大。


7万人被骗
涉案近6亿元
王女士只是数万被骗的受害者之一。值得注意的是,为了快速发展会员骗取更多的钱,该公司还进行非法传销。
购买该“神仙水”前,消费者还需在手机上*载下**“中联钱包”APP,注册成为会员后,才有资格发展下线。为快速发展会员,该公司制定了相应奖励政策,包括发展下线零售奖励、批发奖励、月度奖励、直返奖励等。

办案民警介绍,中资创联的运营模式,是吸引参与者以购买远超于正常市场价值的产品来成为会员,享受分利资格,并按照一定顺序组成层级,以直接或者间接发展下线的人数作为计酬返利的依据,涉嫌非法传销。
警方初步统计,中资创联公司共有3万余名会员,层级达到了204层。经初步估算,销售额近5亿元。
而据媒体报道,全国有近7万人上当。
从网友的互动可以看出,此前不少网友(特别是其父辈)被骗。
早在一年前,便有人在贴吧问这水是真的还是被炒出来的?


而如今被证实是地下水之后,网友纷纷表示家里老人都中招了:



曾宣称要上市做独角兽
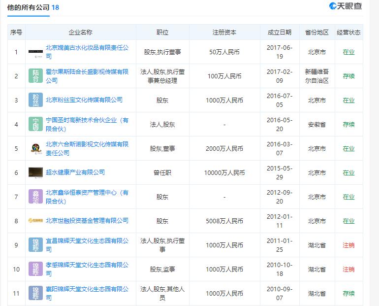
老板实际控制18家公司
天眼查数据显示,该产品背后的公司水孕新生公司于2017年2月28日成立,其大股东为中资创联公司。
此前,名为“上善若水SSG生命元素能量液”微信公众号曾对中资创联公司有过介绍,中资创联产业集团由锦辉国际控股集团于2016年8月创立,是SSG系列产品全球唯一运营机构。集团总部座落于全国的创新高地-合肥金融港,全资购买近万平米办公大楼及兴建了一百余亩的产业园。集团旗下“水孕新生”漂浮馆已在全国开设200多家,到2019年底,预计在全球开设4000家连锁漂浮馆,成为香港主板上市公司连锁企业的独角兽。

天眼查数据显示,公司的法定代表人为许观新,大股东为锦辉国际控股集团有限公司,经营范围包括养生服务、保健用品、饮用水、保健品批发等,实控人为许嫦容。

而许嫦容实际控制18家公司,除了上述的锦辉国际控股集团有限公司,还涉及影视、化妆品、金融等领域企业。

据警方调查认定,该能量液涉及虚假宣传诱导消费者,涉案公司运营模式属于非法传销活动。目前,合肥市公安局包河分局已对中资创联公司原负责人、公司高管以及营销团队负责人共9人采取了刑事强制措施。中资创联公司实际控制人闫某跃等人目前已经被警方上网追逃。
网络传销具有欺骗性
特别警惕“资本运作”等幌子
警方提醒,相比于传统传销,网络传销更具欺骗性和隐蔽性,特别需要警惕一些以“资本运作”、“微商”、“电商”、“多层分销”、“消费投资”、“虚拟货币”、“金融互助”、“旅游互助”、“爱心互助”等名义为幌子的异地聚集式网络传销。
近年来,网络传销采取了更加隐蔽的包装术,常用的幌子包括电子商务、分享经济、网络理财等。消费者要识别传销,首先要明白天上不会掉馅饼,高回报必然有高风险;其次,无论传销的形式如何变化发展,其实质仍是以购买份额作为入门费,发展下线人员、拉人头组成层级,以下线人员“业绩”作为获利依据。
消息来源:光明网
本期编辑:警晓鸿