近日,山姆会员店被曝出售“山寨Dior”玩具。9月29日,山姆相关人士在接受红星资本局采访时表示,已第一时间下架相关产品,停止销售。

↑山姆会员店一款标注为“Dior”联名的儿童玩具 截图自北京商报微博
疑出现“山寨Dior”玩具
山姆回应:已下架
据北京商报报道,山姆会员商店上架了一款标注为“Dior”联名的儿童玩具,售价399元。产品标签中标注着“Dior珠宝设计师”“Dior授权 山姆限定首发”的字样。
据相关视频,这些玩具的包装盒上显示制造商为浙江简动文化创意有限公司。红星资本局致电包装盒上客服电话,询问是否是奢侈品品牌、普遍认知的真Dior授权,对方表示所有信息均在包装盒上,不知道真假Dior一说,随后挂断电话。
该公司相关负责人向媒体表示,自己拿了Dior玩具方面的商标授权,授权自Dior潮玩所属公司为高德乐(法国)商业有限公司(以下简称高德乐)。
山姆会员店向红星资本局回应,山姆已经在第一时间下架了该商品。
授权公司高德乐
名称中有“法国”,注册地在香港
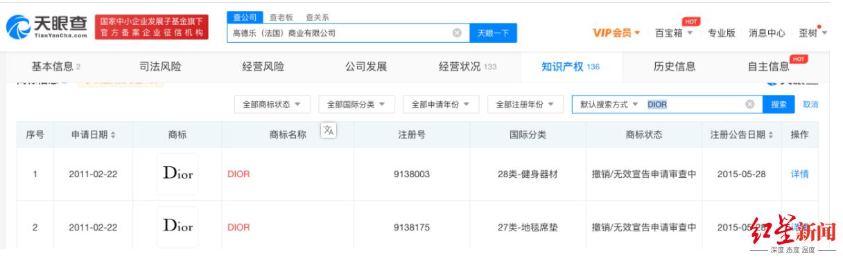
据天眼查,高德乐的DIOR商标于2011年2月申请,于2015年注册成功,商标的国际分类分别为27类-地毯席垫、28类-健身器材。

↑截图自天眼查
其详情显示,2011年2月注册DIOR商标的主体是瑞安市吉尔康鞋业有限公司(以下简称“瑞安市吉尔康”),同期,该公司还注册了D&G商标,分类为风筝、拳击手套。红星资本局欲咨询瑞安市吉尔康其与高德乐之间的关系及商标授权转移情况,其官方电话截至发稿时无人接听。
值得注意的是,天眼查显示,高德乐曾用名为“Christian Dior (France) Commericial Limited 克丽斯汀迪奥(法国)商业有限公司”。无论是曾用名还是现用名,高德乐均在名字里面加上了法国字样,但该公司的注册地在中国香港,并非法国。

↑截图自天眼查
而大众熟知的奢侈品品牌DIOR是一个法国品牌,其全名是克里斯汀·迪奥(Christian Dior),主要经营美妆服饰。
红星资本局在电商平台搜索Dior玩具,发现有名为“引力熊Dior电镀手办”的玩具正在售卖,一个售价1299元,在引力熊旗舰店月销量为1。
据客服称,他们隶属高德乐,不是卖香水服饰的奢侈品品牌Dior。
高德乐此前多次以DIOR自诩,表示入局潮玩行业。据北京广播网资料,此前其还联合“合自文创”发布了数字藏品。
其创立了名为“dior产品介绍”的微信公众号,表示高德乐在中国大陆地区设立了“Dior中国计划”项目,并于2021年10月项目正式建立。
公众号首篇文章发表于2022年5月20日,最新一篇发表于今年7月15日,内容仅4条,包含节庆信息和其潮玩产品相关信息。
红星新闻记者 俞瑶 张露曦
编辑 官莉 何先锋
(*载下**红星新闻,报料有奖!)
