
第一节 概述
01
单斗液压挖掘机的总体结构
单斗液压挖掘机的总体结构包括动力装置、工作装置、回转机构、操纵机构、传动系统、行走机构和辅助设备等,如图所示。

常用的全回转式液压挖掘机的动力装置、传动系统的主要部分、回转机构、辅助设备和驾驶室等都安装在可回转的平台上,通常称为上部转台。因此又可将单斗液压挖掘机概括成工作装置、上部转台和行走机构等三部分。

挖掘机是通过柴油机把柴油的化学能转化为机械能,由液压柱塞泵把机械能转换成液压能,通过液压系统把液压能分配到各执行元件(液压油缸、回转马达+减速机、行走马达+减速机),由各执行元件再把液压能转化为机械能,实现工作装置的运动、回转平台的回转运动、整机的行走运动。
02
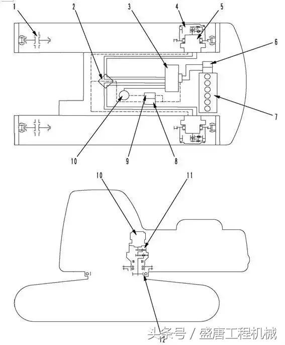
挖掘机动力系统
1、挖掘机动力传输路线如下
1
行走动力传输路线:柴油机——联轴节——液压泵(机械能转化为液压能)——分配阀——中央回转接头——行走马达(液压能转化为机械能)——减速箱——驱动轮——轨链履带——实现行走
2
回转运动传输路线:柴油机——联轴节——液压泵(机械能转化为液压能)——分配阀——回转马达(液压能转化为机械能)——减速箱——回转支承——实现回转
3
动臂运动传输路线:柴油机——联轴节——液压泵(机械能转化为液压能)——分配阀——动臂油缸(液压能转化为机械能)——实现动臂运动
4
斗杆运动传输路线:柴油机——联轴节——液压泵(机械能转化为液压能)——分配阀——斗杆油缸(液压能转化为机械能)——实现斗杆运动
5
铲斗运动传输路线:柴油机——联轴节——液压泵(机械能转化为液压能)——分配阀——铲斗油缸(液压能转化为机械能)——实现铲斗运动

1、引导轮 2、中心回转接头 3、控制阀 4、终传动 5、行走马达 6、液压泵 7、发动机
8、行走速度电磁阀 9、回转制动电磁阀 10、回转马达 11、回转机构 12、回转支承
2、 动力装置
单斗液压挖掘机的动力装置,多采用直立多缸式、水冷、一小时功率标定的柴油机。
3、 传动系统
单斗液压挖掘机传动系统将柴油机的输出动力传递给工作装置、回转装置和行走机构等。单斗液压挖掘机用液压传动系统的类型很多,习惯上按主泵的数量、功率的调节方式和回路的数量来分类。有单泵或双泵单回路定量系统、双泵双回路定量系统、多泵多回路定量系统、双泵双回路分功率调节变量系统、双泵双回路全功率调节变量系统、多泵多回路定量或变量混合系统等六种。按油液循环方式分为开式系统和闭式系统。按供油方式分为串联系统和并联系统。

1、驱动盘 2、螺旋弹簧 3、止动销 4、摩擦片 5、减震器总成6、消音器 7、发动机后部安装座 8、发动机前部安装座
凡主泵输出的流量是定值的液压系统为定量液压系统;反之,主泵的流量可以通过调节系统进行改变的则称为变量系统。在定量系统中各执行元件在无溢流情况下是按油泵供给的固定流量工作,油泵的功率按固定流量和最大工作压力确定;在变量系统中,最常见的是双泵双回路恒功率变量系统,有分功率变量与全功率变量之分。分功率变量调节系统是在系统的每个回路上分别装一台恒功率变量泵和恒功率调节器,发动机的功率平均分配给各油泵;全功率调节系统是有一个恒功率调节器同时控制着系统中的所有油泵的流量变化,从而达到同步变量。
开式系统中执行元件的回油直接流回油箱,其特点是系统简单、散热效果好。但油箱容量大,低压油路与空气接触机会多,空气易渗入管路造成振动。单斗液压挖掘机的作业主要是油缸工作,而油缸大、小有腔的差异较大、工作频繁、发热量大,因此绝大多数单斗液压挖掘机采用开式系统;闭式回路中的执行元件的回油路是不直接回油箱的,其特点式结构紧凑,油箱容积小,进回油路中有一定的压力,空气不易进入管路,运转比较平稳,避免了换向时的冲击。但系统较复杂,散热条件差‘单斗液压挖掘机的回转装置等局部系统中,又采用闭式回路的液压系统的。为补充因液压马达正反转的油液漏损,在闭式系统中往往还设有补油泵。
4、回转机构
回转机构使工作装置及上部转台向左或向右回转,以便进行挖掘和卸料。单斗液压挖掘机的回转装置必须能把转台支撑在机架上,不能倾斜并使回转轻便灵活。为此单斗液压挖掘机都设有回转支撑装置和回转传动装置,它们被称为回转装置。

1、制动器2、液压马达3、行星齿轮减速器4、回转齿圈5、润滑油杯、6、中央回转接头
全回转液压挖掘机回转装置的传动形式有直接传动和间接传动两种。
1
直接传动。在低速大扭矩液压马达的输出轴上安装驱动小齿轮,与会转齿轮啮合。
2
间接传动。由高速液压马达经齿轮减速器带动回转齿圈的间接传动结构形式。他结构紧凑,具有较大的传动比,且齿轮的受力情况较好。轴向柱塞液压马达与同类型的液压油泵结构基本相同,许多零件可以通用,便于制造及维修,从而降低了成本。但必须设制动器,以便吸收较大的回转惯性力矩,缩短挖掘机作业循环时间,提高生产效率。
5、 行走机构
行走机构支撑挖掘机的整机质量并完成行走任务,多采用履带式和轮胎式。
6、履带行走机构
单斗液压挖掘机的履带式行走机构的基本结构与其他履带式机构大致相同,但他多采用两个液压马达各自驱动一个履带。与回转装置的传动相似可用高速小扭矩马达或低速大扭矩马达。两个液压马达同方向旋转式挖掘机将直线行驶;若只向一个液压马达供油,并将另一个液压马达制动,挖掘机将绕制动一侧的履带转向,若是左右两个液压马达反向旋转,挖掘即将进行原地转向。
行走机构的各零部件都安装在整体式实行走架上。液压泵输入的压力油竟多路换向阀和中央回转接头进入行走液压马达,该马达将液压能转变为输出扭矩后,通过齿轮减速器传给驱动轮,最终卷绕履带以实现挖掘机的行走。
单斗液压挖掘机大都采用组合式结构履带和平板型履带——没有明显履刺,虽附着性能差,但坚固耐用,对路面破坏性小适用于坚硬岩石地面作业,或经常转场的作业。也有采用三履刺型履带,接地面积较大履刺切入土壤深度较浅,适宜于挖掘机采石作业。实行标准化后规定挖掘机采用质量轻、强度高、结构简单、价格较低的轧制履带板。专用于沼泽地的三角形履带板可降低接地比压,提高挖掘机在松土地面上的通过能力。

1、引导轮 2、履带架3、托链轮4、终传动
5、支重轮6、履带板7、中心护板8、张紧弹簧9、前护板
单斗液压挖掘机的驱动轮均采用整体铸件,能与履带正确啮合、传动平稳。挖掘机行
走时驱动轮应位于后部,式履带的张紧段较短,减少履带的摩擦磨损和功率损耗。
每条履带都设有张紧装置,以调整履带的张紧度减少振动噪声摩擦磨损和功率损失。目前单斗液压挖掘机都采用液压张紧结构。其液压缸置与缓冲弹簧内部减小了结构尺寸。
7、轮胎式行走机构
轮胎式挖掘机的行走机构由机械传动和液压传动两种。其中的液压传动的轮胎式挖掘机的行走机构主要由车架、前桥、后桥、传动轴和液压马达等组成。
行走液压马达安装在固定与机架的变速箱上,动力经变速箱、传动轴传给前后驱动桥,有的挖掘机经轮边减速器驱动车轮。采用液压马达的高速传动方式使用可靠,省掉了机械传动中的上下传动箱垂直动轴,结构简单布置方便。

1、车架2、回转支撑3、中央回转接头4、支腿5、后桥6、传动轴7、液压马达及变速箱8、前桥
第二节 挖掘机的工作装置
液压挖掘机工作装置的种类繁多(可达100余种),目前工程建设中,目前工程建设中应用最多的是反铲和破碎器。
01
反铲结构
铰接式反铲式单斗液压挖掘机最常用的结构形式,动臂、斗杆和铲斗等主要部件彼此铰接,在液压缸的作用下各部件绕铰接点摆动,完成挖掘提升和卸土等动作。

图5-25 反铲工作装置
1-斗杆油缸;2-动臂;3-液压管路;4-动臂油缸;5-铲斗;6-斗齿;7-侧齿;
8-连杆;9-摇杆;10-铲斗油缸;11-斗杆
1.1动臂
动臂是反铲的主要部件,其结构由整体式和组合式两种。
1.1.1整体式动臂
整体式动臂的优点是结构简单,质量轻而刚度大。其缺点是更换的工作装置少,通用性较差,多用于长期作业条件相似的挖掘机上。整体式动臂又可分为直动臂和弯曲动臂两种。其中的直动臂结构简单质量轻制造方便,主要用于悬挂式挖掘机,但它不能式挖掘机获得较大的挖掘深度不适用于通用挖掘机;弯动臂是目前是目前应用最广泛的结构形式,与同厂都得直动臂相比可以使挖掘机有较大的挖掘深度,但降低了卸土高度,这正符合挖掘机反铲作业的要求。
1.1.2组合式动臂
组合式动臂有辅助连杆(或液压缸)或螺栓连接而成。上下动臂之间的夹角可用辅助连杆或液压缸来调节,虽然结构操作复杂化但在挖掘机作业中可随时大幅度调整上下动臂者间的夹角,从而提高挖掘机的作业性能,尤其是用反铲或抓斗挖掘窄而深得基坑时,容易得到较大距离的垂直挖掘轨迹,提高挖掘质量和生产率。组合式动臂的优点是,可以根据作业条件随意调整挖掘机的作业尺寸和挖掘能力,且调整时间短。此外他的互换工作装置多,可以满足各种作业的需要,装车运输方便。其缺点是质量大,制造成本高,用于中小型挖掘机上。

组合式动臂
(a)连杆下置 (b) 连杆上置
1、下动臂2、上动臂3、连杆或液压缸
02
铲斗
1.2.1 基本要求
1
铲斗的纵向剖面应适应挖掘过程各种物料的在斗中运动规律有利于物料的流动,使装土阻力最小,有利于将铲斗充满。
2
装设斗齿,以增大铲斗对挖掘物料的线压比,斗持及斗形参数具有较小单位切削阻力,便于切入及破碎土壤。斗齿应
3
为式装载铲斗的物料不易掉出,斗款与
4
物料易于卸净,缩短卸载时间,并提高铲斗的容积效率。
1.2.2结构反铲用的铲斗形状尺寸与其作业对象有很大关系。为了满足各种挖掘机作业的需要,在同一台挖掘机上可以配置多种形式的铲斗,图2-3、图2-4分别为反用铲斗的基本形式和常用形式铲斗的斗齿采用装配式,其形式有橡胶卡销式和螺连接式。
铲斗与液压缸连接的结构形式有四连杆机构和六连杆机构。其中四连杆机构连接方式是铲斗直接交接与液压缸,使铲斗转角较小,工作力矩变化较大;六连杆机构的特点是,在液压缸活塞行程相同的条件下,铲斗可以后的较大的转角,并改善机构的传 动特性。








第三节 挖掘机的回转装置
01
回转装置
上部转台是液压挖掘机三大组成部分之一。在转台上除了有发动机、液压系统、司机室、平衡重、油箱等以外,还有一个很重要的部分——回转装置。液压挖掘机回转装置有转台、回转支撑和回转机构组成,如图3-1所示,回转装置的外座圈用螺栓与转台连接,带齿的内座圈与底架用螺栓连接,内外圈之间设有滚动体。挖掘机工作装置作用在转台上的垂直载荷、水平载荷、和倾覆力矩通过回转支撑的外座圈、滚动体和內座转传给底架。回转机构的壳体固定在转台上,用小齿轮与回转支撑内座圈上的齿圈相啮合.小齿轮可绕自身轴线旋转,又可绕转台中心线公转,当回传机构工作时就像对底架进行回转。

液压挖掘机的回转装置必需能把转台支承在固定部分(下车)上。不能倾翻倒,并应使回转轻便灵活。为此,液压挖掘机都设置了回转支承装置(起支承作用)和回转传动装置(驱动转台回转),并统称为液压挖掘机的回转装置


02
回转支承的主要结构形式
1.转柱式回转支承
摆动式液压马达驱动的转柱式支承如图3-2所示。它由固定在回转体1上的上、下支承轴4和6,上、下轴座3和7组成。轴承座用螺栓固定在机架5上。回转体与支承轴组成转柱,插入轴承座的轴承中。外壳固定在机架5上的摆动液压缸输出轴插入下支承轴6内,驱动回转体相对于机架转动。回转体常做成“匚”形,以避免与回转机构碰撞。工作装置铰接在回转体上,与回转体一起回转。
2.滚动轴承式回转支承
滚动轴承式回转支承实际上就是一个大直径的滚动轴承。它与普通轴承的最大区别是它的转速很慢。挖掘机的回转速度在5~11r/min之间。此外,一般轴承滚道中心直径和高度比为4~5,而回转支承则达10~15。所以,这种轴承的刚度较差,工作中要靠支承连接结构来保证。
滚动轴承式回转支承的典型构造如图3-3所示。内座圈或外座圈可加工成内齿圈或外齿圈。带齿圈的座圈为固定圈,用沿圆周分布的螺栓4、5固定在底座上。不带齿的座圈为回转圈,用螺栓与挖掘机转台连接。装配时可先把座圈1、3和滚动体8装好,形成一个完整的部件,然后再与挖掘机组装。为保证转动灵活,防止受热膨胀后产生卡死现象,回转支承应留有一定的轴向间隙。此间隙因加工误差和滚道与滚动体的磨损而变化。所以在两座圈之间设有调整垫片2,装配和修理时可以调整间隙。隔离体7用来防止相邻滚动体8间的挤压,减少滚动体的磨损,并起导向作用。滚动体可以是滚珠或滚柱。

滚动轴承式回转支撑机构广泛应用于全回转的液压挖掘机上,它是在普通滚动轴承的基础上发展起来的,结构上相当于放大了的滚动轴承。它与传统的滚动轴承相比,具有尺寸小,结构紧凑,承载能力大,回转摩擦阻力小,滚动体与轨道之间的间隙小,维护方便,使用寿命长,易于实现三化等特点一系列优点,它与普通滚动轴承相比,又有其特点:普通的滚动轴承的内外座圈之间的刚度依靠轴与轴承座之间的装配来保证,而它则有转台和底架来保证;回转支撑的转速低,通常承受轴向载荷,因此轨道上的接触点的循环次数较少。
第四节 挖掘机转台的布置
01
转台结构
转台的主要承载部分是由钢板焊接成的抗扭和抗弯刚度很大的相形框架结构主梁3,动臂及其液压缸就支撑在主梁的突耳1上。大型挖掘机的动臂支承多用双凸耳,而小型挖掘机多用单凸耳。主梁下有衬板和支撑环2与回转支承连接左右侧焊有小框架,作为附加承载部分。
转台支承处应有足够的刚度,以保证回转支承的正常运转。如图所示。

(a)双凸耳式(b)单凸耳式
1、凸耳2、支撑环3、纵梁
01
转台布置
液压挖掘机工作时转台上部 自重和荷载和的合力位置也是经常变化的,并偏向载荷方面,为平衡载荷力矩转台上的各个装置需要合理布置并在尾部设置配重,以改善转台下部结构的受力,减轻回转支撑磨损,保证整机的稳定性。
图3-16为国产WY160型全液压挖掘机的转台布置,发动机1是横向布置在转台尾部的图3-17为日产HC-300型半液压挖掘机的转台布置,发动机1是纵向布置在转台尾部的.

液压挖掘机的布置原则是左右对称,尽量做到质量均衡,较重的总成、部件靠近转台尾部。此外,还要考虑各个装置工作上的协调,维修方便等。有时转台布置受结构尺寸限制,重心偏离轴线,致使左右履带接地比压不等,影响走架结构强度和挖掘机的行驶能,此时可通过调整配重的重心来解决,如图3-18所示,图中x与x’分别为转台重心与配重中心偏离轴线值。
确定配重位置的布置原则是,使挖掘机重载、大幅度作业时的转台上部合力FR的偏心距e与其空载小幅度时的合力FR’的偏心距e’大致相等,如图3-19所示。



挖掘机运行时驱动轮在履带的紧边——驱动段及接地段产生一拉力,企图把履带从支重轮下拉出,由于支重轮下的履带与地面之间有足够的附着力。阻止履带的拉出。迫使驱动轮卷动履带,引导轮在把履带铺设在地面上,从而使挖掘机借助支重轮沿着履带轨道向前运行。
液压传动的履带行走装置,挖掘机转向时有安装在履带上分别有两台液压泵供油的行走马达通过对油路的控制,很方便地实现转向和就地转弯,以适应挖掘机在各种地面、场地上运动。图为液压挖掘机的转弯情况,图(a)为两个行走马达旋转方向相反,挖掘机就地转向。图(b)为液压泵仅向一个行走马达供油,挖掘机则绕着一测履带转向。

1.2结构
1.2.1行走结构
行走架是履带式行走装置的承重骨架,它有底架、横梁、横梁和履带架组成,通常用16Mn钢板焊接而成底架的连接转台,承受挖掘机上部载荷,并通过衡量传给履带架。
行走按结构形式可分为组合式和整体式两种。组合行走架的底架为框架结构,横梁为工字钢或焊接的箱形梁,插入履带架孔中,履带架通常采用下部敞开的“∏”形截面,两端呈叉形以便安装驱动轮、引导轮和支重轮。
组合式行走架的优点是,当需要改变挖掘机的稳定性和降低接地比压时。不需要改变底架的结构就能换装加宽的横梁和加长履带架,从而、安装不同长度和宽度的履带。他的缺点是,履带架截面削弱较多,刚度较差,并且截面削弱处易产生裂缝。
为克服上述缺点,越来越多的液压挖掘机采用整体式行走架,它结构简单,自重轻,刚度大,制造成本低。支重轮直径较小,在行走装置的长度内,每侧可安装5~9个支重轮,这样可使挖掘机上部均匀地传至地面,便于在承能力较低的地面使用,提高行走性能。
1.2.2 四轮一带
有履带和轮驱动轮、引导轮、支重轮、托轮组成的四轮一带,直接关系到挖掘机的工作性能和行走性能,其质量和制造成本约占整机的四分之一。
1
履带。挖掘机的绿带有整体式和组合式两种。
整体式履带是履带板上带啮合齿,直接与驱动轮啮合,履带板本身成为支重轮等轮子的滚动轨道,整体式制造方便,连接履带板的销子容易拆装,但磨损较快。
目前液压挖掘机上广泛采用组合式履带。它有履带板、链轨节和履带销轴和销套等组成。左右链轨接与销套紧配合连接,履带销轴插入销套有一定的间隙,以便转动灵活,其两端与另两个轨节孔配合。锁紧履带销与链轨节孔为动配合,便于整个履带的拆装。组合式履带的节距小,绕转性好,使挖掘机行走速度较快,销轴和硬度较高,耐磨,使用寿命长。
2
支重轮。 支重轮将挖掘机的重量传给地面,挖掘机在不同地面上行驶时之中轮经常承受地面的冲击,因此支重轮所受的载荷较大。此外之中轮的工作条件也较恶劣,经常处于尘土中,有时还浸泡在泥水中,故要求良好的密封性。支重轮常用35Mn或50Mn钢铸造而成,轮面淬火硬度为HRC48~57,以获得良好的耐磨性。。支重轮多采用滑动轴承支撑,并用浮动油封防尘。

支重轮的结构如上图所示通过两端轴固定在履带架上。支重轮的轮边凸缘,其支持履带的作用,以免履带行走时横向脱落。为了在有限的长度上多安排几个支重轮,往往把支重轮中的几个做成无外凸缘的,并把有无外凸缘的支重轮交替排列。
润滑滑动轴承及油封的润滑油脂从支重轮体中间的螺塞孔加入,通常在一个大修期内只加注一次,简化了挖掘机平时的保养工作。
托轮与支重轮的基本相同。
3
引导轮。 引导轮用来引导履带正确绕转,防止其跑偏和越轨。多数液压挖掘机的引导轮同时起到支重轮的作用,这样可增加履带对地面的接触面积,减小接地比压。引导轮的轮面制成光面,中间有挡肩环做为导向用,两侧的环面则支撑轨链。引导轮与最靠近的支重轮的距离愈小,则导向性愈好。
引导轮通常用40、45号钢或35Mn钢铸造、调质处理,硬度为HB230~270.



1.2.3 张紧装置
液压挖掘机的履带式行走装置使用一段时间后由于链轨销轴的磨损会使节距增大,并使整个履带伸长,导致摩擦履带架、履带脱轨、行走装置噪音大等,从而影响挖掘机的行走性能。因此每条履带必须装张紧装置,使履带经常保持一定的张紧度。

油缸3和引导轮架的支座1、轴2,用螺栓连接成一体,以推动引导轮伸缩,活塞4装于油缸中,油封15封住活塞和油缸腔中的黄油,当从注油嘴16注入压力黄油时,则推压活塞右移,活塞推压推杆18,推杆又推压弹簧前座6、弹簧前座则压缩大小弹簧7和8,这样,在引导轮和弹簧之前就形成了一个弹性体,对履带施加的冲力进行缓冲,消除冲击负荷,减少冲击应力,提高使用寿命,螺塞17是放黄油使用的,当履带张紧度过大时,则慢慢旋转螺塞17,使黄油慢慢挤出,不可一下旋松太多,以免黄油射出伤人。从注油嘴注入黄油压力过大时,可活动推土机作为辅助手段,以使黄油易于注入。