
注明:本文转自dop设计石材作为一种非常重要的主材,在众多的设计师心中有着不可替代的地位,受到设计师小伙伴们的广泛关注。石材的知识点太多太多,今天我们针对石材应用过程中遭遇的工艺难点,石材安装的工艺知识和墙面石材新工艺进行讲解,主要想解决下列问题:1、石材有哪几种常规工艺做法?2、新型石材安装工艺的具体操作是怎样的?3、与常规工艺相比,石材新工艺有哪些优势?
01.石材常规工艺做法

我们将石材安装的工艺做法, 分为湿贴、湿挂、干挂、干粘4种。
1、湿贴法湿贴是指用水泥砂浆或胶泥作为石材粘接剂,基层用水泥类材料打底,再粘贴石材的做法。

湿贴的工艺做法,比较节约空间,而且造价相对低廉,是室内空间中安装石材运用最多的工艺做法。也是唯一用于地面的石材安装做法。

2、湿挂法湿挂是指石材基层用水泥砂浆作为粘贴材料,先挂板后灌砂浆的石材安装方法。

湿挂的做法费工费料成本高,而且适用范围还有限,所以,几乎在现在的室内空间已经看不见了。

3、干挂法干挂是指基层搭接钢架,与墙面产生结构连接,再通过干挂件固定石材。

干挂的做法,完成面较厚,比较浪费空间,多应用于室内大面积的石材安装。造价较高。

4、干粘法干贴是指用干粉型粘结剂作为粘贴材料,基层为水泥类材料或其他类型材料打底,再粘贴石材的做法,通常又称胶粘。

干粘的做法对石材的安装高度有要求,不能够大面积安装,且抗震性差,造价比湿贴高。多应用于吧台,服务台等家具石材饰面的安装。

02.新型石材工艺做法

那常规工艺能够解决所有石材安装问题吗?答案当然是否定的。石材安装的常规工艺做法,虽然具有通用性和普遍适用性,但是面对某些特殊空间并不能够完全满足设计要求。

例如:高端酒店or办公楼的电梯厅,通常会有较高的层高,安装石材会使用到干挂法,但是很难兼顾到完成面的设计要求。

所以,我们需要在常规工艺做法的基础上,针对设计提出的具体要求,设计出新的工艺做法。接下来,为大家介绍2种新的墙面石材工艺做法。1、墙面石材钢板干粘工艺

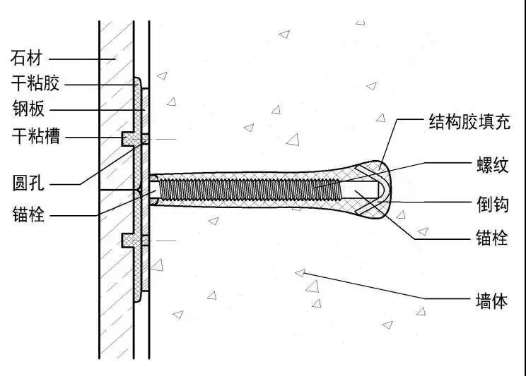
△石材钢板干粘节点
石材钢板干粘工艺我们还是通过“骨肉皮”关系来理解整个构造,“骨”为钢板+锚栓,“肉”是未经打磨的石材,“皮”的部分为石材的表面处理形式。

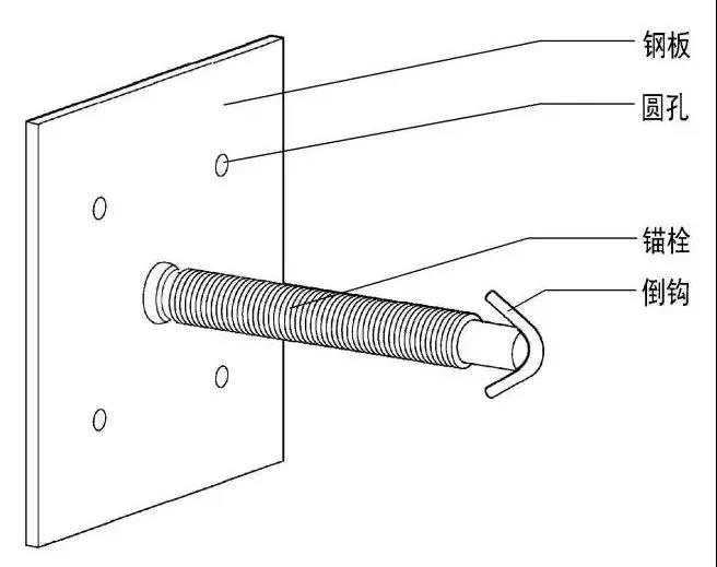
△石材钢板干粘构造施工流程:1)先将基层处理平整,在4块石材的分缝交点位置,打一个圆孔,再将结构胶填入圆孔内。2)将锚栓-钢板焊接为一个整体,然后将这个结构构件植入圆孔,与墙面产生结构连接。3)再将粘贴至钢板位置的石材背面杂物以及钢板上的锈斑清理干净,将石材利用专用干粘胶直接粘在钢板上,并用云石胶临时固定。Ps:这一步的清理工作十分重要,关系到整个施工质量的问题,处理不当石材容易出现脱落。4)钢板在粘贴石材位置钻有一圆孔,圆孔内充满干粘胶,增强干粘胶和钢板之间的剪切力。5)钢板和锚栓通过焊接连接,锚栓通过和墙体内的结构胶和墙体固定牢固,自身的螺纹增强和结构胶之间的握裹力,倒钩的设置增强和墙体之间的固定,防止锚栓被拉出墙体之外。

石材钢板干粘的做法适用于混凝土墙,空心砖墙,混凝土砌块砖墙等多种墙体,完成面更小。2、墙面石材锚栓干挂工艺

△墙面石材锚栓干挂节点墙面石材锚栓干挂工艺仍以“骨肉皮”的形式来理解构造关系,“骨”为挂件+锚栓,“肉”是未经打磨的石材,“皮”的部分为石材的表面处理形式。

△锚栓构件施工流程:1)首先将基层处理平整。2)按照石材排版图,在墙面放线,在每块石材的分缝位置打入锚栓挂件。3)在石材背面开小槽,通过干挂的形式安装石材。

工艺特点:使用的干挂件少,基层厚度得到控制,完成面厚度足以满足绝大多说情况下的设计要求。且使用的干挂件少,极大地简化了施工,人工成本和时间成本都得以减少。总的来说,施工便捷性增加,施工成本降低。03.石材新工艺的优势

以上介绍的2种墙面石材工艺做法,聚焦石材运用场景的问题,解决了石材常规工艺做法的一些不足。在此对比常规工艺做法,墙面石材新工艺做法的优势有4点:1、节省横竖龙骨钢材,施工工艺减少,成本降低;2、现场无焊接工艺,减少安全隐患;3、石材厚度可以更薄,从而控制成本;4、石材安装空间减少,室内有效空间变大。当然,因为该工艺是近年来逐步推广的一种新型工艺,在执行过程中,因为工人师傅水平的高低,及一些其他环境因素的影响,可能在主流的设计项目中,效果不如传统的做法那么理想,因此,暂时还不能代替传统的石材节点做法,但是,可作为拓展知识了解,对未来工艺的交替做好适应和准备。小结:本文讲解了石材工艺做法的相关知识,并介绍了2种石材新工艺,主要讲到:1、石材安装的工艺做法,可分为湿贴、湿挂、干挂、干粘4种。2、只有湿贴的工艺做法,可以运用于地面石材的安装。3、新的墙面石材工艺做法有2种:石材钢板干粘工艺和锚栓干挂工艺,能有效控制石材工艺做法的完成面厚度,增加施工的便捷性,有效控制成本。最后,用一张导图来回顾文章要点吧。
