了解手机sim卡 (手机sim卡槽原理)

了解手机SIM卡

1、SIM卡种类

· SIM卡

Subscriber Identity Module 客户识别模块,1G/2G卡

· STK卡

SIM Tool Kit,用户识别应用发展工具,是在GSM手机使用的大容量SIM卡中开发的应用菜单,2G卡

· UIM卡

User Identity Module ,用户识别模块,在CDMA手机使用,2G卡

· UTK卡

UIM Tool Kit,用户识别应用发展工具,在CDMA手机使用,2G卡

· USIM

Universal Subscriber Identity Module,第三代手机卡(用户全球识别卡),扩展电子钱包、电子信用卡、电子票据等应用,3G卡

· 4G-USIM

Universal Subscriber Identity Module For 4G,4G卡

· e-SIM卡

虚拟卡,4G/5G卡

手机sim卡被锁,手机换sim卡教程

中国移动SIM应用情况

手机sim卡被锁,手机换sim卡教程

中国电信SIM卡应用情况

手机sim卡被锁,手机换sim卡教程

中国联通SIM应用情况

2、SIM发展历史

· 无卡

机卡*绑捆**,一次烧录方式,固定运营商。

· Full size SIM卡(原卡)

标准信用卡尺寸相似。

· mini SIM卡(标准卡)

自1991年开始,SIM卡逐渐变为mini SIM卡,mini SIM卡一般会嵌入在原卡中。

· micro SIM卡(小卡)

2003年开始,欧洲电信标准协会开发出了尺寸更小的micro SIM卡,比标准卡小52%,首次商用的机型为2010年推出的iPhone 4。

· nano SIM卡(微型卡)

2011年起,苹果公司提出nano SIM卡,比micro SIM卡小1/3,比标准SIM卡小将近60%。

· e-SIM卡(虚拟卡)

苹果与三星日前开始联手研发全新的e-SIM卡嵌入式技术,用软件方式选择运营商。

手机sim卡被锁,手机换sim卡教程

不同SIM卡大小比较

3、SIM卡构成

SIM卡由微处理器+EEPROM存储器+串行通信组成。

下图是一个PIC16F84+24LC16B的例子

手机sim卡被锁,手机换sim卡教程

一个SIM卡示例

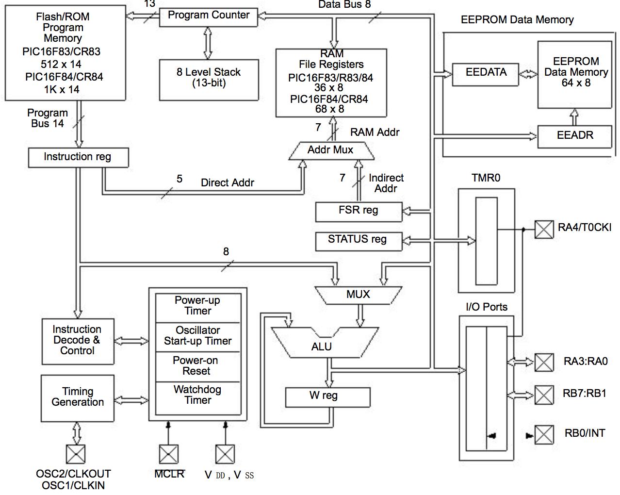
· 8位处理器+EEPROM

手机sim卡被锁,手机换sim卡教程

SIM逻辑结构

· 2线串行通信EEPROM

手机sim卡被锁,手机换sim卡教程

串行通信组成

4、SIM卡存储容量

SIM卡芯片容量有16Kbit、32Kbit、64Kbit、128Kbit、512Kbit、1Mbit多种,能提供多媒体业务、非接触业务。

现在有供应商提供32Gbit、64Gbit、128Gbit、256Gbit等容量的所谓超级SIM卡,除了实现SIM卡的基本功能,还用于扩展手机存储空间。

128KB存储容量可供储存信息如下:

(1)1000组电话号码及其对应的姓名文字

(2)40组短信息

(3)5组以上新拨出的号码

(4)4位SIM卡密码(PIN)。

5、SIM卡上系统

COS(Card Operating System)操作系统

SIM卡COS系统由4部分组成:通信管理模块、安全管理模块、应用处理模块、文件管理模块。

手机sim卡被锁,手机换sim卡教程

COS操作系统组成

6、SIM卡文件系统

SIM卡文件系统由GMS11.11定义,有三种文件格式:

· MF(Master File) ---类似根目录

· DF(Dedication File) ---类似文件夹,地址指针

· EF(Elementary File) ---文件

Transparent File-透明文件,只存储一个BCD数据

Linear File---线性文件,单位为record,多个record构成文件,线性指针

Cyclic File---循环文件,单位为record,多个record构成文件,循环指针

· 文件名---用File ID表示

手机sim卡被锁,手机换sim卡教程

标准文件结构

手机sim卡被锁,手机换sim卡教程

文件结构示例

7、SIM卡主要信息

· ICCID

Integrate circuit card identity 集成电路卡识别码,固化在手机SIM卡中。

· IMSI

International Mobile Subscriber Identity,国际移动用户识别码,用于在全球范围唯一标识一个移动用户。IMSI保存在HLR、VLR和SIM卡中。

· TMSI

Temporary Mobile Subscriber Identity,临时移动用户标识,采用TMSI来临时代替IMSI的目的为了加强系统的保密性,防止非法个人或团体通过监听无线路径上的信令窃取IMSI或跟踪用户的位置。

· SRES

· Signed RESponse,鉴权响应。

8、SIM卡ICCID

ICCID有20位十进制数。

· 中国移动编码格式

89860 0MFSS YYGXX XXXXP

· 中国联通编码格式

89860 1YYMH AAAXX XXXXP

· 中国电信编码格式

89860 3MYYH HHXXX XXXXX

· 前面6位为网络代号

中国移动代号:898600,898602,898604,898607

中国联通代号:898601,898606,898609

中国电信代号:898603,898611

· YY-年号

其余:供应商代码、用户识别码、校验位等。

9、SIM卡与移动网络

· IMSI

International Mobile Subscriber Identity

国际移动用户识别码)用于在全球范围唯一标识一个移动用户。IMSI保存在HLR、VLR和SIM卡中。

· TMSI

Temporary Mobile Subscriber Identity

临时移动用户标识。采用TMSI来临时代替IMSI的目的为了加强系统的保密性,防止非法个人或团体通过监听无线路径上的信令窃取IMSI或跟踪用户的位置。

· SRES

Signed RESponse

鉴权响应。

· Kc

ciphering key,加密密钥。

手机sim卡被锁,手机换sim卡教程

SIM与手机和移动通信系统关系