
学服装的小伙伴注意啦!一大波福利接近中,史上最全的服装标准术语大放送。虽然不一定全部你都要认识并背下,但是记下几个常用的,在日常的学习生活中,相信会让你显得更加专业哦~
一、服装标准术语
服装款式:style 指服装的式样 通常指形状因素 是造型要素中的一种。
服装造型:modeling 指由服装造型要素构成的总体服装艺术效果。
服装轮廓:silhouette 即服装的逆光剪影效果。
款式设计图:designdrawing 指体现服装款式造型的平面图。
服装效果图:effectdrawing 指表现人体在特定时间 特殊场所穿着服装效果的图
服装裁剪图:cuttingdrawing 即用曲 直 斜 弧线等特殊图线及符号将服装款式造型分解展开成平面裁剪方法的图。
服装结构线:structureline 指在服装图样上 表示服装部件裁剪 缝纫结构变化的线。
二、服装产品行业术语
服装:garments clothing apparel
成衣:ready-to-wear 按照规定的尺寸 以批量生产方式制作的服装。
定制服装:customermade 根据个人量体尺寸 单件剪裁 制作完成的服装。
毛呢服装:woolengarment 由纯毛 毛混纺织物为面料制成的服装。
棉布服装:cottonclothes 由全棉 棉混纺织物制成的服装。
丝绸服装:silkgarment 由天然丝 人造丝 合成丝织物制成的服装。
化纤服装:chemicalfiber garment 由各种化学纤维织物制成的服装。
裘革服装:fur orleather garment 由裘皮或革皮制成的服装。
人造毛皮服装:artificialfur and leather garment 由天然或化学纤维仿各种毛皮的织物为面料制成的服装。
婴儿服装:infantswear 适合周岁以内婴儿穿着的服装。
服饰:clothing 指装饰人体的物品总称。包括服装 鞋 帽 袜子 手套 围巾 领带 提包 阳伞 发饰等。
按穿着对象分类:
男式服装:mens wear 简称男装 是成年男子穿着的服装。
女式服装:womenswear 简称女装 是成年女子穿着的服装。
儿童服装:childrenswear 简称童装 是适合儿童穿着的服装。
职业服:professionalgarments 职业服是社团或行业成员在社会环境中从业工作时 为展示整体形象需要 满足工作者的动作要求 从而为达到社团目标所穿着的服装。
上装的成品术语:
西服:Western-style.clothes 又称西装 即西式上衣的一种形式。按钉纽扣的左右排数不同 可分为单排扣西服和双排扣西服;按照上下粒数的不同 分为一粒扣西服 两粒扣西服 三粒扣西服等。粒数与排数可以有不同的组合 如单排两粒扣西服 双排三粒扣西服等;按照驳头造型的不同 可分为平驳头西服 枪驳头西服 青果领西服等。西服已成为国际通行的男士礼服。
背心:vest 也称为马甲或坎肩 是一种无领无袖 且较短的上衣。
牛仔服:cowboysclothes 原为美国人在开发西部 黄金热时期所穿着的一种用帆布制作的上衣。
中山服:Zhongshancoat 又称中山装。根据孙中山先生曾穿着的款式命名。
茄克:jacket 指衣长较短 胸围宽松 紧袖口克夫 紧下摆克夫式样的上衣。
猎装:huntingwear 原本是适合打猎时所穿的服装 具有防露水和*弹子**袋收腰等结构。
衬衫:shirt 按照穿着对象的不同分为男衬衫和女衬衫。按照用途的不同可分为配西装的传统衬衫和外穿的休闲衬衫
棉袄:cottonpadded coat 凡是内絮棉花 腈纶棉 太空棉 驼毛等保温材料的上衣均称为棉袄。
羽绒服:down coat 内充羽绒填料的上衣。
下装的成品术语:
背心裙:Jumperskirt 指上半身连有无领无袖背心结构的裙装。
斜裙:bias skirt 指从腰部到下摆斜向展开的裙子。
鱼尾裙:fish tailskirt 指裙体呈鱼尾状的裙子。
腰部 臀部及大腿中部呈合体造型 往下逐步放开下摆展成鱼尾状。
超短裙:miniskirt 又称迷你裙。这是一种长度在大腿中部及以上的短裙
筒裙:barrelskirt tube skirt 又称统裙 直裙或直统裙。
旗袍裙:cheongsamskirt hobble skirt slim skirt 通常指左右侧缝开衩的裙。
西服裙:tailoredskirt 又称西装裙。它通常与西服上衣或衬衣配套穿着。
裤子的成品术语:
西裤:trousers/pants 主要指与西装上衣配套穿着的裤子。
背带裤:bib pants 指裤腰上装有跨肩背带的裤子。
马裤:ridingbreeches 指骑马时穿着的裤子。
灯笼裤:knickerbockers knickers bloomers pantalets 指裤管直筒宽大 裤脚口收紧 外形似灯笼状的一种裤子。
连衣裤:overalls 指上衣与裤子连为一体的服装。
喇叭裤:flaretrousers bell-bottompants 指裤腿成喇叭形的西裤。
全身装成品术语:
连衣裙:one-piecedress 指上衣与下裙连成单体的一件式服装。
旗袍:Qipao Chinese dress 也称中式旗袍。其主要结构特征是立领 右大襟 紧腰身 下摆开衩等。
新娘礼服:bridalgown bridal veil 是指女性在出嫁时所穿着的服装。
燕尾服:swallow-tailedcoat swallowtail 是男士在正规的特定场合穿着的礼服。
夜礼服:eveningdress evening suit 指夜间社交场合中 女士所穿着的华丽裙服。
大衣:overcoat 指为了防风御寒 上下连为一体 穿在一般衣服外面的长外衣。
雨衣:weather-allcoat & cloak 用于防风防雨两用的外衣 有单 夹 长 短之分。
披风:dress smock manteau mantle 无袖 颈部系带 披在肩上的防风外衣。
睡衣裤:sleepwear 指包括上衣和裤子两件式配套穿着的睡衣。
套装:suit 指上下装配套穿着的服装。通常由同种同色面料制作 使上下成为格调一致的造型。
三、服装的造型术语
服装的整体效果是由各部件的造型组合决定的。这些部件就是造型要素或元素。
领子的造型名称:
中山服领:zhongshancoat collar 由底领和翻领组成 领角呈外八字形。
尖领:pointedcollar peakedcollar 领角呈尖角形的领型 也叫尖角领。
衬衫领:shirt collar 或衬衣领 由上领和下领组成 是衬衫专有的领型。
圆领:roundcollar〕指领角呈圆形的领型 也叫圆角领。
青果领:shawlcollar 是翻驳领的一种变形 领面形似青果形状的领型。
燕子领:swallowcollar wing collar 领面下止口的两条线形 似燕子飞翔时翅膀张开的形状。
两用领:convertiblecollar 也叫开关领。指可敞开 可关闭的领型。
方领:squarecollar 指领角呈方形的领型。如领面较窄 则称之为小方领。
中式领:mandarincollar 指中式服装的领型 其结构为圆领角关门的立领。
立领:standcollar Mao collar 指领子向上竖起紧贴颈部的领型。
圆领口:roundneckline 领圈呈圆形 根据情况领圈可开大开小 圆弧可呈圆形或呈椭圆等形状。
方领口:squareneckline 领圈呈方形。根据爱好可开成长方形或横向方形。
一字领口:boatneckline slitneckline off neckline 前后衣片在肩部缝合只剩颈圈部位 前后领圈成一字形状 即呈水平线形状。
鸡心领口:sweetheartneckline heart shapedneckline 也叫桃形领 领圈呈鸡心形状 即下部尖 上部成圆弧状。
底领:collarstand collar band 也称领座 是连接领口与翻领的部位。
翻领:lapel 指翻在底领外面的领面造型。
领上口:fold lineof collar 领面的翻折线 即领外翻的连折处。
领下口:under lineof collar 领子与领窝的缝合部位。
领里口:top collarstand 指领上口到领下口之间的部位 也叫领台高或起登。
领外口:collaredge〕指领子的外侧边沿处。
领豁口〕也叫驳嘴 指领嘴与驳角间的距离。
袖子的造型名称:
圆袖:set-insleeve 也称装袖 指在臂根围处与大身衣片缝合连接的袖型
前圆后连袖:splitraglan sleeve 指前袖椭圆形 后袖与肩相连的袖。
衬衫袖:shirtsleeve 一片袖结构 长袖装有袖克夫。
连肩袖:raglansleeve 又称插肩袖 是肩与袖连为一体的袖型。
喇叭袖:flare sleeve;trumpet sleeve 指袖管形状与喇叭形状相似的袖子。
泡泡袖:puffsleeve〕指在袖山处抽碎褶而蓬起呈泡泡状的袖型。
灯笼袖:lanternsleeve; puff sleeve 指肩部泡起 袖口收缩 整体袖管呈灯笼形鼓起的袖子。
蝙蝠袖:batwingsleeve 在肩袖连接处 袖窿深即腰节附近 整体造型如蝙蝠翅膀张开状的袖子。
花瓣袖:petalsleeve 或称蚌壳袖 也叫郁金香花瓣袖 指袖片交叠如倒挂的花瓣的袖型。
袖口:sleeveopening〕袖管下口的边沿部位。
衬衫袖口:cuff 即理克夫 指装袖头的小袖口。
橡皮筋袖口:elasticcuff〕指装橡皮筋的袖口。
罗纹袖口:rib-knitcuff〕指装罗纹口的袖口。
袖头:cuff〕缝在袖口的部件。
双袖头:doublecuff; French cuff; tumup-cuff; fold-back cuff 指外翻的袖头。
袖开衩:sleeveslit〕指袖口部位的开衩。
袖衩条:sleeveplacket 缝在袖开衩部位的斜丝缕的布条。
大袖:top sleeve 指两片袖结构中较大的袖片 也称外袖。
小袖:undersleeve 指两片袖结构中较小的袖片 也称内袖或里袖。
口袋的造型名称:
插袋:insertpocket 指在衣身前后片缝合处 留出袋口的隐蔽性口袋。
贴袋:patchpocket 指在衣服表面直接用车缉或手缝袋布做成的口袋。
开袋:insertpocket 指袋口由切开衣身所得 袋布放在衣服里面的口袋。
双嵌线袋:doublewelt pocket 指袋口装有两根嵌线的口袋。
单嵌线袋:singlewelt pocket 指袋口装有一根嵌线的口袋。
卡袋:card pocket 指专为放置名片 小卡片而设计的小口袋。
手巾袋:breastpocket 指西装胸部的开袋。
眼镜袋:glassespocket 指专为放置眼镜的口袋。
锯齿形里袋:zigzaginside pocket 指在袋口装有锯齿形花边的里袋 也叫三角形里袋。
有盖贴袋:patchpocket with flap 指在贴袋口的上部装有袋盖的口袋。
吊袋:bellowspocket 指袋边沿活口的袋 又称老虎袋 风箱袋。
风琴袋:accordionpocket 通常指袋边沿装有似手风琴风箱伸缩形状的袋。
暗裥袋:invertedpleated pocket 指袋中间活口的袋。
明裥袋:boxpleated pocket 指袋中间两边活口的袋。
里袋:insidepocket 衣服前身里子上的口袋。
小部件造型名称:
领袢:collar tab 领子或领嘴处装的小袢。
吊袢:hanger loop 装在衣领处挂衣服用的小袢。
肩袢:shouldertab; epaulet 装饰在服装肩部的小袢。
腰袢:waist tab 装在腰部的 为了穿入皮带或腰带用的小袢。
腰带:waistbelt 用以束腰的带子。
线袢:French tack 用粗线打成的小袢 多在夏装连衣裙上使用。
挂面:facing 又称过面或贴边 指装在上衣门里襟处的衣片部件。
耳朵皮:flange 在西装的前身挂面里处 为做里袋所拼加的一块面料。
滚条:binding 指包在衣服边沿(如止口 领外沿与下摆等)或部件边沿处的条状装饰部件。
塔克:tuck 服装上有规则的装饰褶子。
盖:flap 固定在袋口上部的防脱露部件。
四、服装部位结构名称
肩缝:shoulderseam 在肩膀处 前后衣片相连接的部位。
领嘴:notch 领底口末端到门里襟止口的部位。
门襟:front fly;top fly 在人体中线锁扣眼的部位。
里襟:under fly 指钉扣的衣片。
止口:front edge 也叫门襟止口 是指成衣门襟的外边沿。
搭门:overlap 指门襟与里襟叠在一起的部位。
扣眼:button-hole 纽扣的眼孔。
眼距:button-holespace 指扣眼之间的距离。
窿:armhole 也叫袖孔 是大身装袖的部位。
驳头川:lapel 里襟上部向外翻折的部位。
平驳头:notchlapel 与上领片的夹角成三角形缺口的方角驳头。
戗驳头:peak lapel 驳角向上形成尖角的驳头。
胸围:bust。指前衣片前胸最丰满处。
腰节:waist 指衣服腰部最细处。
摆缝:side seam 指袖窿下面由前后身衣片连接的合缝。
底边:hem 也叫下摆 指衣服下部的边沿部位。
串口:gorge line 指领面与驳头面的缝合线 也叫串口线。
驳口:fold linefor lapel 驳头翻折的部位 驳口线也叫翻折线。
止口圆角:front cut 指门里襟下部的圆角造型。
扣位:buttonposition 纽扣的位置。
前过肩:front yoke 连接前身与肩合缝的部件 也叫前育克。
领省:neck dart 指在领窝部位所开的省道。
前腰省:frontwaist dart 指开在衣服前身腰部的省道。
前肩省:frontshoulder dart 指开在前身肩部的省道。
上装后身的部位名称:
总肩宽:acrossshoulder 指在后背处从左肩端经后颈中点(第七颈椎点)到右肩端的部位。
后过肩:back yoke 也叫后育克 指连接后衣片与肩合缝的部件。
背缝:center backseam 又叫背中缝 是指后身人体中线位置的衣片合缝。
背衩:back vent 也叫背开衩 指在背缝下部的开衩。
衩 side slit 又叫侧摆衩 指侧摆缝下部的开衩。
领窝:neck 指前后衣片在肩部缝合后 再与领子缝合的部位。
后领省:back neckdart 指开在后领窝处的领省 多呈八字形。
后肩省:backshoulder dart 指开在后身肩部的省道。
后腰省:back waistdart 指开在后腰部的省道。
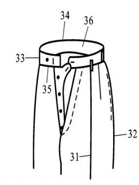
下装的部位:
上裆:seat 又叫直裆或立裆 指腰头上口到横裆间的距离或部位。
烫迹线:creaseline 又叫挺缝线或裤中线 指裤腿前后片的中心直线。
脚口:turn-upbottom 指裤脚口往上外翻的部位。
裤脚口:bottomleg opening 指裤腿下口边沿。
横裆:thigh 指上裆下部的最宽处 对应于人体的大腿围度。
侧缝:side seam 在人体侧面 裤子前后身缝合的外侧缝。
中裆:leg width 指人体膝盖附近的部位。
腰头:waistband 指与裤子或裙身缝合的带状部件。
腰缝:waistbandseam 指腰头与裤或裙身缝合后的缝子。
腰里:waistbandlining 指腰头的里子。
裤(裙)腰省:waistdart 裤(裙)前后身为了符合人体曲线而设计的省道 省尖指向人体的突起部位 前片为小腹 后片为臀大肌。
裤(裙)裥:pleat 指裤(裙)前身在裁片上预留出的宽松量 通常经熨烫定出裥形 在装饰的同时增加可运动松量。
小裆缝:front crutch 裤子前身小裆缝合的缝子。
后裆缝:back rise 裤子后身裆部缝合的缝子。
省道:dart
滚眼:boundbutton hole 用面料做的扣眼。
前过肩:front yoke 连接前身与肩缝合的部件。
门襟翻边:placket 外翻的门襟边。
前腰省:frontwaist dart 衣服前身腰部的省道。
胁省:underarmdart 衣服两侧腋下处的省道。
横省:side dart 腋下摆缝处至胸部的省道。
前肩省:frontshoulder dart 前身肩部的省道。
肚省:fish dart 大袋口部位的横省。
前身通省:frontopen dart 从肩缝到下摆的开刀缝。
刀背缝:princessseam 弯形的开刀缝。
总肩:across backshoulder 从左肩端至右肩端的部位。
后过肩:back yoke 连接后身与肩缝合的部件。
背缝:center backseam 后身中间缝合的缝子。
背叉:vent 背缝下部开叉。
摆叉:side vent 摆缝下部开叉。
后搭门:backoverlap 门里襟开在后背处。
领窝:neckline 前后身与领子缝合的部位。
后领省:back neckdart 后领窝处呈八字形的省道。
后肩省:backshoulder dart 后身肩部的省道。
后腰省:back waistdart 后身腰部的省道。
后身通省:back opendart 从肩缝到下摆的开刀缝。
下装的部位:
裤头:waistband
腰头钮:waistbandbutton
里襟尖咀:buttontab
裤头里:waistbandlining
裤头钮:bearerbutton
宝剑头 裤头搭咀:extendedtab
门襟 钮牌:left fly
钮牌扣眼:flybuttonhole
裤门襟:front fly
裤裆垫布:crutchlining
侧骨:side seam
下裆缝:insideseam
膝盖绸:reinforcementfor knees
裤脚:leg opening
卷脚 反脚:turn-upcuff
贴脚条:heel stay
裤中线:creaseline
四、服装成品部位、部件名词术语
服装设计、制作、工艺质量评比所涉及的服装部位、部件的名称。
1、戗驳头
2、底边
3、串口
4、假眼
5、驳口
6、止口圆角

上装部位(前身)▲
7、后过肩
8、背缝
9、背衩
10、后搭门
11、后肩省
12、后腰省

上装部位(后身)▲
13、倒挂领
14、领上口
15、领下口
16、领里口
17、领外口
18、领豁口

上装部件(领)▲
31、烫迹线
32、侧缝
33、腰头
34、腰头上口
35、腰缝
36、腰里

37、侧缝直袋
38、后袋
39、门襟
40、里襟
41、里襟尖嘴
42、串带

下装部位▲


上装部件(袖)▲
1、衬衫袖 | 2、圆装袖
3、中缝圆袖 | 4、前圆后连袖
5、连肩袖 | 6、连袖


上装部件(口袋)▲
1、有盖贴袋 | 2、压爿贴袋
3、吊袋 | 4、风琴袋
5、暗裥袋 | 6、明裥袋