目 录
第一节 钢筋基本知识
第二节 钢筋连接注意事项
第三节 钢筋施工质量通病及预防措施
第一节 钢筋础本知识
一、钢筋基础知识
1、钢筋定义:钢筋(Rebar)是指钢筋混凝土用和预应力钢筋混凝土用钢材,其横截面为圆形,有时为带有圆角的方形。
2、钢筋分类:
(1)按直径大小分为:钢丝(直径3~5mm)、细钢筋(直径6~10mm)、粗钢筋(直径大于22mm)。
(2)按力学性能分为:Ⅰ级钢筋(300/420级);Ⅱ级钢筋(335/455级);Ⅲ级钢筋(400/540)和Ⅳ级钢筋(500/630)
(3)按生产工艺分为:热轧、冷轧、冷拉的钢筋,还有以Ⅳ级钢筋经热处理而成的热处理钢筋,强度比前者更高。
(4)按在结构中的作用分为:受压钢筋、受拉钢筋、架立钢筋、分布钢筋、箍筋等
(5)配置在钢筋混凝土结构中的钢筋,按其作用可分为下列几种:
①受力筋—承受拉、压应力的钢筋。
②箍筋—承受一部分斜拉应力,并固定受力筋的位置,多用于梁和柱内。
③架立筋—用以固定梁内钢箍的位置,构成梁内的钢筋骨架。
④分布筋—用于屋面板、楼板内,与板的受力筋垂直布置,将承受的重量均匀地传给受力筋,并固定受力筋的位置,以及抵抗热胀冷缩所引起的温度变形。
⑤其它—因构件构造要求或施工安装需要而配置的构造筋。如腰筋、预埋锚固筋、预应力筋,环等。
(6)按轧制外形分为:
①光面钢筋:I级钢筋(Q300钢钢筋)均轧制为光面圆形截面,供应形式有盘圆,直径不大于10mm,长度为6m~12m。
②带肋钢筋:有螺旋形、人字形和月牙形三种,一般Ⅱ、Ⅲ级钢筋轧制成人字形,Ⅳ级钢筋轧制成螺旋形及月牙形。
③钢线(分低碳钢丝和碳素钢丝两种)及钢绞线。
④冷轧扭钢筋:经冷轧并冷扭成型。

二、钢筋连接方式:
1、钢筋连接定义:钢筋连接是指钢筋的连接方式。
2、钢筋的连接方式主要有绑扎搭接、机械连接、套管灌浆连接和焊接四种。
(1)绑扎搭接:这种方法也就是利用了钢筋和混凝土之间有一种粘结力,从而来传递钢筋的应力。把两根相向受力的钢筋固定在搭接连接区段的混凝土中,然后依靠混凝土与钢筋之间的粘结力,把力传递给到了混凝土这样子就实现了钢筋与钢筋之间应力的相互传递。
①根据工艺分为支柱钢筋绑扎、梁加固绑扎、板加固绑带、楼梯加固绑带和柱环绑扎五种。
②根据绑扎方法分为一面顺扣绑扎法、十字花扣绑扎法、反十字花扣绑扎法、兜扣绑扎法、缠扣绑扎法五种。

(2)机械连接:
①钢筋套筒挤压连接接头:通过挤压力使连接件钢套筒塑性变形与带肋钢筋紧密咬合形成的接头。有两种形式,径向挤压连接和轴向挤压连接。适用于按一、二级抗震设防要求的钢筋混凝土结构中Ф20~32mm的Ⅱ、Ⅲ级热轧带肋钢筋现场连接施工。

②钢筋锥螺纹连接接头:通过钢筋端头特制的锥形螺纹和连接件锥形螺纹咬合形成的接头。适用于Ф18~50mm的Ⅱ、Ⅲ、Ⅳ级带肋钢筋(包括焊接性差的钢筋),相同直径或不同直径钢筋之间的连接。

③钢筋直螺纹连接接头:
a、镦粗直螺纹连接接头:通过钢筋端头镦粗后制作的直螺纹和连接件螺纹咬合形成的接头。适用于钢筋直径为Ф16~40mm的Ⅱ、Ⅲ级竖向、斜向或水平钢筋的现场连接施工。

b、滚压直螺纹连接接头:通过钢筋端头直接滚压或挤(碾)压肋滚压或剥肋后滚压制作的直螺纹和连接件螺纹咬合形成的接头。
滚压直螺纹连接接头有三种类型:直接滚压螺纹、挤(碾)压肋滚压螺纹、剥肋滚压螺纹。

(4)焊接连接:就是在两个受力的钢筋之间用一个金属熔融在一起,然后就可以实现两个钢筋的直接传力,这也是现在非常理想的一种连接方式。分为电阻电焊、闪光对焊、电渣压力焊、气压焊、电弧焊几种,使用中应注意:
①电阻电焊:用于钢筋焊接骨架和钢筋焊接网。焊接骨架较小钢筋直径不大于10㎜时,大小钢筋直径之比不宜大于3倍;较小直径为12~16㎜时,大小钢筋直径之比不宜大于2倍。焊接网较小钢筋直径不得小于较大直径的60%。

②闪光对焊:钢筋直径较小的400级以下钢筋可采用“连续闪光焊”,钢筋直径较大,端面较平整时,宜采用“预热闪光焊”,钢筋直径较大,端面不平整时,应采用“闪光-预热闪光焊”。连续闪光对焊所能焊接的钢筋直径上限应根据焊接容量,钢筋牌号等具体情况而定,具体要求见《钢筋焊接及验收规程》JGJ18-2012。不同直径钢筋焊接时径差不得超过4㎜。

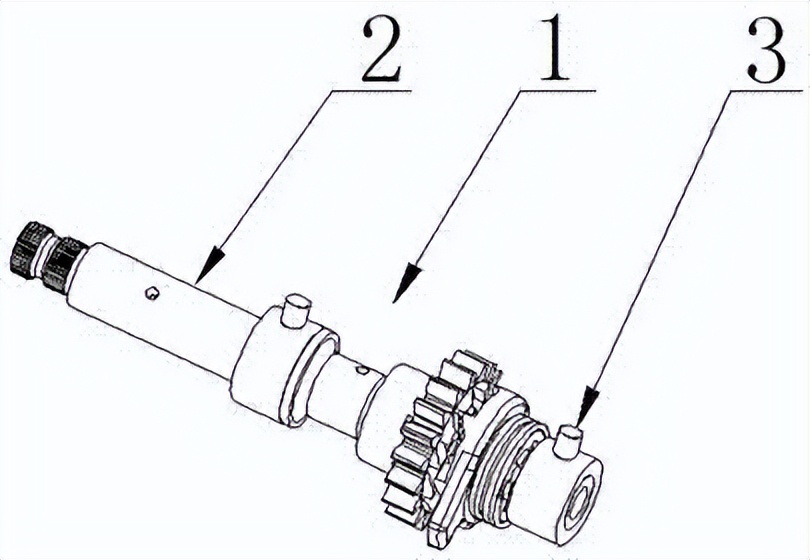
钢筋闪光对焊原理
1-焊接的钢筋;2-固定电极;3-可动电极;4-机座;5-变压器;6-平动顶压机构;7-固定支座;8-滑动支座
③电渣压力焊:仅用于柱、墙等构件中竖向或斜向(倾斜度不大于10°)钢筋。不同直径钢筋焊接时径差不得超过7㎜。

④气压焊:可用于钢筋在垂直位置、水平位置或倾斜位置的对接焊接。不同直径钢筋焊接时径差不得超过7㎜。

⑤电弧焊:包括帮条焊、搭接焊、坡口焊、窄间隙焊和熔槽帮条焊。帮条焊、熔槽帮条焊使用时应注意钢筋间隙的要求。窄间隙焊用于直径≥16㎜钢筋的现场水平连接。熔槽帮条焊用于直径≥20㎜钢筋的现场安装焊接。

3、钢筋连接原则:
(1)接头应尽量设置在受力较小处,应避开结构受力较大的 关键部位 。 抗震设计 时避开梁端、柱端 箍筋 加密范围,如必须在该区域连接,则应采用机械连接或焊接。
(2)在同一跨度或同一层高内的同一 受力钢筋 上宜少设连接接头,不宜设置2个或2个以上接头。
(3)接头位置宜互相错开,在连接范围内,接头钢筋面积百分率应限制在一定范围内。
(4)在钢筋连接区域应采取必要的构造措施,在 纵向受力钢筋搭接长度 范围内应配置横向 构造钢筋 或箍筋。
(5)轴心受拉及小偏心受拉杆件(如桁架和拱的拉杆)的 纵向受力钢筋 不得采用绑扎 搭接接头 。
(6)当受拉钢筋的直径d>25mm及受压钢筋的直径d>28mm时,不宜采用绑扎搭接接头,宜采用机械连接或焊接。

第二节 钢筋连接注意事项
一、钢筋连接方式注意事项:
钢筋直螺纹接头在同一连接区段内有接头的受力钢筋截面面积占受力钢筋总截面面积的百分率(以下简称接头百分率),应符合下列规定:
1、接头宜设置在结构构件受拉钢筋应力较小部位,当需要在高应力部位设置接头时,在同一连接区段内Ⅲ级接头的接头百分率不应大于25%;Ⅱ级接头的接头百分率不应大于50%;Ⅰ级接头的接头百分率可不受限制。
2、接头宜避开有抗震设防要求的框架的梁端、柱端箍筋加密区;当无法避开时,应采用Ⅰ级接头或Ⅱ级接头,且接头百分率不应大于50%。
3、受拉钢筋应力较小部位或纵向受压钢筋,接头百分率可不受限制。
4、对直接承受动力荷载的结构构件,接头百分率不应大于50%。
5、接头连接件的屈服承载力和受拉承载力的标准值不应小于被连接钢筋的屈服承载力和受拉承载力标准值的1.10倍。
6、钢筋机械连接的连接区段长度按35d计算。
7、钢筋直螺纹加工应符合下列规定:钢筋端部应切平或镦平后加再工螺纹,墩粗头不得有与钢筋轴线相垂直的横向裂纹。
8、钢筋丝头长度应满足企业标准中产品设计要求,公差应为0~2.0p(p为螺距):钢筋丝头宜满足6f级精度要求,应用专用直螺纹量规检验,通规能顺利旋入并达到要求的拧入长度,旋入不得超过3p。抽检数量10%,检验合格率不应小于95%。
9、安装接头时可用管钳扳手拧紧,应使钢筋丝头在套筒中央位置相互顶紧。标准型接头安装后的外露螺纹不宜超过2p。
10、直螺纹接头安装时的最小拧紧扭矩值。

11、钢筋机械连接接头的现场检验应按验收批进行。同一施工条件下采用同一批材料的同等级、同形式、同规格接头,应以(500)个为一个验收批进行检验与验收,不足(500)个也应作为一个验收批。
12、对接头的每一验收批,必须在工程结构中随机截取3个接头试件作抗拉强度试验,按设计要求的接头等级进行评定。如有1个试件的抗拉强度不符合要求,应再取(6)个试件进行复检。复检中如仍有1个试件的抗拉强度不符合要求,则该验收批应评为不合格。
13、现场检验连续10个验收批抽样试件抗拉强度试验一次合格率为100%时,验收批接头数量可扩大一倍。现场截取抽样试件后,原接头位置的钢筋允许采用同等规格的钢筋进行搭接连接,或采用焊接及机械连接方法补接

对抽检不合格的接头验收批,应由建设方会同设计等有关方面研究后提出处理方案

14、钢筋端部不得有影响螺纹加工局部弯曲;钢筋丝头长度应满足设计要求,使拧紧后的钢筋丝头不得相互接触,丝头加工长度公差应为—0.5p~1.5p。

钢筋丝头的锥度和螺距应使用专用锥螺纹量规检验;抽检数量10%,检验合格率不应小于95%

15、钢筋端部不得有局部弯曲,不得有严重锈蚀和附着物;钢筋端部应有检查插入套筒深度的明显标记,钢筋端头离套筒长度中心点不宜超过10mm。

挤压应从套筒中央开始,依次向两端挤压,压痕直径的波动范围应控制在供应商认定的允许波动范围内, 并提供专用量规进行检查。挤压后的套筒不得有肉眼可见的裂纹。

第三节 钢筋施工质量通病及预防措施
一、柱钢筋1、质量通病
(1)梁、柱交接处核心箍数量不足。
(2)直螺纹连接漏丝不均匀、电渣压力焊不饱满。
(3)柱主筋变径错误、柱截面改变柱子收头不规范。
(4)柱筋定位箍施工不规范,有钢筋偏位的现象。
(5)柱箍筋规格 、加密区高度不符合图纸规范,柱箍筋漏绑等。(6)柱纵筋没有长短交错、露出长度不符合规范。
(7)柱保护层未满足最小保护层厚度。
2、 防治措施
(1)施工班组长提高自己的责任心,根据层高及图集要求计算出该层应该套多少箍筋,跟工人进行交底,避免出现梁、柱交接处核芯箍现象。梁、柱交接处核心箍按10cm一道施工。
(2)车丝人员先实验每种规格的丝头应该有几个丝、有多少长度,现场作业人员上下用螺纹钳拧均匀,保证柱子直螺纹连接上下露丝1个半。柱钢筋在采用电渣压力焊时,要注意焊包偏位、空洞,上下钢筋对齐,保证焊剂质量、把握焊接时间,电渣压力焊不饱满的及时割掉重焊。在绑扎过程中,需提前把焊渣敲打干净后再绑扎。
(3)现场带班按图施工,钢筋翻样人员按图纸图集翻样,保证柱筋规格符合图纸、柱截面符合图纸、收头符合图集规范。
(4)距混凝土成形面5cm一道,上部、中部再套一道。
(5)柱箍筋规格、间距,加密区高度按图纸、图集施工。柱纵向钢筋与箍筋绑扎时,不容许跳绑,得全部绑扎到位。
(6)加强钢筋翻样人员对图集的学习,按图集进行。
(7)施工现场进行实测实量,保证钢筋保护层。
(8)加强钢筋翻样与班组长对图集的学习,层边柱内侧钢筋、层中柱钢筋够直锚。

二、墙钢筋
1、质量通病
(1)电渣压力焊焊包不饱满,上下筋错位,绑扎墙筋前焊渣未敲净。
(2)下料有偏差,外墙竖向钢筋过长。
(3)墙水平筋(外侧与内侧)在同一位置搭接,没有按接头百分率错开接头。
(4)地下室外墙竖向钢筋接头位置错误。
(5)外墙外侧无保护层,外墙外侧钢筋露筋后果很严重,最终把整个外墙破坏掉。
(6)外墙纵筋弯折按墙厚减保护层,不知施工依据是什么。
(7)墙纵向钢筋搭接长度过长,直接按墙高度布置。墙封时墙竖向钢筋应该是减去下面预留长度再加搭接长度。
(8)墙拉筋绑扎不规范,要么间距不对,要么做法不对,要么没拉住墙水平筋,要么拉筋长度不对,施工时不是垂直拉而是斜拉。
2、 防治措施
(1)要注意焊包偏位、空洞,上下钢筋对齐,对于焊包不饱满、上下筋错位的电渣压力焊割掉重焊,绑扎墙筋焊渣未敲净。
(2)钢筋翻样人员现场实测实量,根据图纸图集进行下料。
(3)墙水平筋(外侧与内侧)按接头百分率错开接头。
(4)地下室外墙竖向钢筋接头位置错误,根据规范外墙外侧竖向钢筋应位于墙高中间的1/3区域,外墙内侧竖向纵筋应位于墙高根部的1/4区域。
(5)根据图纸说明选择合适的保护层,按方案间距将保护层挂上。
(6)外墙纵筋弯折按图集施工。
(7)剪力墙竖向钢筋搭接长度,在下料时需注意,按图纸、图集、规范要求施工。墙封时墙竖向钢筋长度应该是减去下面预留长度再加搭接长度。
(8)墙拉筋按图纸、图集要求进行钢筋翻样,控制其长度与形状。按图纸要求进行绑扎墙体拉结筋,垂直拉。

三、梁钢筋
1、质量通病
(1)部分梁筋未分开且未绑扎。
(2)腰筋绑扎点数量过少,跳扎现象严重,拉筋跳扎现象严重。
(3)梁底筋绑扎不到位,垫块数量少、或强度不足。
(4)框架梁箍筋加密区长度不足。
(5)二排筋间距过大。
(6)大直径的钢筋采用绑扎搭接。
(7)构造腰筋搭接长度偏长。
(8)直螺纹漏丝偏多。
(9)次梁底筋锚入支座长度偏长。
(10)有抗震要求的框架梁,拉钩斜挂且未弯135°。
(11)非抗震要求的次梁拉钩按135°施工,且按10d施工。
(12)梁上部钢筋采用绑扎接头却未在接头位置加密箍筋。
(13)主次梁交接处,主梁两侧附加箍筋遗漏。吊筋按次梁高度施工。(14)接头位置未在受力最小处,或相邻接头未错开。
(15)梁支座负筋未按图集要求施工,长度不足。
2、防治措施
(1)提高队伍的自身要求,先把梁抬高,用钢管支架固定,待梁上下钢筋包括腰筋全部绑扎完成后再把梁落下去。必要时与木工做好沟通,侧模不封,钢筋工进行底筋、腰筋的绑扎。对队伍进行要求,垫块每米一个(大梁并排垫两个)。要求队伍采购合格产品,提供合格证与质保书。
(2)看清图纸说明是几级抗震,加密区间距一级抗震为两倍梁高、二、三、四级抗震加密区间距为1.5倍梁高。
(3)梁面筋一、二排间距为一个钢筋直径(可用上排废料头垫上作为保证)。
(4)构造腰筋搭接长度同锚固长度为12d。抗扭要求搭接长度同锚固长度。
(5)车丝人员先试验每种规格的丝头应该有几个丝、有多少长度(可参考施工员手册),现场作业人员上下用螺纹钳拧均匀,保证梁直螺纹连接左右露丝1个半。
(6)次梁底筋锚入支座长度,腰筋为构造筋时为12d且过梁中、为抗扭筋时才为抗震锚固长度。
(7)有抗震要求的框架梁,拉钩直挂且弯135°。梁拉钩两端都加工成135°不好放,可以先一端加工成90°,待绑扎完后再用扳手弯成135°。
(8)非框架梁是非抗震,其箍筋无需弯成135°,平直段也无需10d。如果非框架梁设计是按非抗震考虑,其箍筋的弯钩可做成90°,平直段长度为5d。
(9)梁上部钢筋采用绑扎接头却未在接头位置加密箍筋,按规范要求在接头位置设置横向箍筋,间距实际是很难做到,如果按规范做,几乎变成全加密。梁纵筋最采用机械连接或焊接(非电渣压力焊),这样就不需要对接头进行箍筋加密了。
(10)规范翻样、施工,接头位置设置在受力最小处(框架梁为上部纵筋为跨中1/3区域),相邻接头按图纸说明与图集要求错开。
(11)按图集翻样,框架梁支座负筋长度:一排加筋长度为支座宽加1/3两侧较大净跨乘2加支座宽;二排加筋长度为1/4两侧较大净跨乘2加支座宽。

四、板钢筋
1、质量通病
(1)板筋搭接长度偏长。
(2)分布筋拉通布置。
(3)板底筋伸入支座长度偏长。
(4)马凳筋应具有足够的高度,保证楼板有效厚度。
(5)板上部钢筋接头位置错误。
(6)板接头百分率50%,未按25%施工。
2、防治措施
(1)板筋按图集要求搭接错开。
(2)分布筋与板负筋搭接15cm。
(3)板底筋伸入支座长度5d且过梁中即可,板上部纵筋伸入支座,实际施工不管支座有多宽均按伸入支座对边弯折15d,当支座宽度不能满足锚固长度时才需要弯折15d,如果满足且支座很宽,板上部钢筋可以弯折,但弯折长度加在支座内平直段长度等于锚固长度即可,没有必要一定但到支座外侧,因视情况而定。楼层板底筋短方向钢筋在下,楼层板面筋短方向钢筋在上。
(4)马凳筋应具有足够的高度,保证楼板有效厚度,等于或小于板筋直径一个规格。保护层按规范要求垫好,打混凝土有人守筋防止露筋。
(5)板上部钢筋接头应在跨中。
(6)板接头百分率按25%施工(符合图纸要求的情况下)。
