从哪里可以看到被淘宝删除的评价 (淘宝查看被删除的销量有提醒吗)

今年以来,在阿里系电商平台被清退的品牌远不止这些。据了解,阿里巴巴在5月宣布启动“净网行动”,清退部分不合规商家商品。半球、荣事达、三角牌等8个品牌旗下多种类目商品被处以“全网清退”的处罚,品种涉及电热水器、电饭煲、电热火锅等。相关商品被禁止在淘宝、天猫、1688等阿里旗下电商平台继续销售。

此外,淘宝网已经在品牌库中摘除不少多次抽检不合格的品牌,并在前台不予显示。阿里巴巴平台商品管理中心负责人曾表示,依据规则,若品牌商品经两次抽检均被证实不符合国家强制性质量标准,平台可以进行全网禁售。

厨房电器

涉及品牌:荣事金、金飞燕、心好、洋声、申花、peskoe/半球、厨尔、Triangle/三角牌、QBANG/乔邦、新榜样(点击图片,放大查看)

来看看那些被退回的网红产品,淘宝查看被删除的销量有提醒吗

来看看那些被退回的网红产品,淘宝查看被删除的销量有提醒吗

美容护肤

涉及品牌:精庄金颜姬、皙白氏、祈颜

来看看那些被退回的网红产品,淘宝查看被删除的销量有提醒吗

手机

涉及品牌:Daxian/大显、F-FOOK/福中福、Fadar/锋达通

来看看那些被退回的网红产品,淘宝查看被删除的销量有提醒吗

大家电

涉及品牌:传福、Amoi/夏新、cbao、YUKIDA、丹丝妮、AUX/奥克斯、B-YILAI/佰益莱、Goodpair、Wanron/万容、万宝、cbao、LoveLink/热恋、欢龙快乐、KOKHNKA、经典樱花、Baisense、YOKO、OPAICN、sonboy、ihengIMa/恒马、先菱、多迷尼、扬子、调皮熊、Camel/骆驼、日普、HYUNDAI/现代、韩克斯

来看看那些被退回的网红产品,淘宝查看被删除的销量有提醒吗

来看看那些被退回的网红产品,淘宝查看被删除的销量有提醒吗

来看看那些被退回的网红产品,淘宝查看被删除的销量有提醒吗

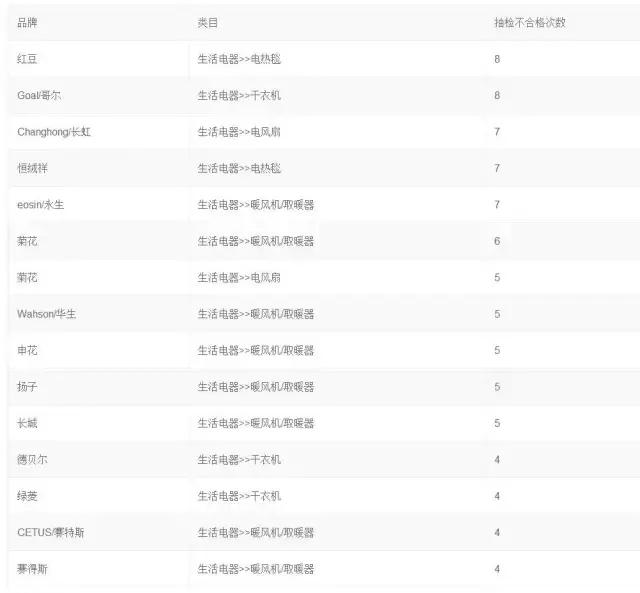
生活电器

涉及品牌:红豆、Goal/哥尔、Changhong/长虹、恒绒祥、eosin/永生、菊花、Wahson/华生、申花、扬子、长城、德贝尔、绿菱、CETUS/赛特斯、扬子、Deerma/德尔玛、居优乐、eddrac/伊德莱克

来看看那些被退回的网红产品,淘宝查看被删除的销量有提醒吗

来看看那些被退回的网红产品,淘宝查看被删除的销量有提醒吗

影音电器

涉及品牌:爱歌、AKER/爱课、飞扬、新在线

来看看那些被退回的网红产品,淘宝查看被删除的销量有提醒吗

淘宝网表示,如删除后商家再次发布相关品牌商品,将按照《淘宝禁售商品管理规范》进行删除及扣分处理,另外商家在对应类目新发布商品或编辑商品时,会启动资质上传入口,商家需要按照要求上传资质证明才能正常发布商品。