2019年7月15日,乐华旗下艺人朱正廷在天津市滨海新区某地注册了一家科技公司。
接下来的一年多时间里,乐华旗下包括程潇、毕雯珺、王一博、孟美岐、黄明昊、胡春杨、吴宣仪在内的艺人,都陆续在这同一个地址,注册了属于自己的科技公司。

一个以九漏鱼大本营而闻名的经纪公司,突然搞这么多科技公司,是要转型搞科研吗?
明显不是。
天津滨海新区,入驻公司享受高比例财政扶持:税收奖励政策按照项目公司实现增加值利润总额形成可支配财力部分给予不超过80%的补贴;办公用房租金补贴根据年纳税额给予不超过80%的租金补贴。

而科技公司,又要再享受一层优惠政策的扶持,而且相比其他类型的公司,在诸如投资注资等各种公司运作方面都会便捷很多。

比如,在这次郑爽阴阳合同事件中,爽妈刘艳与张恒采取的偷*税漏**手段,就是通过与刘艳实际控股的【科技公司】晶焰沙签订阴合同,将1.12亿片酬以注资的形式打给了该公司。
既然是投资,就不必作为片酬来缴税了,1.12亿的收入,只要交纳5.6万元的印花税就可以了。

当时网友感到神奇的,乐华艺人不但是集体在同一地址注册科技公司,而且很多是明星本人出资大部分比例,其父母担任法定代表人。
为什么?




大概是因为诸如变更及税务问题必须法定代表人亲自到场,明星本人不现实,但涉及到公司股份,假手他人又不放心,由自己的父母出面,自然是最稳妥的。
总之就是,已经很有钱了,还要抓紧一切原本不该属于自己的机会来变得更有钱,那些优惠政策最初是为了帮助谁,最后又“帮助”了谁,大家心里都清楚。
郑爽1.6亿天价片酬之后,天眼查发现,从今年一月份起,娱乐圈里一直不断有明星在注销工作室。

这其中,又有乐华艺人朱正廷、孟美岐、吴宣仪的身影,他们注销的不是此前在天津注册的科技公司,而是在宁波高新区注册的个人工作室,同样是在同一时间段注册于同一地址。

去年因为疫情,加上影视寒冬,关门倒闭的影视公司的确不少,但2021年,情形明显在好转,为什么还要注销?
而且此次集体注销的,并非影视公司,而是明星个人工作室。
1月4日,北京文化涉嫌信息披露违规被立案调查,这是一个与半个娱乐圈都有着密切联系的公司,2019年给郑爽开出1.6亿片酬的,就是这家公司。
1月18日,张恒曝光郑爽代孕事件,作为郑爽曾经的经纪人、圈外男友,张恒掌握了多少圈内的秘密,难以想象,而他作为圈外人,可以多么肆无忌惮地曝光那些秘密,更是难以想象。

或许嗅觉敏锐的人,早就已经开始未雨绸缪,所以很多手快的明星已经赶在张恒甩出1.6亿片酬之前注销了工作室。
郑爽一家,也不是全无准备的,爽妈担任法定代表人的另一家公司,去年4月就接管了,但今年才申请了增值税专用发票最高*票开**限额,已通过审核,自2021年3月25日开始。

此前乐华艺人在天津集体注册的科技公司,有好几家在当年就申请了增值税专用发票(增值税税控系统)最高*票开**限额审批。
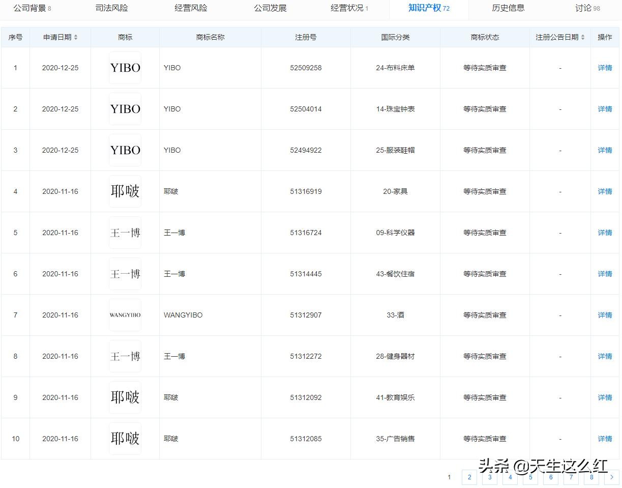
顺便还有一个有趣的发现,王一博的科技公司,申请了王一博、YIBO、耶啵、WANGYIBO等几乎覆盖全领域的共计72个商标,黄明昊的科技公司也申请了黄明昊的商标,版权意识很强烈了。

但目前通过初审的只有王一博的3个商标,其余都还是审查阶段,估计这两家公司短期内应该不会注销。

被央视点名批评“谁偷*税逃**谁就得凉凉”之后,“郑爽微博事务部”回应说会配合调查,断句排版看着还是那么令人难受,但如此正经的态度却正常得不像郑爽,是终于意识到装疯卖傻没有用了吗?

所以再说回近期明星那些注销的工作室,有什么问题?
严格来说,也没有,表面上属于“合理避税”。
同样是爽妈刘艳做的示范,郑爽以阳合同形式到手的4800万片酬,如果作为个人劳务报酬,5万元以上的税率是40%,共需交纳1920万元的税;但爽妈研究之后,决定让郑爽成为自己担任法定代表的新沂萃珊雯影视文化有限公司的艺人,对方将片酬打到公司账上,只要缴税21%的税金就可以了,几乎直接减半。

百万以上的收入,个人所得税税率在40~45%之间,而企业所得税税率在20~25%之间,并且企业所得税是按照利润来计算的,也就是说可以扣掉“员工工资”、以公司名义扣掉明星个人的别墅豪车等等,再拿余额来算企业所得税。

越有钱的人,越懂得怎样攥紧手中的钱,富人有穷人们不知道的无数种“避税”手段,比如,为什么那么多明星开火锅店,可能的确是有明星爱吃火锅,也的确是有明星为了发展副业,但……
餐饮店可以现金消费,没有交易记录,一天的流水,你说多少就是多少,那些你说不清来路的收入,都可以通过餐饮店洗白,就像赌博可以故意输给特定的人,古董的价值也可以虚高。

乐华艺人集体注销的工作室,都是“个体工商户”,也就是个体户。
这在娱乐圈里是非常常见的,不要以为个体户就是惨兮兮的打工人,哥哥姐姐们聪明着呢!
有很多公司为了避税,甚至会把同一实体拆分出多个个体户,因为个体户不但注册简单操作方便,还可以享受小规模纳税人的很多优惠政策,可以不立账,还可以核定征收,经过一系列的操作,税率最低可以低至个位数。
硬要说违法,那肯定也不是,只能说是钻空子。

但2018年范冰冰阴阳合同事件曝光后,娱乐圈里掀起补税潮,那时“自查”的明星,之前都是偷*税漏**吗?
那故意也不是,一样都是钻空子,只要不是涉及阴阳合同,都不能算违法,这次也一样,即便查起来,结果可能也只是补税完事。

所以当时为什么要补税,如今为什么又要注销工作室?
他们自己也知道这样做是有问题的。
说到底,还是贪心,明星赚的已经够多了,每天绞尽脑汁想的却还不是如何提高专业技能让自己配得上这些钱,而是想着如何少缴税。

2018年,范冰冰阴阳合同曝光后,截至当年年底,影视圈自查申报税款117.47亿,这一次,一方面期待国库再一次喜获充实,另一方面,更希望当惯了韭菜的粉丝们赶紧醒一醒,作为只会依法纳税的普通人,你已经难以逃脱地被有钱人割过一轮韭菜了,追星是为了让自己快乐,若还要因为心疼哥哥只有自己而“上供”……
他们的日子过得已经够好了,真不差你从牙缝里挤出来的这仨瓜俩枣。
你真是想把韭菜根都刨出来吧。

我真心希望,以后粉丝们吹爱豆实绩时,不要吹割韭菜的大字报了,吹吹自家爱豆交了多少税吧,向当年的纳税模范王祖贤学习,谁交的税多,谁才是真的人美心善!#多家明星近期接连注销工作室#