金属管浮子流量计安装使用说明书由开创测控为您提供,希望能够帮助到您。
一、 产品概况
金属管浮子流量计结构简单、工作可靠、准确度高、适用范围广。与玻璃转子流量计相比较能耐较高的压力。流量计具有就地指示、电远传、限位开关报警、耐腐蚀、夹套型、阻尼型和防爆等品种。广泛应用于国防、化工、石油、冶金、电力、环保、医药和轻工等部门的液体、气体流量的测量与自动控制。
流量计检测部分零件均有1Cr18Ni9Ti不锈钢材料制成,特殊场合也可由0Cr18Ni12Mo2Ti或F46等耐腐蚀材料组成。流量计除特殊规格外,高度均为250 mm。
连接法兰采用GB/T9119.8~10标准,也可根据用户特殊要求定制。
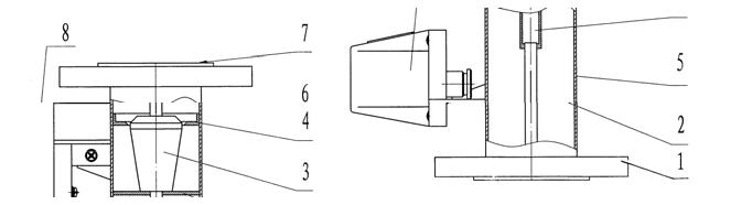
二、 原理结构
由下而上的流体通过直立的测量管时,浮子在压差的作用下上升、浮子上升的高度即代表流量的大小。并通过浮子中的磁钢与指示器中的磁钢耦合联结传递给指示器,带动指示器中的指针转动。

金属管浮子流量计安装使用说明书
8 指示器
7 弹簧卡圈
6 浮子止挡
5 管体
4 测量体
3 浮子
2 浮子导向盘
1 连接法兰
图1仪表结构图
三、 技术要求
1.测量范围:水(2.5~6000)L/h;空气(0.07~2000)m3/h (在0.101025 MPa、20℃)。
2. 准确度等级: 1.5、2.5级。
3. 量程比: 10:1。
4. 工作压力: DN15~50,4 MPa ; DN80~100,1.6MPa 。
5. 介质温度: -80℃~200℃(内衬F46流量计0℃~80℃)。
6. 液体介质粘度:DN15<5mPa·s ;DN25~100<5mPa·s 。
7.连接方式:法兰连接、螺纹连接等;法兰采用GB/T9119.8~10标准。
8. 总长度: DN15~100 250mm 。
9. 测量管材质:普通型1Cr18Ni9Ti ,耐腐型0Cr18Ni12Mo2Ti ,316L 、316衬F46等。
如用户有特殊要求可特殊订货。

金属管浮子流量计
四、电性能
1. 输出信号:二线制(4~20)mA 、三线制(0~10)mA 。
2. 线性度:1%;
3. 电源:DC 24(1±)V 。 %
15%10?+4. 功率消耗:25 mW 。
5. 环境温度:-25 ℃~55 ℃。
6. 温度影响:0.5%/10 ℃。
7.负载电阻:DC (0~10)mA (0~1)k ?;(4~20)mA (0~600)?。
8. 接线电缆:RVVP 3×28/0.15。
9. 防爆等级:Exib 2CT5 Ⅱ(证号GYB03582U )。 10. 配安全栅型号:LB906型。
11. 电远传变送器:K5WI-I 型或ESK-I (二线制)。; 12. 接线图:
11 12 13 11 12 13 11 12 13

金属管浮子流量计
(0~20)mA (0~10)mA (0~10)mA
二线制 三线制 四线制
U S - 电源电压; R A -负载电阻。

金属管浮子流量计安装使用说明书
图2 接线图
五、 限位开关报警装置
对LZ 型指示器可以安装限位开关报警装置
1. 技术参数:
a)供电电源:AC 220(1±10%)V;
b)功耗:≤3 W;
c)工作温度:-25 ℃~60 ℃。
2. 接线图:
指示器控制仪
图3 接线图
3. 限位值的设定:限位开关的位置可以通过改变感应头的位置任意设定。
六、型号规格
1. 型号
LZ□—A / B / C / D / E
就地指示型Z 转换器功能组合
电远传型D
管道口径 附件结构
结构形式 接液材料
2. 选型
表1
管道口径结构形式(介质流向)接液材料附件结构
A B C D DN15 Y10 下进上出 RR0 0Cr18Ni12Mo2Ti F 防腐型
DN25 Y20 横进横出 RR1 1Cr18Ni19Ti T 夹套型
DN50 Y30 同侧进出 RP PTFE(聚四氟乙烯)Z 阻尼型
DN80 Y40 异侧进出 Ti Titamium(钛合金)G 高温型
DN100 Y50 底进侧出 RL 316L Y 高压型
DN125 B 防爆型
转换器功能组合E 附 加 功 能
M1 转换器型式一(可省略)
M2 转换器型式二(定做)
Es1 远传4-20mA标准电流信号,本安防爆,防爆标志ibⅡCT5,安全栅型号LB906(注) Es2 远传4-20mA标准电流信号
K1 带一上限报警点输出
K2 带一下限报警点输出
K12 带一上限和一下限报警点输出
JsB 现场电池供,LCD显示瞬时流量和累积流累,本安防爆
JsC 220VAC供电,LCD显示瞬时流量和累积流量,
JsD 24VDC供电,LCD显示瞬时流量和累积流量,本安防爆
JsE
24VDC供电,LCD显示瞬时流量和累积流量,输出4-20mA标准电流信号传送瞬时流量,本安防爆
注:Es1 型是通过与指针同轴的凸轮将瞬时流量信号传递给转角变送器,输出正比线性的电流信号;Es2型为非接触式,通过磁敏元件和单片机软件修正来输出与瞬时流量成正比的
线性电流信号。
3、结构形式

金属管浮子流量计
注:箭头为介质流向
七、 安装尺寸

金属管浮子流量计安装使用说明书
图4 安装尺寸
八、 使用与维修
1. 安装流量计之前一定要将管道内的焊渣、杂物清理干净。
2. 流量计必须垂直于地面安装其倾斜度不得超过2°。否则会影响测量准确度。
3. 为了确保流量计的测量准确性,应在流量计的进口端增加不少于10DN 的直管段,出口端不少于5DN 的直管段,测量时调节控制阀必须安装在流量计的下游。
4. 若被測介质为大的脉动流或两相流,应lz金属管浮子流量计在流量计的上游安装缓冲器来消除或减弱脉动,保证介质的流动是单相稳定的,同时,建议流量计最好使用阻尼型的。
5. 若被測介质较脏或含有导磁颗粒时,应在流量计的上游安装过滤器或磁过滤器。
6. 流量计的安装应能适当支撑管道的振动或减少流量计的轴向负荷,否则应增加固定流。
7.为了便于流量计的保养维修,磁过滤器的清洗以及用户管路的定期维护保养,建议使用如图所示的旁路管道。

金属管浮子流量计安装使用说明书
8.当流量计用于气体测量时,应保证管道内的工作压力不少于5倍流量计的压力损失,
使流量计能够稳定正常动作。
9.对电远传及带报警限位开关的流量计在使用前,打开仪表盖,按接线图示正确接线。
对于报警型的旋松限位开关处的螺丝,用户根据需要设定限位报警位置,并旋紧螺丝,复原后使用。
10.按仪表指示器中的警示牌,取出运输中防止浮子振动的阻动件,复原后再使用仪表。
11.若开启流量计时,由于管道内没有压力或系统还未达到仪表正常使用的工作压力,必
须缓慢开启控制阀,直到系统正常,仪表方可使用,否则容易造成指针跳动或浮子的突然撞击而损坏的现象。
12.用户使用时,若被測流体的密度与水不同时,或被測气体的参数和工作状态与制造厂
家规定不同时应对流量计示值读数进行换算,换算方法见附录。
九、仪表常见故障的维修

金属管浮子流量计安装使用说明书
常见故障产生原因排除方法
1系统开启指针不动1 介质中含有杂质,使浮子卡住;
2 系统工作压力太小,致使仪表不正常工作。
3 清除异物;增加磁过滤器;
4 增加系统工作压力。
5 指针冲顶不回复1介质中含有杂质,使浮子卡住;
6 仪表选型不合适,选用仪表太小。
7 清除异物;增加磁过滤器;
8 正确选型。
9 指针波动太大,不能准确读数1 系统工作压力不稳定;
10 介质存在脉动流或双相流的现象。
11 仪表进出口处的管径变化大而导致压力变化或压力损失增加。
12 检查自身系统;
13 消除脉动流与双相流。
14 减少压力损失;
15 指针不回零1 由于仪表的波动而使指针位移;
16 由于仪表的上下撞击,而使测量管内的零件弯曲变形。
17 旋松指针处的小螺丝将指针复原至“Rp”位置(未工作状态);
18 建议送回维修或更换。
19 远传不准确1 环境温度超出工作要求;
20 变送器漂移。
21 按要求使用;
22 适当调节变送器中的电位器或调节螺丝以恢复正常。
以上常见故障,如用户不能自行排除,请送回厂家维修或向厂家咨询。

金属管浮子流量计安装使用说明书
十、防爆产品使用注意事项
金属管浮子流量计,经国家级仪器仪表防爆安全监督站(NEPSI)检验,符合GB3836.1和 GB3836.4标准规定的要求,产品防爆标志为ibllCT5,防爆合格证号为GYB03582U。用户在使用产品时应注意下列事项。
1.金属管浮子流量计外壳没有接地端子,用户在使用时应可靠接地。
2.金属管浮子流量计的最大使用环境温度为-25 ℃~55 ℃。
3.金属管浮子流量计必须与LB906齐纳安全栅配套使用构成本安防爆系统。
4.本安全系统的布线应尽量避免外界电磁干扰的影响,并将电缆分布参数控制在0.08μ和2 mH以内。
5.安全栅必须安装在安全场所。安全栅的安装、使用和维护应遵守使用说明书。
6.与安全栅相连的控制室仪表的最高工作电压或其内部可能产生的最高电压不得高于
250V rms。
7.用户在安装、使用和维护金属管浮子流量计时,务必认真阅读产品说明书,并同时遵守《中华人民共和国爆炸危险场所电气安全规程》。

金属管浮子流量计安装使用说明书
十一、设计选用及订货须知
1.根据测量流体是气体或液体。正确选用气体或液体金属管浮子流量计。
2.被测流体无腐蚀性选用普通型,有腐蚀性选用防腐型。
3.订货时请注明被测介质名称、流量、管道通径及工作压力、温度、密度、粘度等情况。我公司可根据用户提出的密度等进行刻度修正,制作特殊的流量标尺。
4.根据被测流体的测量范围、应用场合等选用合适型号的规格品种。如有特殊要求的流量计,可以选择定制。
以上内容为:《金属管浮子流量计安装使用说明书》