本节分享防雷接地系统基础知识等。
下节分享防雷接地工程量计算实例。
例题分享让学习简单点!
防雷接地工程
第一节 防雷接地系统基础知识
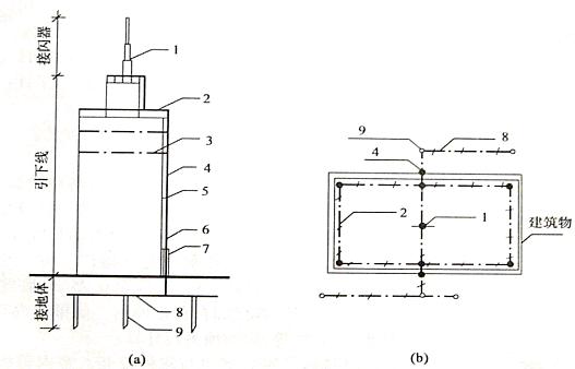
一、防雷接地系统组成如下图
1、接闪器:避雷针、避雷网(避雷带)等。
2、引下线:引下线,引下线支持卡子,断接卡子,引下线保护管等组成。
3、接地装置部分:接地母线、接地极等。


第二节 防雷及接地装置工程量计算
一、接闪器安装工程量计算
1、 避雷针安装按在平屋顶上、在墙上、在构筑物上、在烟囱上及在金属容器上等划分定额。
(1)定额单位
①平屋顶上、墙上、烟囱上避雷针安装以“根”或“组”计量。
②独立避雷针安装以“基”计量,长度、高度、数量均按设计规定。
(2)避雷针加工制作,以“根”为计量单位。
(3)避雷针拉线安装,以三根为一组,以“组”计量。
2、避雷网安装
(1)避雷网敷设按沿折板支架敷设和沿混凝土块敷设,工程量以“m”计量。工程量计算式如下:
避雷网长度=按图示尺寸计算的长度×(1+3.9%)
式中 3.9%——为避雷网转弯、避绕障碍物、搭接头等所占长度附加值。
(2)混凝土块制作,以“块”计量,按支持卡子的数量考虑,一般每米1个,拐弯处每半米1个
(3)均压环安装,以“m”计量
1)单独用扁钢、圆钢作均压环时,工程量以设计需要作均压接地的圈梁的中心线长度按“延长米”计算,执行“均压环敷设”项目。
2)利用建筑物圈梁内主筋作均压环时,工程量以设计需要作均压接地的圈梁中心线长度,按“延长米”计算,定额按两根主筋考虑,超过两根主筋时,可按比例调整。
(4)柱子主筋与圈梁焊接,以“处”计量
柱子主筋与圈梁连接的“处”数按设计规定计算。每处按两根主筋与两根圈梁钢筋分别焊接连接考虑。如果焊接主筋和圈梁钢筋超过两根时,可按比例调整。

建筑物防雷接地组线
1一避雷针;2--避雷网;3一均压环;4一引下线;5一引下线卡子:
6--断接卡子;7一引下线保护管;8一接地母线;9-接地极
二、引下线安装工程量计算
避雷引下线是从接闪器到断接卡子的部分,其定额划分有:沿建筑物、沿构筑物引下;利用建(构)筑物结构主筋引下;利用金属构件引下等。
1、引下线安装,按施工图建筑物高度计算,以“延长米”计量,定额包括支持卡子的制作与埋设。其引下线工程量按下式计算:
引下线长度=按图示尺寸计算的长度×(1+3.9%)
2、利用建(构)筑物结构主筋作引下线安装:按下列方法计算工程量。
用柱内主筋作“引下线”时,定额按焊按两根主筋考虑,以“m”计量,超过两根主筋时可按比例调整。
3、断接卡子制作、安装,按“套”计量。按设计规定装设的断接卡子数量计算。接地检查井内的断接卡子安装按每井一套计算。
三、接地体装置安装工程量计算
接地装置有接地母线、接地极组成,目前建筑物接地极利用建筑物基础内的钢筋作接地极,接地母线是从断接卡子处引出钢筋或扁钢预留,备用补打接地极用。
1、接地母线安装,一般以断接卡子所在高度为母线的计算起点,算至接地极处。接地母线材料用镀锌圆钢、镀锌扁钢或铜绞线,以“延长米”计量。其工程量计算如下:
接地母线长度=按图示尺寸计算的长度×(1+3.9%)
2、接地极安装
(1)单独接地极制作、安装,以“根”为计量,按施工图图示数量计算。
(2)利用基础钢筋做接地极,以“m2”为计量单位,按基础尺寸计算工程量,引下线通过断接卡子后和基础钢筋焊接。
四、接地跨接线工程量计算
接地跨接是接地母线、引下线、接地极等遇有障碍时,需跨越而相连的接头线称为跨接。接地跨接以“处”为计量单位。
接地跨接线安装定额包括接地跨接线、构架接地、钢铝窗接地三项内容。
1、接地跨接一般出现在建筑物伸缩缝、沉降缝处,吊车钢轨作为接地线时的轨与轨联接处,为防静电管道法兰盘连接处,通风管道法兰盘连接处等,如下图(a)、(b)
2、按规程规定凡需作接地跨接线的工程,每跨接一次按一处计算,户外配电装置构架均需接地,每副构架按“一处”计算。
3、钢、铝窗接地以“处”为计量单位(高层建筑六层以上的金属窗设计一般要求接地),按设计规定接地的金属窗数进行计算。(玻璃幕墙)
4、其它专业的金属管道要求在入户时进行接地的,按管道的根数进行计算。
5、金属线管通过箱、盘、柜、盒等焊接的连接线,线管与线管连接管箍处的连接线,定额已包括其安装工作,不得再算跨接。如下图(c)

五、其它问题
1、高层建筑物屋顶的防雷接地装置应执行“避雷网安装”项目,电缆支架的接地线安装应执行“户内接地母线敷设”项目。
2、接地装置调试
(1)接地极调试,以“组”计量,
接地极一般三根为一组,计一组调试。如果接地电阻未达到要求时,增加接地体后需再作试验,可另计一次调试费。
(2)接地网调试,以“系统”计量。
接地网是由多根接地极连接而成的,有时是由若干组构成大接地网。一般分网可按10至20根接地极构成。实际工作中,如果按分网计算有困难时,可按网长每50m为一个试验单位,不足50m也可按一个网计算工程量。设计有规定的可按设计数量计算。
本节分享防雷接地系统基础知识等。
下节分享防雷接地工程量计算实例。
例题分享让学习简单点!