康雪成
北京特希达科技有限公司
摘 要: 大纵坡、小半径曲线连续梁匝道桥由于其线形特点,在长期温度、汽车离心力、车辆制动力以及原结构限位措施不足的因素影响下易产生横向位移,造成在运营期间的安全隐患。本文结合昆山市十五甸立交匝道纠偏工程,提出以桥梁支座支撑体系自身所含有的四氟板-不锈钢板层,作为横向纠偏的滑动层,直接对梁体进行横向纠偏,避免对梁体进行同步顶升设置临时支撑体系作为滑动层,从而保证桥上交通正长运营。
关键词: 匝道;纠偏;支撑体系;交通运营;
匝道桥作为互通式立体交叉不可缺少的组成部分,是连接主线与引线的主要结构。现阶段我国匝道桥的通常类型为大纵坡、小半径曲线连续梁桥,由于其线形特点,在长期温度、汽车离心力、车辆制动力以及原结构限位措施不足的因素影响下易产生横向位移,造成在运营期间的安全隐患。因此如何在减小对桥上交通影响的前提下,快速、安全的将梁体进行复位,是现有桥梁养护加固工作的重点之一。
通常连续梁进行横向纠偏复位的施工方法是首先将梁体全联同步顶升,将梁体支撑体系转换至临时钢结构滑动轨道上,轨道上布设四氟板与不锈钢板作为滑动层,然后布设横向纠偏装置将梁体进行复位。但此方法将梁体顶升高度较大,梁体将长时间处于漂浮体系,结构安全性较低,且在横向顶升过程中产生的水平力对下部结构影响较大,同时顶升纠偏施工过程需长时间中断桥上交通,对交通影响较大。
因此本文结合昆山市十五甸立交桥F匝道横向纠偏复位工程,提出在不中断交通的前提下利用桥梁支座支撑体系自身所含有的四氟板-不锈钢板层作为滑动层,避免对梁体支撑体系进行转换的直接横向纠偏复位施工工艺。
1 工程概况
1.1 桥梁概况
十五甸互通立交桥位于苏州市昆山市陆家至正仪一级公路与震川西路交叉路口。F匝道全长93.35m,跨径组合为(13.17+4×16+13.17) m,全桥为一联结构。上部结构采用普通钢筋混凝土连续箱梁结构,下部结构为独柱墩,直径120cm,桥台采用承台分离式,墩台均为钻孔灌注桩基础。
F匝道桥梁病害主要为1#、2#、4#、5#墩支座上座板存在明显滑移现象,其中纵向滑移最大值为1.5cm,横向滑移最大值为6.5cm,该桥以F3桥墩为轴产生旋转,F0墩处实测横向偏位为10cm,F6墩处实测偏位为-7.0cm。

图1 F匝道梁体位移示意图 *载下**原图
1.2 病害分析
(1)支承体系设置不合理
本桥仅在过渡墩和桥台处设置双支座,中墩均为单支座独柱墩,支承体系设置不合理,易发生支座脱空等安全隐患。此外,除一个中墩支座为固定活动支座外,其余中墩支座均为双向活动支座,桥台及过渡墩均设置的板式橡胶支座(含四氟板),这种支承体系完全未限制桥梁的转动,在温度荷载、汽车离心力及汽车制动力作用下,箱梁不可避免的会发生转动。
(2)限位装置失效
本桥仅在过渡墩及桥台处设置限位挡块,且本桥限位挡块高度不足,且挡块未与箱梁直接接触,未发生实际限位作用。
2 梁体横向纠偏施工工艺
2.1 顶升推力确定
为准确推算出横向纠偏时的理论顶推力,为施工千斤顶选型及施工过程提供理论依据,施工前采用桥梁结构分析软件MIDAS/Civil,建立三维计算模型以确定各支点反力,全桥有限元模型如图2所示。全桥共有节点186个,单元176个。

图2 F匝道有限元计算模型 *载下**原图
同时考虑本桥支座类型为盆式支座与四氟板橡胶支座,其均含有四氟板与不锈钢板组成的滑动面,顶推时动摩擦系数取0.02,静摩擦系数取0.03,由此可知各墩的理论顶推力如表1所示。
表1 横向纠偏各墩顶推力理论值 *载下**原图

2.2 顶升设备及千斤顶选用
根据表1横向理论推力,同时考虑桥上交通正常运营下的车辆荷载,因此本次施工选用100t液压千斤顶作为横向纠偏千斤顶,其安全系数大于2。
同时本工艺采用多点同步进行梁体的横向纠偏施工,为保证各千斤顶横向的同步性,避免出现单个千斤顶受力过大,造成梁体局部损伤,顶升设备采用计算机控制桥梁分泵组多点位移同步顶升系统。其原理如图3所示。

图3 同步顶升系统工作原理图 *载下**原图
2.3 横向纠偏装置布设
为避免横向纠偏复位过程中产生的水平推力对下部墩柱结构产生影响,因此本次施工在各个墩柱均设置纠偏反力点,然后同步进行横向顶推纠偏作业,从而使纠偏产生的摩擦力成为墩柱内力,与系统内的支点反力相互抵消,从而保证墩柱的结构安全,其受力示意图如图4所示。

图4 纠偏过程墩柱受力示意图 *载下**原图
根据桥梁结构,F匝道是以3#墩固定支座为中心进行选择偏移,因此施工过程以其为纠偏旋转中心,其各墩横向纠偏装置如图5~图7所示。

图5 F匝道纠偏装置安装示意图 *载下**原图

图6 独柱墩水平牛腿及水平千斤顶布置示意图 *载下**原图

图7 桥台水平纠偏牛腿布置图 *载下**原图
为保证墩身受力均匀,在千斤顶与墩柱间加设圆弧垫块。纠偏牛腿为可拆式,纠偏完成后即可拆除,由于梁底存在横坡,故纠偏钢牛腿与梁底间需进行调平处理。
2.4 防落梁限位装置
为保证梁体转动过大,在伸缩缝内安装楔形木块限制过大的转动量;按在0#台、6#墩右侧的挡块与梁体间加设木块(预留纠偏量)起到横向限位作用,以0#台为例,其安装示意图如图8所示。

图8 0#台限位装置示意图 *载下**原图
此外3#墩支座结构类型为固定支座,考虑其本身的限位作用,3#墩位置无需设置限位装置。
2.5 纠偏复位
纠偏复位过程中,为保证千斤顶横向的同步性,顶升设备采用计算机控制桥梁分泵组多点位移同步顶升系统。纠偏过程采用压力与位移双控指标,以压力为主,位移为最终控制指标。施工过程采用分级加压方式,加压方式为10%→20%→50%→75%→100%,横施工过程及时检查梁体及设备状况,保证纠偏施工过程中梁体结构安全性。
3 施工监控方案
本项目采用无支撑体系转换纠偏工艺,利用支座自身的摩擦面作为滑动层,无法准确其是否有磨损状况,因此施工过程的位移、横向顶推力、梁体应力的监控是本工艺的必要补充手段,以保证梁体在顶升纠偏运动梁体的运动状态及受力处于安全可控范围。
3.1 位移监控
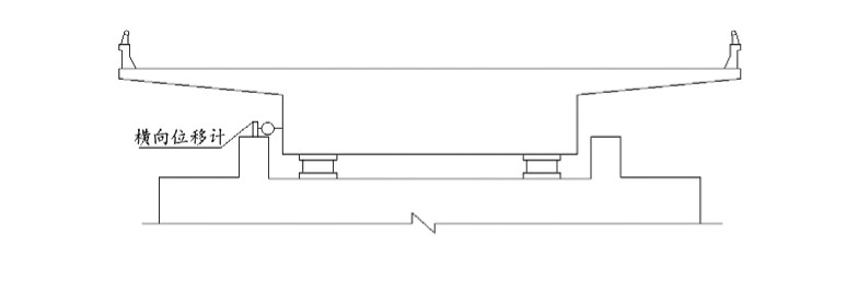
纠偏过程中采用布设拉伸式位移计随时监控梁体横向位移值及速度,其布置图如图9、图10所示,其结果如表2所示。

图9 独柱墩横向位移监控点布置示意图 *载下**原图

图1 0 0#台及6#墩横向位移监控点布置示意图 *载下**原图
表2 匝道横向纠偏位移及速度汇总表 *载下**原图

根据监控结果可知,3#墩无横向位移,全桥以3#墩为轴心,两侧梁体对称纠偏到位。各墩横向纠偏速度均小于2.5mm/min,满足设计要求。
3.2 横向顶推力监控
纠偏过程横向顶推力采用同步顶升设备,实时进行各点反力的监控,保证各点受力的均匀,避免出现单墩受力过大,影响结构安全。其各墩反力变化如图11所示。

图1 1 各墩横向顶推力变化图 *载下**原图
根据各墩横向顶推力变化图可知,除2#墩顶推力在开始时超出其理论静摩擦力15.9k N外,其余各墩顶推力数值均在其理论静摩擦力范围内,但数值较小,对整体结构影响较小。其原因为:
(1)支座已使用年限较长,其四氟板与不锈钢板间的硅脂油不足,导致实际摩擦系数大于理论数值;
(2)根据现场勘查,第一次顶升时2#墩部分约束未解除,导致其顶推力偏大。
3.3 应力监控
为保证施工过程中梁体受力的安全性,在第1跨、第6跨跨中腹板与第2~5跨跨中腹板及底板位置安装应变计,实时监控梁体在顶推过程中梁体的应力变化,全桥共计安装20个。应变计的布置如图12所示,其应力变化如图13所示。

图1 2 梁体应变计布置示意图 *载下**原图

图1 3 各应变监控点应力变化曲线 *载下**原图
根据图13可知,在梁体横向纠偏过程中,拉应力最大值为0.65MPa,最大压应力值为0.18MPa,均处于C30混凝土抗压强度与抗拉强度设计值范围内,说明在横向纠偏施工过程中梁体处于安全状态。
4 结语
(1)通过对昆山十五甸立交桥匝道的横向纠偏施工,可知本文所提出的利用原桥支座系统自身所含的滑动系统直接进行梁体的横向纠偏,避免对梁体顶升进行体系转换的施工工艺是可靠安全的,对后续类似工程的实施可提供实际参考。
(2)本工艺避免对梁体进行竖向顶升,维持原结构支撑体系,可避免对桥上交通进行断交,且全过程实施时间不足2h,有利于缩短工期,保证桥梁的安全运营。
(3)利用施工过程中的摩擦力与横向纠偏反力的自平衡,保证了在施工过程中下部结构的安全性。
参考文献
[1] 许冰,冯威,李琦.连续曲线梁桥顶升纠偏仿真分析方法.公路交通科技:应用技术版,2015,0(10):191-195.
[2] 周松国.PLC整体同步控制技术在连续梁桥纠偏中的应用.城市道桥与防洪,2010(8):155-158.
[3] 王蕴华.整体顶升技术在连续曲线梁桥纠偏中的应用.中国港湾建设,2011(6):49-51.
[4] 韩永军.桥梁纠偏技术在平定大桥中的应用研究.贵州大学学报:自然科学版,2012,29(2):132-135.
[5] 周亮.曲线梁桥梁体偏位分析与处治方案研究[D].重庆:重庆交通大学,2011.

声明: 我们尊重原创,也注重分享。有部分内容来自互联网,版权归原作者所有,仅供学习参考之用,禁止用于商业用途,如无意中侵犯了哪个媒体、公司、企业或个人等的知识产权,请联系删除,另本头条号推送内容仅代表作者观点,与头条号运营方无关,内容真伪请读者自行鉴别,本头条号不承担任何责任。