
本文比较详细地介绍了港珠澳大桥的社会、经济意义和大桥主体工程的桥位,及工程规模、主要技术标准、主要建设条件、总体设计、桥梁方案、隧道方案、人工岛方案,提出了大桥的挑战以及基本对策与设计指导思想。
1、工程概况
港珠澳大桥跨越珠江口伶洋海域,是连接香港特别行政区、广东省珠海市、澳门特别行政区的大型跨海通道,是国家高速公路网规划中珠江三角洲地区环线的组成部分和跨越伶们洋海域的关键性工程,是我国继三峡工程、青藏铁路、京沪高铁后又一项超级工程,是当今世界上规模最大、标准最高、技术最复杂的桥、岛、隧一体化的集群工程,它是我国迈向桥梁及交通建设强国的里程碑项目。
大桥的建设将进一步完善国家和粤港澳三地的综合运输体系和高速公路网络,密切珠江西岸地区与香港地区的经济、社会联系,改善珠江西岸地区的投资环境,加快产业结构调整和布局优化,拓展经济发展空间,提升珠江三角洲地区的综合竞争力,保持港澳地区的持续繁荣和稳定,促进珠江两岸经济社会协调发展,将加速珠江三角洲社会、经济一体化的进程。大桥与区域路网的关系如图1所示。

图1 港珠澳大桥与区域路网关系
2、桥位及工程规模
大桥东岸登陆点位于香港大屿山机场西南的散石湾,西岸珠海登陆点为拱北,澳门登陆点为明珠。工程建设包括三项内容:
(1)海中桥隧主体工程。
(2)香港、珠海及澳门三地人工岛口岸工程。
(3)香港、珠海及澳门三地连接线及配套工程。
根据三地达成的共识,海中桥隧主体工程由粤港澳三地共同建设;三地口岸和连接线由三地各自负责建设。项目工程内容及总平面布置如图2所示。

图2 港珠澳大桥项目总平面布置
海中桥隧主体工程总长约29.6km,东起自粤港分界线,西止于珠海/澳门口岸人工岛,采用桥隧组合方案,穿越伶西航道和铜鼓航道段约6km,采用隧道方案,其余约22.9km段采用桥梁方案,包括:青州航道桥、江海直达船航道桥、九洲航道桥和非通航孔桥。为实现桥隧转换和设置隧道通风井,主体工程隧道两端各设置一个海中人工岛,东、西人工岛各长约625m,造陆面积各约为10m2。
香港口岸位于香港国际机场东北面填海兴建,占地约130公顷(130万m2),分别与港珠澳大桥、香港国际机场及屯门至赤懒角连接路相接。珠海口岸和澳门口岸在澳门明珠点附近内地水域填海同岛设置,填海面积217公顷(217万m2)。珠海连接线起自珠海口岸人工岛,经湾仔、珠海保税区北,止于珠海洪湾,接拟建的珠江三角洲地区环线高速公路珠海南屏至洪湾段,全长约13.9km;全线在南湾、横琴北、洪湾等3处设置互通式立交。澳门连接线(桥)起自澳门口岸,连接至规划建设的澳门填海A区,长约150m。香港连接线起自粤港分界线的大桥主体工程,经香港口岸人工岛,连接至大屿山高速公路,全长约15km。港珠澳大桥自香港大屿山东涌至珠海拱北的主线桥隧工程总长约50km,是世界最长的桥隧组合工程。
3、主体工程主要技术标准
主体工程采用六车道高速公路标准,同时满足内地及香港规范要求,主要技术标准为:
(1)公路等级:高速公路。
(2)设计速度:海中桥梁、隧道设计速度为100km/h,进口岸前逐步限速;珠澳口岸人工岛互通设计速度采用40km/h;东、西隧道人工岛岛上匝道设计速度采用30km/h。
(3)行车道数:双向六车道。
(4)设计寿命:120年。
(5)建筑限界:路面总宽度33.10m。
(6)最大纵坡:≤3%。
(7)路面横坡:桥面横坡2.5%;隧道路面横坡1.5%。
(8)设计荷载:汽车荷载采用公路-I级,同时满足香港《Structure design manual for highways and railways》中规定的活载要求。
(9)设计最高通航水位:3.52m(1985国家高程基准)。
(10)设计最高水位:3.82m(1985国家高程基准)。
(11)设计通航净空:桥区通航孔设置以及通航孔净空尺度要求见表1。

表1 各通航孔净空尺度表
(12)地震设防标准:地震基本烈度为Ⅶ度。
①对于隧道、通风竖井、人工岛的地震设防标准考虑两种重现期定义,对应于两种极限状态:
工作状态120年;极限状态1200年。
②对于桥梁的非通航孔桥的地震设防标准有三种重现期定义,对应三种极限状态:工作状态120年;极限状态600年;结构完整性状态2400年。
③对于单孔跨度大于150m的桥梁的地震设防标准有三种重现期定义,对应三种极限状态:
工作状态120年;极限状态1200年;结构完整性状态2400年。
(13)设计洪水频率:1/300。
4、主要建设条件
建设条件的特点分述如下:
4.1气象特征
大桥处于南亚热带海洋性季风气候区,工程区年平均气温在22.4~23℃之间,实测极端最高气温为38.9℃,极端最低气温-1.8℃。
桥址区域年盛行风向以东南偏东和东风为主,热带气旋影响十分频繁,平均每年2个左右,最多时每年可达6个,自4月至12月均有可能发生,主要集中在6月至l0月。桥区重现期120年10min平均风速达48.7m/s。
4.2水文特征
工程区水域宽阔,水下地形具有中西部宽浅、东部窄深的显著特点,九洲航道桥以西水深在3~4m之间(1985国家高程基准,下同),九洲航道桥至江海直达船航道桥之间水深为4~5m之间,江海直达船航道桥至青州航道桥之间水深为5~6m之间,青州航道桥至西人工岛之间水深为6~8m之间;西人工岛以东工程沿线水域水深较深,沿线水深基本在8m以上,其中大濠水道最深处可达17m左右,10m深槽宽度达2.3km左右,如图3所示。

图3 工程沿线水下地形示意图
注:上图中各等深线(原图为彩色,黄线-1~4m,绿线-5~9m,青线-10~14m,蓝线-15m及以上,本书为单色无法分辨,仅供参考)
桥区海域为不规则半日潮海区,水位在一个潮周期内变化相对较平缓。实测最高潮位3.52m,最低潮位-1.32m,最大潮差3.58m,最小潮差0.02m,平均海平面
0.54m;300年一遇设计高水位为3.82m,低水位为-1.63m。潮流呈现往复流运动形式,具有落潮流速大于涨潮流速,中部海域潮流流速比两边大的特点。涨急时垂线平均流向基本为N向,落急时垂线平均流向基本为S向;实测最大流速2m/s,垂线最大平均流速1.36m/s。
根据九澳站1986年~2001年波浪观测资料统计,波浪常浪向为SE、SSW和S向,出现频率分别为20.024%、18.693%和16.907%;强浪向为ESE~S向;有效波高大于1m的波出现频率为4.96%。依据桥址站2007年4月~2008年3月和2008年6月~10月实测资料,实测最大有效波高(H,)3.64m,周期(T)为5.3s,波向为SSW向。
依据桥墩前墩前行近流速、桥墩宽度、墩形、水深、床沙粒径、水流交角等资料,按交通运输部颁布的《公路工程水文勘测设计规范》(JTGC30-2003)对基础冲刷进行了计算,具体成果见表2。

表2 100年一遇水文条件下冲刷计算成果表
注:非通航孔桥1——系指跨度110m,非通航孔桥2——系指跨度85m。
4.3航运特点
桥区所在的水域宽阔,航道众多,航线复杂、通航船型类型众多、船舶通航密度大、通航要求高,航行安全管理要求高。工程沿线从西至东有九洲航道、江海直达船航道、青州水道、伶们西航道、铜鼓航道和香港侧航道;现状平均每天船舶交通流量可达4000艘次,每年可达150万艘次。
4.4地质特征
大地构造上,本工程近场区主要处于华南褶皱系粤北、粤东北一粤中坳陷带的永梅一惠阳坳陷,区域构造稳定,适合大桥建设。
工程主线区覆盖层厚24.0~89.3m,按成因时代、岩性特征可划分为5个大层组。其中,第一层组为全新统海相沉积的淤泥、淤泥质黏土和淤泥质黏土夹砂等软土,工程性能极差;第二层组主要为晚更新统晚期陆相沉积的软~可塑状黏土,其埋藏浅、层厚较薄、分布不均匀;第三层组主要为晚更新统中期海相冲积的淤泥质粉质黏土、淤泥质黏土和软~可塑状黏土,以软弱-中软土为主,工程性能亦很差;第四层组为晚更新统早期河流相冲积物,以中密~密实砂类土为主,承载力较高,在基岩理藏较深的地段,可作为基础持力层;第五层组为基岩风化层,工程性能较好,但据已有钻探及物探资料分析,基岩顶面起伏变化很大,风化差异显著,沿桥位线共分布有4个风化深精,宽达430~1000m,深槽内全、强风化层厚度多大于40m。
软土分布广、工程性能差、基岩面起伏大及存在风化深精是工程建设中需重点关注的地质问题。
桥址区地下水可划分为松散岩类潜水、承压水和基岩裂隙水三大类型。水样分析结果表明,海水和地下水化学成分相似,对混凝土、钢筋混凝土和钢结构具有较强腐蚀性。
4.5航空限高要求
香港大的山机场位于大桥东岸登陆点附近,澳门机场位于大桥西岸附近。大桥部分线位位于香港、澳门机场飞机起飞和降落的飞行区内,工程方案的选择需满足大的山机场和澳门机场航空限高要求。大屿山机场和澳门机场临近大桥登陆点附近辞有禁航水域,大桥的施工组织设计应考虑这一因素。
4.6环保要求
大桥线位穿过了珠江口中华白海豚保护区的核心区、缓冲区、试验区,在方案设计及工程建设中需采取切实有效的环保措施。
4.7水利防洪要求
为降纸大桥建设对珠江口水利防洪影响,水利部门要求大桥阻水比控制在10%以内,并将非通航孔桥承台全部埋入海床面以下。
5、主体工程总体设计
5.1项目建设面临的挑战
港珠澳大桥所处的特殊区位、建设条件和具有的多重功能决定了它面对的四大挑战:建设管理的挑战、工程技术的挑战、施工安全的挑战、环境保护的挑战。
5.2总体设计目标
三地政府提出本项目的建设目标为:建设世界级跨海通道、为用户提供优质服务、成为地标性建筑。总体设计需满足建设目标并充分考虑建设条件,达到“安全、耐久、环保、经济”的总体目标。
5.3总体设计指导思想
根据主体工程建设面临的挑战、特点及建设条件,总体设计及方案设计的指导思想如下:
(1)全面实现“工厂化、大型化、标准化、装配化”工法为总体设计思想,以适应工程区台风影响、航运复杂、环保要求的特点,保证施工安全及航运安全、确保工程质量、降低现场工作量、减少海中作业时间、保护海洋生物、保障工期。
(2)方案总体布置中以尽量减少阻水比,满足水利部门要求为目标。
(3)注重景观设计,充分进行桥梁及人工岛总体方案比选。
(4)总体设计充分考虑为运营养护提供方便,按照“需求引导设计“思想开展设计工作。
(5)本工程专业广、接口多,总体设计中注重各专业接口的协调及平衡,使之达到总体最优的目标。
5.4总体平、纵面设计
平面设计主要考虑:与香港侧工程在平面上顺接,满足双方要求;为降低隧道出口段的设计施工难度,隧道起点段路线取为5500m不设超高的大半径圆曲线;保证通航孔桥位于直线段,降低通航孔桥设计施工难度;尽量减少与水流夹角;平面曲线指标尽量提高,按不设超高控制,处理好平纵配合设计:妥善处理好主线与东、西隧道人工岛及珠澳口岸人工岛重道布置;平面设计线形如图2所示。
纵面按主线最大纵坡小于3%控制设计,各控制点高程满足通航要求及机场航空限高要求。
航道桥纵断设计原则为:竖曲线长度宜包含整个通航孔桥长(路线范围内应为凸曲线),通航孔桥桥梁中心两侧纵坡应对称,即将通航孔桥范围内的变坡点放在桥梁中心位置。两通航孔桥间非通航孔桥推荐平坡方案,通过2.5%的横坡及适当增设雨水管解决排水问题。随道段纵断面设计原则为:尽量减短人工岛长度,减少基精开挖量,隧道段采用W形坡。
5.5桥梁总体跨径布置
5.5.1通航孔桥布置
青州航道桥桥跨布置为110+126+458+126+110=930m;江海直达船航道桥桥跨布置为129+2×258+l29=774m;九洲航道桥桥跨布置为85+150+298+150+85=768m,均满足通航要求。
5.5.2主线非通航孔桥布置
江海直达船航道以西,水深3~4m,基岩埋深24~55m,小跨径为经济跨径,为减少桥嫩数量并减少阻水率,适当增大跨径,推荐采用85m等跨;江海直达船航道桥以东,水深5~10m,基岩埋深60~89m。该处位于潮流主通道,采用较大跨径,以减少阻水率。为在经济性与阻水率之间获得一个平衡的跨径,经经济技术比较后推荐采用1l0m等跨:同时,为实现江海直达船航道两侧景观协调一致,在其西侧一定范围与东侧对称布置了10孔110m跨非通航孔。
5.5.3人工岛结合部非通航孔桥布置
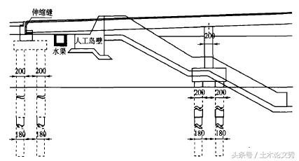
人工岛结合部采用合理压低桥梁起始处高程来缩短人工岛长度,按照300年一遇洪水加浪高不进入桥面为原则.浪高影响范围内桥坡与主梁固结,取消支座。为抵抗梁体承受的波浪力,临岛附近桥梁采用小跨径,采用不锈钢钢筋及增加混凝土政密性解决耐久性问题。岛桥连接处构造如图4所示。
(1)粤港分界线至东人工岛段桥跨布置为2×(3×47.5)m+3×35m,结构外形及风格与香港侧保持一致。
(2)西人工岛岛桥结合段桥跨布置为2×(3x44)m。

图4 岛桥结合部纵向位置关系图(尺寸单位:cm)
5.5.4珠澳口岸连接匝道桥
珠海、澳门口岸内客、货检分区设置,在大桥与口岸连接处需设置定向立交桥,使客、货车进出各自查验区。主线桥采用48×4m+30m一联的预应力混凝土连续箱梁,各匝道桥上部主梁采用25~40m跨单箱单室等截面连续箱梁。
5.6隧道方案及布置
经对沉管工法及盾构工法进行深入比选后,为减小隧道人工岛长度,减小对水流的长期影响,降低施工风险,推荐采用沉管法,隧道纵断面布置如图5所示。

图5 沉管隧道纵断面布置
首节管段与暗埋段相接处管底高程确定为-12.5m,暗埋段干施工时的水头差控制在15m以内,降低工程难度及风险;同时,为尽量缩短人工岛长度,在岛隧结合部,岛头合理向岛身移动,部分管节露出海床,对此部分管节参考国际上厄勒海峡及韩国釜山隧道经验,采用特殊的大型块石及锁管石块进行覆盖锁定防护,沉管隧道两侧采取防撞措施,避免露出海床的沉管船撞风险。
5.7隧道人工岛布置
为实现桥隧转换,设东、西两人工岛,东人工岛西边距铜鼓航道中心1563m,采用椭圆形布设,形似“蚝贝”,岛长625m,总面积为103161m2;西人工岛东边距伶们西航道中心2018m,也为椭圆形岛,岛长625m,总面积为97962m2。
为减少阻水效应,两岛均位于-10m等深线以外。
5.8桥、岛、隧总体布置
主体工程主线立面总体布置如图6所示,桥、岛、隧工程总阻水比小于10%。

图6 主体工程桥、岛、隧总体布置(尺寸单位:m)
6、桥梁方案
桥梁工程包括青州航道桥,江海直达船航道桥,九洲航道桥以及深水区非通航孔桥,浅水区非通航孔桥,与东、西人工岛相接处非通航孔桥等。
6.1通航孔桥
本项目各通航孔桥跨径中等,最大458m,桥梁技术难度不大,国内外均有许多成熟经验。通航孔桥方案选择的重点在于景观,九洲航道桥及江海直达船航道桥均选用中央索面斜拉桥,为保证三座通航孔桥风格一致性,青州航道桥采用中央索面斜拉桥(暂定,也有可能采用双索面斜拉桥)。
6.1.1青州航道桥
为双塔独柱钢箱梁斜拉桥,桥跨布置110+126+458+126+110=930m(图7、图8),半漂浮体系。塔、辅助墩、过渡墩处设置阻尼提高抗震性能,塔区附近桥面设置风障,保证大风时行车安全。
主梁为大悬臂单箱三室倒梯形截面,如图9所示,梁顶宽41.5m,底宽23.4m,梁高4.5m,顶板悬臂长度为5.5m,标准梁段长度为15m,拉索锚固位置位于中央直腹板处。
考虑增大正交异性板刚度以改善正交异性板疲劳并利于钢桥面铺装,顶板最小板厚18mm。
斜拉索采用接近竖琴型双索面,每个塔上有14对斜拉索,梁上索距为15m,塔上索距为7.5~9m;采用平行钢丝成品斜拉索。

图7 青州航道桥方案桥型总体布置(尺寸单位;cm)

图8 青州航道桥方案效果图

图9 青州航道桥主梁标准横截面(尺寸单位:mm)
索塔为中央独柱型混凝土塔,塔高(含塔冠)180.0m,在下塔柱顶部设置牛腿,下塔柱高度为45.0m,上塔柱高度为135.0m。下塔柱断面为倒角空心菱形断面,上塔柱断面为空心矩形断面。塔底5m采用实心断面。
索塔基础均采用群桩基础,承台采用八边形,承台下设36根直径2.5~2.2m的钢管复合桩,最大桩长为118.8m,按照支承桩设计。
辅助墩及过渡墩采用整体基础、整体墩身的结构形式,墩身采用与引桥墩身形式一致的矩形断面,墩高分别为40.7m和37.55m,断面尺寸为16m×4m。采用群桩基础,桩基采用钢管复合桩,承台采用八边形,外轮廓尺寸为24m×39.5m,承台厚3m,二承台厚2.5m。承台下设20根直径2.5~2.2m的钢管复合桩,最大桩长为100.8m,按照摩擦桩设计。
索塔及辅助墩过渡墩基础规模及结构由地震工况控制,经验算,自身可抵抗船撞荷载,因此考虑采用结构自身防撞的思想进行防船撞设计,承台周边设置消能及缓冲设施。
6.1.2江海直达船航道桥
为三塔独柱钢箱梁斜拉桥,桥跨布置为129+258+258+129=774m,主要设计思路同青州航道桥。主梁为倒梯形、带悬臂整幅单箱三室截面,斜拉索采用接近竖琴型双索面,索塔为中央独柱型混凝土塔,索塔基础均采用群桩钢管复合桩基础,主桥跨布置如图10所示,方案效果图如图11所示,主梁标准横断面如图12所示。

图10 江海直达船航道桥桥型总体布置(尺寸单位:cm)

图11 江海直达船航道桥方案效果图

图12 江海直达船航道桥主梁标准横截面(尺寸单位:mm)
6.1.3九洲航道桥
为风帆塔双塔独柱钢箱梁斜拉桥,桥跨布置为85+150+298+150+85=768m(图13、图14),两个索塔皆与主梁固结,辅助墩设竖向支撑,过渡墩设竖向支撑及横向抗风支座。在纵向,在三个索塔处设置纵向阻尼装置提高抗震性能。

图13 九洲航道桥桥型总体布置(尺寸单位:cm)

图14 九洲航道桥效果图
主梁为倒梯形、带悬臂整体单箱三室截面(图15),梁顶宽39.1m,底宽22.8m,梁高3.575m,顶板悬臂长度为5.5m,标准梁段长度为16m,拉索锚固位置位于中央直腹板处。
斜拉索采用竖琴型中央单索面,梁上索距为16m,塔上索距为9.63m。
索塔为风帆形中央独柱型钢塔,塔高(含塔冠)塔顶高程136.190m,曲臂由三组平行钢管件连接到钢塔的主垂直构件。主塔柱是钢一混凝土组合结构,外部为钢结构,易于制造和安装;内部为混凝土结构,以便有效地传递竖向力,并减少钢材用量。
基础采用钢管复合桩群桩基础,承台外轮廓尺寸为47.75m×26.70m,承台厚5m。承台下设22根直径2.5/2.2m的钢管复合桩,最大桩长86m,按嵌岩桩设计,考虑钢管参与受力。
辅助墩、过渡墩均采用整体基础、整体墩身的形式,墩身采用与引桥墩身形式一致矩形断面。辅助墩承台下设16根直径2.5/2.2m的钢管复合桩,最大桩长74m,过渡墩承台下设6根直径2.5/2.2m的钢管复合桩,最大桩长79m,均按嵌岩桩设计,考虑钢管参与受力。

图15 九洲航道桥主梁标准横截面(尺寸单位:cm)
6.2非通航孔桥
通过对整墩整箱钢箱梁、整墩分幅钢箱叠合梁及分墩分幅预应力混凝土梁及整墩整幅混凝土梁、整墩分幅混凝土梁、整墩整幅钢箱叠合梁深入比较,为增加大桥景观、利于防撞、减少对水流影响、利于抗震、减少基础规模、减少施工风险、保证结构寿命及耐久性角度,考虑成本/寿命比价值最大,推荐采用整墩整箱钢箱梁,设置减隔震支座提高结构抗震能力,为减少阻水比,非通航孔桥承台全部埋入海床。实现“工厂化、大型化、标准化、装配化”施工,基础采用钢管复合桩、预制承台及预制空心墩身,整孔钢梁整体吊装施工。如图16、图17所示。
6.2.1深水区非通航孔桥
为110m等跨整幅钢箱连续梁深水区非通航孔桥,共13.89km长,位于江海直达船航道桥以东(K13+437~K17+593,K18+523~K27+323)及以西(K28+097~K29+197),该处位于潮流主通道,宜采用较大跨径,以减少阻水率,选择110m等跨布置;为实现江海直达船航道两侧景观协调一致,在其西侧一定范围需与东侧对称布置。标准联采用6孔一联,等跨等截面布置,连续梁结构。

图16 整幅整箱方案标准横截面布置(尺寸单位:cm)

图17 整幅整箱方案效果图
主梁采用单箱双室整幅等梁高钢箱梁,全宽33.1m,梁高4.5m,顶板挑臂长度5.5m,考虑增大正交异性板刚度以改善正交异性板疲劳并利于钢桥面铺装,顶板最小板厚18mm,整跨梁吊装重量2270t。
基础采用钢管复合桩。钢管复合桩采用变截面桩,钢管壁厚22mm,钢管全长范围内浇注填芯混凝土。低墩区采用6根基桩,有钢管段直径200cm,无钢管段直径180cm,承台尺寸为9.9m×14.4m×4.85m,预制承台及其上连带墩身重量为23001;高墩区采用6根基桩,有钢管段直径220cm,无钢管段直径200cm,承台尺寸为10.6m×l5.6m×5.0m,预制承台及其上连带墩身重量为2600t。
承台及墩身均采用预制安装方案,为减少墩身重量,预制墩身采用空心墩,承台与首节墩身一体预制及安装,并将墩身接缝设于浪溅区以上,以提高接缝的耐久性。桥墩采用空心薄壁形式,墩高小于等于26m的墩身采用3.5m×10.0m截面,墩高大于26m高墩区墩身采用4.0m×10.0m截面。墩顶8m范围内在横桥向由10m加宽至14m。
6.2.2浅水区非通航孔桥
为85m 跨整墩整幅钢箱连续梁(图18)

图18 整墩整幅钢箱连续梁标准横断面(尺寸单位:mm)
浅水区非通航孔桥共长约5.4km,位于江海直达船航道以西(K29+197~K33+702、K34+470~K35+370),水深3~4m,采用85m等跨布置,浅水区设计思路及构造外形同深水区非通航孔桥,只因跨径减小,结构尺寸减小及对设备要求降低。采用六跨一联(6×85m=510m)连续梁结构。
与深水区110m非通航孔桥保持外观上的一致性,采用相同的悬臂长度和腹板斜度,梁高则由深水区110m梁的4.5m降到3.5m,主梁采用单箱三室带肋整帽架,对称布置.梁高3.5m,顶板宽33.1m,板厚18mm。整跨梁吊装重量17001。
基础采用钢管复合变截面桩,钢管壁厚22mm,钢管全长范围内浇筑填芯混凝土。低装区采用4根基桩,有钢管段直径200cm,无钢管段直径180cm,承台尺寸为10.2m×ll.2m×4.85m;高墩区采用4根基桩,有钢管段直径220cm,无钢管段直径200cm,承台尺寸为11.1m×12.75m×4.85m。
桥嫩采用工厂预制现场节段拼接方案,通过预应力干接缝连接,墩高小于等于26m的数身采用10m×3.0m带倒角矩形截面,墩高大于26m高墩区教身采用10m×3.5m带倒角矩形截面,采用等截面墩身到距离墩顶部8m处逐渐打开到18.46m宽。
考虑预制场的转运设备及现场安装的吃水要求,嫩身分段预制时节段重量控制在15001左右。预制桥墩的承台顶面至+8.000m高度的教身范围内采用防腐钢筋,其余部分均为普通钢筋。
6.2.3西人工岛结合部非通航孔桥
西人工岛结合部自隧道敞口段与桥梁的分界线K13+149~K13+413.总长264m,桥跨布置为(3×44)m+(3×44)m,3跨一联,过渡墩上设支座,中间墩墩梁固结。采用分嫩分福预应力混凝土方案,箱梁连续变宽,桥面平均宽度在20m左右,设计采用双室三腹板的预应力混凝土箱梁。
6.2.4东人工岛结合部非通航孔桥
粤港分界线K5+972.454~K6+362.454为东人工岛结合部桥梁,总长390m,桥跨布置为2x(3×47.5)m+(3×35)m,3跨为一联,过渡墩设支座,中间支点采用墩梁固结。
结构外形与香港侧保持一致,采用分兼分解预应力混凝土方案,箱梁连续变宽,桥面平均宽度在20m左右,设计采用双室三覆板的预应力混凝土箱梁。
7、隧道方案
7.1隧道方案特点
(1)全长5990m(不含桥隧过渡段,沉管段长5664m,现浇暗埋段长各163m),建成后为世界最长的沉管隧道。
(2)为综合技术难度非常高的隧道工程,表现在:
①长度近6km、管底最大埋深达45m;对安全运营系统及结构带来难度;
②横截面宽近38m;管顶覆盖层受荷过程复杂,为不均匀同淤;
③地质不均匀,表层软土性能差;沉管隧道不均匀沉降控制是关键;
④海洋环境;与新填人工岛连接;岛随结合部完好连接并协调是关键。
7.2横截面设计
结合通风方式,采用两孔一管廊横断面,两侧为行车道孔,中间为综合管廊,管廊内分为三层,上层为专用排烟通道,中层为横向安全通道,下层为电缆沟和海底泵房。隧道中隔墙上每间隔90m设置一处逃生安全门,连通两行车道孔及横向安全通道。中间管廊则根据排烟道面积、安全通道高度以及给排水管道高度等综合需求确定。隧道段主体结构路拱横坡采用l.5%:沉管隧道横断面布置如图19所示。

图19 两孔一管廊隧道断面
7.3纵断面设计
隧道纵面形式直接关系到隧道最大埋深、水下作业难度以及基槽开挖量的大小等。根据隧道区航道布置情况,本项目沉管隧道纵断面可采用V形或W形,为了尽可能提高隧道设计高程、减少基槽开挖量,并满足隧道内最小排水纵坡0.3%的需要,在伶们西及铜鼓(预留)两主航道间的K8+135~K10+945段采用坦W形断面,两航道中间设高点,最低点设两处,分别位于靠近主航道的下方,便于运营期废水的排放。沉管隧道纵断面布置如图20所示。

图20 沉管隧道纵断面图(尺寸单位;m)
7.4管节结构、接头与防水
推荐采用节段式管节,其优点在于:对地层及回淤荷载适应性强;利于施工过程管理;全线共33个管节,每节长180m,由8×22.5m管段组成,管节间接头采用传统的:GINA+OME-
GA+剪切键,节段接头采用“可注浆式止水带+OMEGA密封条+剪力键”方案。按水密性混凝土浇筑管段混凝土结构,不考虑外包防水。
浮运沉放管节长180m,宽37.95m,高1l.5m,每节排水量近8万t,沉管最大埋深45m。
7.5管节基础处理
对于在海中的管节长度长的节段式沉管隧道,从安全、风险等的角度出发,本阶段推荐采用整平碎石垫层,垫层厚1.0m,横向从隧道外墙向两侧各延伸至少2m范围,基于地质、水文、技术、造价、工期等的综合分析,拟定沉管隧道纵向不同管节的基础处理形式见表3。

表3 沉管隧道管节基础处理
8、人工岛方案
8.1西人工岛总体布置
西人工岛成椭圆形,采用“蚝贝”主题设计,总面积97962m2,岛长625m,岛最宽处190m。西人工岛起点桩号K12+548,终点桩号K13+173,岛东边距伶们西航道2018m。西人工岛以管理功能为主,设置运营、养护、救援站。隧道西人工岛效果图如图21所示。

图21 隧道西人工岛效果图
8.2西人工岛结构
为实现岛隧结合部安全施工,降低风险,岛隧结合部岛内隧道暗埋段推荐采用干法施工。
根据岛隧总施工工序及工期安排,将首先开工西人工岛及岛上隧道暗埋段,为首节沉管管节下沉提供条件。且工程开工后第27个月内,西人工岛岛内隧道必须具备实现与沉管隧道对接的条件。
为满足此项关键节点工期的要求,西人工岛上包含第一段暗埋隧道区域的区域(以下称为“小岛”)需先期施工,创造条件进行该段隧道现浇,尽快形成与沉管隧道的对接条件;在沉管隧道海中段逐段向东岛推进同时完成西人工岛剩余部分填筑及其他构筑物施工。人工岛岛体结构方案设计重点在于三个方面:岛壁结构选择;岛壁及暗埋段地基处理方案选择;岛上隧道段基坑围护及止水方案选择。
岛壁结构采用抛石斜坡式,具有对地基承载能力要求不高,对地基的沉降变形适应能力强,结构中钢筋混凝土用量少,耐久性好;同时开挖换填加挤密砂桩的地基处理方法技术较成熟,实践经验相对丰富,工程风险较小,工期满足要求,工程造价相对较低。
为尽快形成干施工条件,“小岛”区域先行修筑海上围堰,封闭降水后即可进行隧道暗埋段施工,同时可施工人工岛结构,使隧道与人工岛施工同步进行,加快施工进度。由于围堰结构先于岛壁结构施工,在隧道施工期间,围堰结构需要承担外海的波浪、潮流的直接作用和基坑内外水头差引起的水压力的作用,因此围堰结构要有足够的自身稳定性。通过对本工程地质、水文等条件的分析及国外大型海上深基坑围堰结构的工程实例分析,水上基坑围堰结构采用格形钢板桩结构。西岛小岛格形钢板桩围护方案断面如图22所示,西岛岛隧连接部平面如图23所示。

图22 西岛小岛格形钢板桩围护方案断面(尺寸单位;cm)

图23 西岛岛隧连接部平面(尺寸单位:cm)
“小岛”区域地基处理采用开挖换填方案,挖除岛隧端第一大层的淤泥和淤泥质黏土层,开挖深度至-31m,下部保留③3粉质黏土和③2粉质黏土夹砂层厚度为14~16m,挖除的土层考虑换填中粗砂,并振冲密实处理。根据计算人工岛稳定和沉降均满足要求,下部保留的粉质黏土层作为良好的隔水层可以比较方便地进行岛上段隧道基坑的防渗止水。
“大岛”区域地基处理采用部分开挖加挤密砂桩方案,将表层的淤泥土层全部挖除,换填成中粗砂,并经振冲密实处理。淤泥层下部的淤泥质黏土和粉质黏土层打设砂桩,分为岛壁结构区和岛内吹填区。岛壁区的淤泥质黏土采用打设④1600@2400挤密砂桩处理,其置换率为35%,粉质黏土和黏土中打设①1000@2400的排水砂桩,其置换率为12%。岛内吹填区采用打设p800@1800的排水砂井,为满足人工岛地基沉降和基坑内抗突涌稳定要求,砂桩底不穿透第三大层的土层,保留9m厚的黏土层。在岛桥结合部为减少人工岛的水平变形对桥墩桩基的影响,将该区域岛壁下的挤密砂桩间距适当加密。
8.3东人工岛总体布置
东人工岛临近香港,成椭圆形,采用“蚝贝”主题设计,总面积为101973m2,岛长625m,最宽处约215m。东人工岛起点桩号K6+339,终点桩号K6+964,岛西边距铜鼓航道1563m。除了养护救援功能外,附加服务功能。隧道东人工岛效果图如图24所示。

图24 隧道东人工岛效果图
8.4东人工岛结构
与西人工岛不同,东人工岛处在沉管隧道施工接近结束时才需要进行隧道对接,相对西人工岛而言对接的时间比较靠后。因此,东人工岛全岛填筑完成后,再进行隧道和岛上其他构筑物施工。
东人工岛结构为:岛壁采用抛石斜坡堤,地基处理采用开挖换填加挤密砂桩,东人工岛一次填筑完成后再进行隧道施工,隧道基坑围护结构采用地连墙加支撑系统等结构形式。
9、结语
本项目是中国交通建设史上专业面最广、技术标准最高、技术难度最大的工程,是我国继三峡工程、青藏铁路、京沪高铁后又一项超级工程,是当今世界上规模最大、标准最高、技术最复杂的桥、岛、隧一体化的集群工程,项目特点及创新主要包括:
(1)技术标准及要求高,建设条件复杂。设计寿命120年,综合技术标准高;地处台风区,平均每年遭遇1.8个台风影响,最大风速在十二级以上;地质覆盖层深厚软弱,厚度30~60m,最厚达120m,淤泥最厚40m,岛隧沉降控制难度巨大。
(2)技术覆盖面广、涵盖专业多。大桥涵盖了交通行业内桥、岛、隧、路等各项工程专业,是我国首座集桥、岛、隧一体化的世界级交通集群工程,它对水工、路桥、隧道等多专业的集成和综合运用将迈入一个崭新的阶段。
(3)岛隧关键技术具有世界级难度。隧道工程为我国第一条在外海修建的海底沉管隧道,沉管隧道长度居世界之首;隧道人工岛为外海离岸人工岛,岛隧总体规模和难度为世界之最,场区风浪条件及地质条件挑战大,岛隧控制沉降、控制裂缝及防渗等技术具有世界级难度。
(4)港珠澳大桥主体工程桥、岛、隧将更新建设理念,采用大型化、工厂化、标准化、装配化的理念和方法开展设计、施工,赶超世界先进水平。