说在前面
在尼恩指导了几百个小伙伴的面试,在这些过程中, 非常、非常高频的一个面试题:
千万级数据,如何做性能优化?
亿级数据,如何做性能优化?
最近,有个小伙伴阿里二面,又遇到了这个问题。
其实,一直想梳理一个教科书式的答案,
但是由于千万级数据、亿级数据的场景,千差万别,唯恐不能覆盖全面而出现纰漏,所以一直拖着。
一直拖着....
最近,在梳理超高并发行业案例的过程中,发现了一个"近乎完美" 的行业案例《vivo 全球商城 亿级订单中心、优惠券中心架构设计与实践》。
突然,豁然开朗。
咱们一直心心念念的 “千万级数据,如何做性能优化?” 的教科书式的答案,其实就藏着在这个行业案例里边。
什么才是“教科书式” 答案:
- 要求1:数据量贴近实际
很多小伙伴,一说到3高架构,就习惯于 一顿猛吹,不切实际
面试官又不是傻子,一听,就知道在吹水。
vivo 案例里边的数据量, 刚好不多不少, 正好是 “教科书式” 的数据量
- 要求2:方案不够完美,但是生产足以
很多小伙伴,一遇到3高架构的题目,就异常亢奋
狠不得竹筒倒豆子,把Java面试宝典里边的三高架构思路,书里的三高架构思路,社群的听到到三高架构思路,一个劲儿全部倒出来,
一听,就知道在吹水。为什么呢?
生产方案,其实不不是完美的
完美的方案,都不怎么生产;都活在书上、活在嘴里
而行业案例《vivo 全球商城 亿级订单中心、优惠券中心架构设计与实践》,刚好就是一个不怎么完美的方案,但是,却恰恰是一个 真正生产方案。
总之,从 面试维度,对这个方案,进行二次重构和梳理,现在把其做为参考答案,收入咱们的
《Java面试宝典 PDF》
供后面的小伙伴参考,大家一定好好看看这个教科书级别的答案。
注:本文以 PDF 持续更新,最新Java 架构笔记、面试题 的PDF文件,请后台私信【笔记】即可获取!
问题场景介绍
首先,看看VIVO商城的用户数据
截止2021,vivo在全球已覆盖4亿多用户,服务60多个国家和地区,
vivo 在菲律宾、马来、印度等国家的市场份额名列前三,在国内出货量始终保持领先地位,成功跻身2021年第三季度4000+以上高端手机市场份额的Top3。
抱歉,以上是他们2021的数据,
但是咱们手上的方案,大概是他们2018年的,那时候,他们的订单只有1000万级别。
那个时候的vivo商城数据量看上去不多,但是刚好是完美的学习型数据。
VIVO商城问题场景
从2017年开始,随着用户量级的快速增长,vivo 官方商城 v1.0 的单体架构逐渐暴露出弊端:
- 模块愈发臃肿
- 开发效率低下
- 性能出现瓶颈
- 系统维护困难。
订单模块是电商系统的交易核心,不断累积的数据即将达到单表存储瓶颈,系统难以支撑新品发布和大促活动期间的流量,服务化改造势在必行。
那么,他们如何做优化呢?
优化措施的宏观介绍
优化1:业务架构解耦
从2017年开始启动的 v2.0 架构升级和全面的解耦,包括 业务模块解耦、服务化改造
- 业务模块解耦,主要是基于业务模块进行垂直的系统物理拆分,
- 服务化改造,就是在业务模块解耦基础上,进一步的微服务化。拆分出来业务线各司其职,提供服务化的能力,共同支撑主站业务。
基于业务模块进行垂直的系统物理拆分,分出来业务线各司其职,提供服务化的能力,共同支撑主站业务。
优化2:数据量大的优化
随着历史订单不断累积,2017年MySQL中订单表数据量已达千万级。之后的订单数据,远远大于亿级
对数据量大的问题,进行了以下优化:
- 数据归档
- 分表
优化3:吞吐量大的优化
商城业务处于高速发展期,下单量屡创新高,业务复杂度也在提升,
应用程序对MySQL的访问量越来越高,但是, 单机MySQL的处理能力是有限的,
当压力过大时,所有请求的访问速度都会下降,甚至有可能使数据库宕机。
并发量高的解决方案有:
- 使用缓存
- 读写分离
- 分库
优化4:高速搜索引擎的数据一致性优化
为了便于订单的聚合搜索,高速搜索,把订单数据冗余存储在Elasticsearch中,
那么,如何在MySQL的订单数据和ES中订单数据的增量一致性呢?
他们从以下的两种方案中:
1)MQ方案
2)Binlog方案
他们没有选择 业务代码侵入小、不影响服务本身的性能 的Binlog方案
而是选择 更加低延迟的 MQ方案。
优化5:合理的选择数据库迁移措施
何将数据从原来的单实例数据库,迁移到新的数据库集群,也是一大技术挑战。
要考虑的问题有二:
- 要确保数据的正确性,
- 还要保证迁移过程中,只要有问题,能快速地回滚。
他们考虑了两种方案:
- 停机迁移
- 不停机迁移
他们比较务实,不追求高大上。
考虑到不停机方案的改造成本较高,而夜间停机方案的业务损失并不大,最终选用的是停机迁移方案。
这才是 教科书式的选择。
优化6:合理的进行分布式事务方案的选型
从单体架构,到微服务架构,数据的一致性呢?
单体架构的 数据库ACID 事务,当然保证不了,需要用到分布式事务。
分布式事务的方案,那就太多了。
业界的主流方案中,用于解决强一致性的有两阶段提交(2PC)、三阶段提交(3PC),
用于解决最终一致性的有TCC、本地消息、事务消息和最大努力通知等。
他们从高并发的场景出发,选择了本地消息表方案:
在本地事务中将要执行的异步操作记录在消息表中,如果执行失败,可以通过定时任务来补偿。
优化7: 其他的一些细节优化
- 比如 es 召回优化
- 比如消息的有序性优化
- 比如sharding-jdbc 分页查询优化等等
接下来,来看看这个生产项目,具体是怎么做的。
优化1:业务架构解耦
业务架构解耦,就是基于业务模块,进行垂直的系统物理拆分,
拆分出来业务线各司其职,提供服务化的能力,共同支撑主站业务。
所以,之前的订单模块,被从商城拆分出来,独立为订单系统,为商城相关系统提供订单、支付、物流、售后等标准化服务。
模块解耦配合的,就是数据库解耦,所以,订单模块使用独立的数据库,
高并发场景下,模块解耦之后,就是服务解耦(微服务化)。
服务化解耦之后,对应的就是团队解耦。拆分出来业务线,各司其职。
总结起来,其实就是四大解耦:
- 模块解耦
- 数据库解耦
- 服务解耦
- 团队解耦(业务线解耦)
四大解耦之后,订单系统架构如下图所示:

那么四大解耦之后,结果是什么呢:
- 拆分出来业务线各司其职,迭代效率大幅提升
- 能更好的应对超高并发、超大规模数据存储难题。各个业务线可以结合领域特性,实施个性化的解决方案,更加有效、更有针对性的生产难题。
优化2:数据量大的优化
随着历史订单不断累积,2017年MySQL中订单表数据量已达千万级。2017年之后的订单数据,远远大于亿级
大家知道,InnoDB存储引擎的存储结构是B+树,单表的查找时间复杂度是O(log n),
B+树的问题是: 树的高度越大, IO次数越多
而磁盘IO操作,是性能非常低的。
因此当数据总量n变大时,检索速度必然会变慢,
不论如何加索引或者优化都无法解决,只能想办法减小单表数据量。
对数据量大的问题,进行了以下优化:
- 数据归档
- 分表
1)数据归档
根据二八定律,系统绝大部分的性能开销花在20%的业务。数据也不例外,
从数据的使用频率来看,经常被业务访问的数据称为热点数据;反之,称之为冷数据。
订单数据具备时间属性,存在热尾效应,
在了解的数据的冷、热特性后,便可以指导我们做一些有针对性的性能优化。
这里面有业务层面的优化,也有技术层面的优化。
业务层面的优化:
电商网站,一般只能查询3个月内的订单,如果你想看看3个月前的订单,需要访问历史订单页面。
技术层面的优化:
大部分情况下检索的都是最近的订单,而订单表里却存储了大量使用频率较低的老数据。
那么就可以将新老数据分开存储,将历史订单移入另一张表中,
然后,对代码中的查询模块做一些相应改动,便能有效解决数据量大的问题。
2)数据分表
分表又包含垂直分表和水平分表:
- 水平分表:在同一个数据库内,把一个表的数据按一定规则拆到多个表中;
- 垂直分表:将一个表按照字段分成多表,每个表存储其中一部分字段。
这里主要是减少 IO 的次数,降低B+树的高度,所以,主要考虑的是水平分表
按照业内的参考标准,单表的数据在500-1000W,B+树的高度在2-3层,一般2-3次IO操作,就可以读取到数据记录。
但是,分表和措施,通常和分库一起分析和落地。
所以,这里稍后结合 第三大优化吞吐量大的优化,一起分析。
优化3:吞吐量大的优化
截止2021,vivo在全球已覆盖4亿多用户,服务60多个国家和地区
从2017年开始,商城业务处于高速发展期,下单量屡创新高,吞吐量猛涨
- 应用程序吞吐量猛涨
- MySQL的吞吐量猛涨
但是, 单体MySQL的处理能力是有限的,当压力过大时,首先是 所有请求的RT时间拉长,访问速度下降,最后是拖垮整个数据库,甚至有可能使数据库宕机。
吞吐量大的优化的解决方案有:
- 使用缓存
- 读写分离
- 分库
1)使用缓存
梳理了《当当的亿级电商支付系统性能优化方案》之后,总结了高并发架构的三板斧: 缓存、池化、异步
第一板斧,首当其冲
首先考虑的是分布式缓存 Redis,使用Redis作为MySQL的前置缓存,可以挡住大部分的查询请求,并降低响应时延。
其次,对于热点数据,可以使用二级缓存,甚至三级缓存
具体可以参考诸葛老师的 《第26章视频: 百万qps 三级缓存架构落地与实操》

但是,缓存对存在局部热点、周期性热点数据友好
比如: 商品系统、 优惠券系统、活动系统,这里存在局部热点、周期性热点数据的系统,使用一级缓存、二级缓存、甚至三级缓存。
但是,订单系统不属于这个场景。
订单熊有一个特点,每个用户的订单数据都不一样,
所以,在订单系统中,缓存的缓存命中率不高。不存在太热的数据,所以一级缓存、三级缓存就不用了。
但是,redis 二级缓存,能缓存最近的订单,
最近的订单也是用户最近最可能使用的数据,矮个子里边拔将军,
所以,redis分布式还是能够为DB分担一下压力。这个还是要用的。
2)读写分离
主库负责执行数据更新请求,然后将数据变更实时同步到所有从库,用多个从库来分担查询请求。
问题是:
- 但订单数据的更新操作较多,下单高峰时主库的压力依然没有得到解决。
- 且存在主从同步延迟,正常情况下延迟非常小,不超过1ms,但也会导致在某一个时刻的主从数据不一致。
那就需要对所有受影响的业务场景进行兼容处理,可能会做一些妥协,
比如下单成功后先跳转到一个下单成功页,用户手动点击查看订单后才能看到这笔订单。

3)分库
分库又包含垂直分库和水平分库:
- 水平分库:把同一个表的数据按一定规则拆到不同的数据库中,每个库可以放在不同的服务器上;
- 垂直分库:按照业务将表进行分类,分布到不同的数据库上面,每个库可以放在不同的服务器上,它的核心理念是专库专用。
分库能够解决整体 高吞吐的问题
分表能够解决单表 高吞吐的问题
综合考虑了改造成本、效果和对现有业务的影响,决定直接使用最后一招:分库分表。
4)分库分表技术选型
分库分表的技术选型主要从这几个方向考虑:
- 客户端sdk开源方案
- 中间件proxy开源方案
- 公司中间件团队提供的自研框架
- 自己动手造轮子
参考之前项目经验,并与公司中间件团队沟通后,采用了开源的 Sharding-JDBC 方案。
Sharding-JDBC 方案 已更名为Sharding-Sphere。
- 特点:jar包方式提供,属于client端分片,支持xa事务

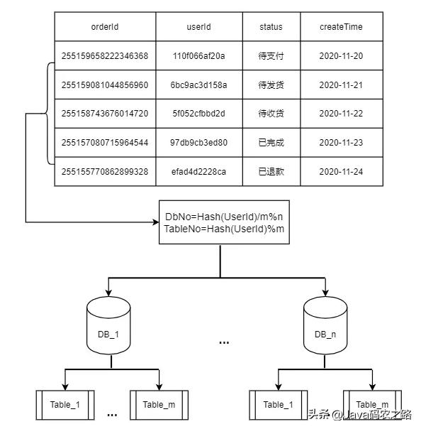
1)分库分表策略
结合业务特性,选取用户标识作为分片键,
通过计算用户标识的哈希值再取模,来得到用户订单数据的库表编号。
假设共有n个库,每个库有m张表,
则库表编号的计算方式为:
- 库序号:Hash(userId) / m % n
- 表序号:Hash(userId) % m
路由过程如下图所示:

id的路由,逻辑比较复杂, 《10w qps 推送中台》有详细具体的介绍,这个可以参考。
行业有非常多的解决案例, 推特 snowflake雪花id, 百度 雪花id,shardingjdbc 雪花id 源码,这些案例各有优势,这些 诸葛老师的第19章《10w qps 推送中台》有源码级、原理级的介绍。
2)分库分表的局限性和应对方案
分库分表解决了数据量和并发问题,但它会极大限制数据库的查询能力,
有一些之前很简单的关联查询,在分库分表之后可能就没法实现了,
那就需要单独对这些Sharding-JDBC不支持的SQL进行改写。
除此之外,还遇到了这些挑战:
①全局唯一ID设计
分库分表后,数据库自增主键不再全局唯一,不能作为订单号来使用,
但很多内部系统间的交互接口只有订单号,没有用户标识这个分片键,如何用订单号来找到对应的库表呢?
原来,我们在生成订单号时,就将库表编号隐含在其中了。
这样就能在没有用户标识的场景下,从订单号中获取库表编号。
id的设计,逻辑复杂,既要考虑 高并发高性能,还要考虑时钟回拨等问题。
行业有非常多的解决案例, 推特 snowflake雪花id, 百度 雪花id,shardingjdbc 雪花id 源码,这些案例各有优势,这些 诸葛老师的第19章《10w qps 推送中台》有源码级、原理级的介绍。
②历史订单号没有隐含库表信息
用一张表单独存储历史订单号和用户标识的映射关系,随着时间推移,这些订单逐渐不在系统间交互,就慢慢不再被用到。
③管理后台需要根据各种筛选条件,分页查询所有满足条件的订单
将订单数据冗余存储在搜索引擎Elasticsearch中,仅用于后台查询。
优化4:高速搜索引擎的数据一致性优化
为了便于订单的聚合搜索,高速搜索,把订单数据冗余存储在Elasticsearch中,
那么,如何在MySQL的订单数据和ES中订单数据的增量一致性呢?
上面的说法,文绉绉的。
直白来说,如何在MySQL的订单数据变更后,同步到ES中呢?
上面说到为了便于管理后台的查询,我们将订单数据冗余存储在Elasticsearch中,
那么,如何在MySQL的订单数据变更后,同步到ES中呢?
这里要考虑的是数据同步的时效性和一致性、对业务代码侵入小、不影响服务本身的性能等。
1)MQ方案
ES更新服务作为消费者,接收订单变更MQ消息后对ES进行更新

2)Binlog方案
ES更新服务借助canal等开源项目,把自己伪装成MySQL的从节点,接收Binlog并解析得到实时的数据变更信息,然后根据这个变更信息去更新ES。

其中BinLog方案比较通用,但实现起来也较为复杂,我们最终选用的是MQ方案。
因为ES数据只在管理后台使用,对数据可靠性和同步实时性的要求不是特别高。
考虑到宕机和消息丢失等极端情况,在后台增加了按某些条件手动同步ES数据的功能来进行补偿。
优化5:合理的选择数据库迁移措施
如何将数据从原来的单实例数据库,迁移到新的数据库集群,也是一大技术挑战。
不但要确保数据的正确性,还要保证每执行一个步骤后,一旦出现问题,能快速地回滚到上一个步骤。
我们考虑了停机迁移和不停机迁移的两种方案:
1)不停机迁移方案:
- 把旧库的数据复制到新库中,上线一个同步程序,使用 Binlog等方案实时同步旧库数据到新库;
- 上线双写订单新旧库服务,只读写旧库;
- 开启双写,同时停止同步程序,开启对比补偿程序,确保新库数据和旧库一致;
- 逐步将读请求切到新库上;
- 读写都切换到新库上,对比补偿程序确保旧库数据和新库一致;
- 下线旧库,下线订单双写功能,下线同步程序和对比补偿程序。

2)停机迁移方案:
- 上线新订单系统,执行迁移程序将两个月之前的订单同步到新库,并对数据进行稽核;
- 将商城V1应用停机,确保旧库数据不再变化;
- 执行迁移程序,将第一步未迁移的订单同步到新库并进行稽核;
- 上线商城V2应用,开始测试验证,如果失败则回退到商城V1应用(新订单系统有双写旧库的开关)。

考虑到不停机方案的改造成本较高,而夜间停机方案的业务损失并不大,最终选用的是停机迁移方案。
优化6:合理的进行分布式事务方案的选型
电商的交易流程中,分布式事务是一个经典问题,比如:
- 用户支付成功后,需要通知发货系统给用户发货;
- 用户确认收货后,需要通知积分系统给用户发放购物奖励的积分。
我们是如何保证微服务架构下数据的一致性呢?
不同业务场景对数据一致性的要求不同,业界的主流方案中,用于解决强一致性的有两阶段提交(2PC)、三阶段提交(3PC),解决最终一致性的有TCC、本地消息、事务消息和最大努力通知等。
我们正在使用的本地消息表方案:
在本地事务中将要执行的异步操作记录在消息表中,如果执行失败,可以通过定时任务来补偿。
下图以订单完成后通知积分系统赠送积分为例。

优化7: 其他的一些细节、具备优化
1)网络隔离
只有极少数第三方接口可通过外网访问,且都会验证签名,
内部系统交互使用内网域名和RPC接口,不需要要进行签名,提升性能,也提升安全性。
2)并发锁
分布式场景,可能会出现同一个订单的并发更新
任何订单更新操作之前,会通过数据库行级锁加以限制,防止出现并发更新。
3)幂等性
分布式场景,可能会出现同一个订单的重复更新
所有接口均具备幂等性,不用担心对方网络超时重试所造成的影响。
4)熔断
分布式场景,需要防止故障的扩散,发生由一点牵动全身的系统性雪崩
防止某个系统故障的影响扩大到整个分布式系统中。
使用Hystrix组件,对外部系统的实时调用添加熔断保护,防止某个系统故障的影响扩大到整个分布式系统中。
5)全方位监控和告警
通过配置日志平台的错误日志报警、调用链的服务分析告警,
再加上公司各中间件和基础组件的监控告警功能,让我们能够能够第一时间发现系统异常。
6)消息的有序性问题
采用MQ消费的方式同步数据库的订单相关数据到ES中,遇到的写入数据不是订单最新数据问题。

上图左边是原方案:
在消费订单数据同步的MQ时,如果线程A在先执行,查出数据,
这时候订单数据被更新了,线程B开始执行同步操作,查出订单数据后先于线程A一步写入ES中,
线程A执行写入时就会将线程B写入的数据覆盖,导致ES中的订单数据不是最新的。
上图右边是解决方案:
解决方案是在查询订单数据时加行锁,整个业务执行在事务中,执行完成后再执行下一个线程。
7)sharding-jdbc 分组后排序分页查询出所有数据问题
示例:
select a from temp group by a,b order by a desc limit 1,10
执行时Sharding-jdbc里group by 和 order by 字段和顺序不一致时将10置为Integer.MAX_VALUE, 导致分页查询失效。
io.shardingsphere.core.routing.router.sharding.ParsingSQLRouter#processLimit
private void processLimit(final List<Object> parameters, final SelectStatement selectStatement, final boolean isSingleRouting) {
boolean isNeedFetchAll = (!selectStatement.getGroupByItems().isEmpty() || !selectStatement.getAggregationSelectItems().isEmpty()) && !selectStatement.isSameGroupByAndOrderByItems();
selectStatement.getLimit().processParameters(parameters, isNeedFetchAll, databaseType, isSingleRouting);
}
io.shardingsphere.core.parsing.parser.context.limit.Limit#processParameters
/**
* Fill parameters for rewrite limit.
*
* @param parameters parameters
* @param isFetchAll is fetch all data or not
* @param databaseType database type
* @param isSingleRouting is single routing or not
*/
public void processParameters(final List<Object> parameters, final boolean isFetchAll, final DatabaseType databaseType, final boolean isSingleRouting) {
fill(parameters);
rewrite(parameters, isFetchAll, databaseType, isSingleRouting);
}
private void rewrite(final List<Object> parameters, final boolean isFetchAll, final DatabaseType databaseType, final boolean isSingleRouting) {
int rewriteOffset = 0;
int rewriteRowCount;
if (isFetchAll) {
rewriteRowCount = Integer.MAX_VALUE;
} else if (isNeedRewriteRowCount(databaseType) && !isSingleRouting) {
rewriteRowCount = null == rowCount ? -1 : getOffsetValue() + rowCount.getValue();
} else {
rewriteRowCount = rowCount.getValue();
}
if (null != offset && offset.getIndex() > -1 && !isSingleRouting) {
parameters.set(offset.getIndex(), rewriteOffset);
}
if (null != rowCount && rowCount.getIndex() > -1) {
parameters.set(rowCount.getIndex(), rewriteRowCount);
}
}
正确的写法应该是
select a from temp group by a desc ,b limit 1,10;
两个sql,可以对比一下
select a from temp group by a desc ,b limit 1,10 ; #优化的sql, 去掉了 oderby
select a from temp group by a,b order by a desc limit 1,10 #原始的sql
这里 使用的版本是sharing-jdbc的3.1.1。
8)ES分页查询的召回问题
ES分页查询的召回问题: ES分页查询如果排序字段存在重复的值。
解决方案:最好加一个唯一的字段作为第二排序条件,避免分页查询时漏掉数据、查出重复数据,
比如用的是订单创建时间作为唯一排序条件,同一时间如果存在很多数据,就会导致查询的订单存在遗漏或重复,
这里,需要增加一个唯一值作为第二排序条件、或者直接使用唯一值作为排序条件。
优化和升级的成果
最后,总结一下,优化和升级的成果
- 一次性上线成功,稳定运行了一年多;
- 核心服务性能提升十倍以上;
- 系统解耦,迭代效率大幅提升;
- 能够支撑商城至少五年的高速发展。
来自VIVO官方的建议
VIVO官网商城开发团队在系统设计时,并没有一味追求前沿技术和思想,
面对问题根据业务实际状况来选取最合适的办法。
VIVO官网商城开发团队认为,一个好的系统,不是在一开始就被大牛设计出来的,
一个好的系统,一定是随着业务的发展和演进逐渐被迭代出来的,持续预判业务发展方向,提前制定架构演进方案,
所以,以上才是“教科书式” 答案:
结合 VIVO的优化方案,大家回到前面的面试题:
- 千万级数据,如何做性能优化?
- 亿级数据,如何做性能优化?
很多小伙伴,一遇到3高架构的题目,就异常亢奋,狠不得竹筒倒豆子,一顿狂吹,一通猛吹,一通瞎吹
通过以上的VIVO的实际优化案例,大家应该有一个切实的感受:
- 生产方案,其实不不是完美的
- 完美的方案,都不怎么生产;都活在书上、活在嘴里
以上问题的和答案,不算完美,但是,正因为这样,才算是一个面试场景,教科书式的答案
该答疑,已经收入 《Java面试宝典》第V36版本,需要的朋友请后台私信【笔记】获取。
后续,尼恩为结合生产实际项目、一线生产项目,
给大家分析、总结更多的,更加 符合实际的、真正的工业级的 教科书式的答案。