原来,买盲盒,真的可以把一个公司送上市。
6月1日,儿童节当天,潮流玩具公司泡泡玛特正式向港交所递交招股书。招股书显示,2019年全年,泡泡玛特实现总收益16.834亿元,净利润4.511亿元。
其中卖盲盒获得的毛利率达到64.8%,如此暴利,堪比印钞机。
而“盲盒经济”也随之悄然而起,不仅每月花费几千元购买盲盒已经成为某些年轻人的生活常态,愿意以超过原价数十倍购买一个盲盒的“玩家”也比比皆是。
但更令人瞠目结舌的是,一些走在潮流最前线的00后甚至已经开始养娃了……

从连续三年亏损
到一年卖狂卖16亿
仅从招股书来看,泡泡玛特近3年可谓是赚得盆满钵满。
招股书显示,2017年至2019年,泡泡玛特的营业收入分别为1.58亿元、5.14亿元和16.83亿元,2018和2019年的营收增幅分别达到225.4%、227.2%,业绩在两年内实现了爆发式增长。
在净利润方面,2017年至2019年分别为156万元、9952万元和4.51亿元。单以2019年数据计算,泡泡玛特的净利润率达到26.8%。
2019年公司净利相比2017年,激增了288倍。
而毛利更是惊人,2017年至2019年,公司毛利则达到7530万元、2.98亿元及10.9亿元;同期的毛利率分别为47.6%、57.9%及64.8%。

但在2017年前,泡泡玛特却完全不是如今的样子。
作为一家于2010年成立的公司,泡泡玛特曾经在2014-2016年连续亏损。
wind数据显示,2014年至2016年,泡泡玛特分别实现营收为1703.21万元、4537.53万元和8811.85万元。尽管收入连年增加,但亏损也同样,2014年至2016年,泡泡玛特的净利润分别为-277.29万元、-1598.04万元、-2483.53万元。

但随后,靠着无数上瘾者的支持和“盲盒经济”的兴起,泡泡玛特在2017年成功登陆新三板后,业绩也迅速扭亏为盈,实现飞跃式前进。
与此同时,在资本市场上,泡泡玛特也赢得了无数投资者的青睐。
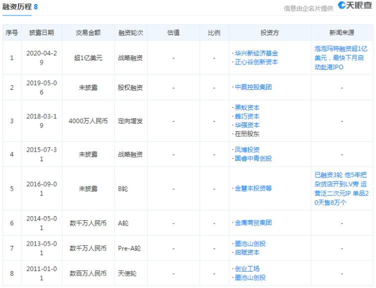
天眼查数据显示,成立以来10年间,泡泡玛特完成了8轮融资。今年4月,泡泡玛特的Pre-IPO轮融资,更是筹集了超过1亿美元的金额,融资估值达25亿美元。

就上述数据来看,该公司援引弗若斯特沙利文报告称,泡泡玛特是国内最大的潮流玩具品牌,确实当之无愧。
泡泡玛特暴利背后的“盲盒与IP”
而让泡泡玛特实现业绩飞跃,并蛊惑了一大批年轻消费者的,不过是小小的盲盒。
盲盒,物如其名,即产品采用非透明包装,消费者购买时不能选择指定款式,只有购买后打开盲盒,才能知道自己选中了哪件产品。

盲盒极其类似于“抽奖”,其的核心商业模式就是对“不确定*游戏性**”的完美复制,以抽盲盒独特销售模式激发好奇心,并通过抓住消费者对收藏的喜好来提升复购率,而商品的成套性更是激发了玩家进行收藏的欲望。
盲盒价钱大多在39-79元间不等,价格设置较为合理,同时加入了基本款与隐藏款的区分,抓住现代年轻人追求刺激的消费心理,使其越卖越“上瘾”。
根据天猫发布的数据,2019年在盲盒上花费超过2万元的玩家已经超过20万人,其中95后占了大多数。
而最新拼多多消费研究院发布的2020年儿童节十大热销商品榜中,盲盒也排到了第二位。可见盲盒在年轻人群中的流行程度。

而盲盒内可爱的产品与其塑造的新型IP形象,也是消费者趋之若鹜的另一关键原因。
相比于普通玩具饰品,盲盒产品IP属性和收藏属性更强,提升了产品价值。
盲盒产品的IP属性可分为设计师原创IP、卡通形象IP以及衍生IP三类,其中能够持续识别并签约优质设计师原创IP也是盲盒企业的核心竞争力之一。
招股说明书也显示,IP是泡泡玛特的业务核心。目前公司运营有85个IP,包括12个自有IP、22个独家IP及51个非独家IP。主要自有IP包括MOLLY、DIMOO、BOBO&COCO等,其中,最大自有IP Molly 2019年卖出4.56亿元,也成为盲盒行业最具代表性的设计师IP。

2017年至2019年,泡泡玛特基于自有IP的自主开发产品所得收益分别为人民币4100万元、人民币2.16亿元及人民币6.27亿元,分别占公司自主开发产品所得总收益的89.3%、63.4%及45.3%。截至目前,泡泡玛特旗下有4个IP累计销售额超过1亿元。
此外,泡泡玛特一边稳住自有IP的占比,一边也在提高独家IP的占比,独家IP从2017年的3.1%提升至2019年的35.4%,几乎与自有IP的占比持平。
线上线下全线风靡
盲盒的火爆和泡泡玛特的全线布局也大有联系。
根据招股书所示,泡泡玛特目前有零售店、线上渠道(天猫旗舰店、泡泡抽盒机、葩趣及其他中国主流电商)、机器人商店、展会、批发五大销售渠道。
截至2019年 12月31日,泡泡玛特在国内33个一二线城市设有114家零售店,并在57座城市设有825间创新机器人商店,在大城市的商场里,泡泡玛特几乎随处可见。
其中不得不提到创新机器人商店,也就是无人零售机,主要安置在商场、影院门口等人流较大的位置,不仅可满足消费者随时冲动消费的需求,更免去了门店排队的烦恼。

同时,从数据来看,近三年,泡泡玛特的线上渠道收入占比亦逐渐提升,从2017年的9.4%增长至2019年的32%。
由于盲盒的随机性质,对于消费者而言,从天猫、微信小程序及 APP等渠道比到门店购买盲盒更加方便。
上市不是终点
泡泡玛特仍然问题多多
尽管靠着盲盒经济,泡泡玛特近三年的业绩堪称火箭式上行。但在亮眼的业绩背后,泡泡玛特目前还面临着诸多问题。
由于泡泡玛特如今在由线下转向线上销售,中间的物流和售后环节不到位引来不少消费者的不满,而近半年来的甲醛风波和设计抄袭事件更让加剧了消费者对其的不信感。
1. 甲醛风波
去年7月,有网友爆料,自测出收藏的几款泡泡玛特的Molly系列娃娃甲醛含量超标,引发热议。

尽管随后泡泡玛特发布官方声明,表示所有产品上市前均通过国家检测,并于7月1日聘请专业机构进行甲醛专项测试,但仍有网友反映自己所购买的泡泡玛特盲盒产品有刺鼻味道,存在甲醛超标的情况。

2. 设计抄袭
今年2月8日,泡泡玛特推出的Ayla动物时装系列被指涉嫌抄袭红社动漫玩具有限公司Dollchateau(娃娃城堡)品牌产品。
经过网友们自发的艰难维权,2月18日,泡泡玛特官方发布致歉微博,承认发现AYLA动物时装秀系列个别款式设计过程存在问题,与Dollchateau产品设计相似,对此深表歉意!并表示,即刻全渠道下架AYLA动物时装秀系列,对于已售出的该系列和未发货的订单进行退款并召回。

然而实际上,泡泡玛特实际上并未全部下架涉嫌抄袭产品。2月19日,该系列盲盒仍在淘宝直播。此外,通过葩趣APP购买的消费者并没有被强制退款,但发货时间却被调成了2022年1月1日。
同时,由于涉嫌抄袭产品被“召回”,反而成了所谓的“绝版”,有鬼才消费者在微信甚至二手平台上标价1298元进行销售,价格涨了近20倍。

3. 同质化严重
毛利率高是盲盒行业的显著特点之一。中国网库中报价显示,一个手掌大小的搪胶玩具的厂家定价均在10元以下,制造工艺不复杂,也意味着方便复制。
目前国内除泡泡玛特外,还有众多企业涉足盲盒产品。虽然其中大部分为初创型企业,规模较小,除泡泡玛特能够涉足盲盒行业产业链全链条,其余企业均探索各种模式专注于产业链的部分环节,但人人都想在暴利的盲盒行业分一杯羹。
我国玩具行业与IP授权行业均处于高速发展阶段,IP类玩具市场需求不断扩大,开始受到资本青睐。例如52TOYS、IP小站也是自制盲盒行业的玩家,且获得部分融资,泡泡玛特尤其要警惕竞争对手,在保持IP优势和口碑的同时,开发新产品新IP。