IP地址绑定:如果我们内部有一台服务器开启了FTP和SMB共享服务,作为服务器一般来说IP地址是需要固定的,不能3天2头的变,如果服务器的IP地址经常变动对访问者来说是及其不方便的,这个时候我就需要在路由器上做IP和MAC地址的绑定。
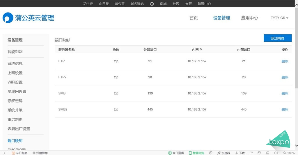
端口映射:现在我的这台服务器FTP和SMB共享需要提供给外部网络的用户访问(或者是出差的人员,或者是客户),那么我就需要通过端口映射功能将这个服务发布到WAN接口上,因为外部人员只能访问到我网关的WAN接口,内部的机器是不能访问的。

做了端口映射之后就可以看到访问路由器的wan接口就可以访问到网络内部服务器上的资源了。

这个路由器做端口映射也比较简单,点击端口映射---添加映射。填上名称,端口号,IP地址就OK了。

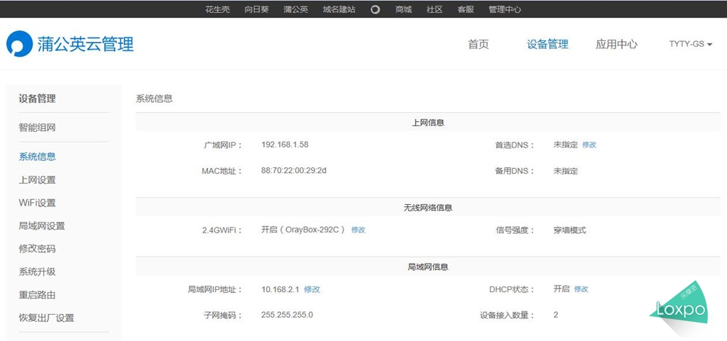
这款路由器的单机管理做得比较简洁明了,从系统信息可以看出机器的大体转态。WAN、LAN IP地址。无线的加密信息等。

这个路由器的无线加密协议不能选择,这个做的比较简单。

无线信号有三种模式节能、标准、穿墙。我这边选择了穿墙测试了一下信号强度,对比网件R6900 2.4G和TP-Link WR742N(TYTY)

总结:这款路由器适合一些小型企业,网络规模比较小,但比较分散的企业,像销售办事处,或者零售店之类的,可以通过组网技术把各地网络组合在一起,方便资源共享,或者是一些经常需要资源共享的邻里之间。就路由器单机来说性能并不强劲,现在路由器都趋于双频千兆模式,希望后续产品能往这方面发展,能在性能上有比较大的提升。