罐体壁厚不达标、罐内防波板脱落、大梁连接焊缝开裂等问题是危险化学品运输车常压罐体定期检验中最常见的缺陷。小编在上篇文章 《危险化学品运输车罐体常见的缺陷及检测方法(上)》 中详细介绍了罐体壁厚不达标、罐内防波板脱落、大梁连接焊缝开裂这三类问题的相关内容。今天,小编就为大家介绍一下另外几类运输车罐体常见的缺陷及检测方法。
呼吸阀不合格
呼吸阀是常压罐体上的重要安全附件,一般安装在罐体顶端,在罐车运行的复杂工况下(如液体晃动、温度变化、车辆剧烈颠簸震动等)对罐内外的压差进行调节,保持罐内气压平衡,减少介质挥发, 对常压罐体的安全运行起着重要的保护作用。

GB18564.1—2006 标准5.5.2.10 条规定,装运易燃、易爆介质的罐体应设置呼吸阀和紧急泄放装置,并对呼吸阀的设置和功能提出了要求,常压罐体的设计、制造和使用单位必须严格按照标准规定执行。
检测方法
在检验过程中, 常见的呼吸阀不合格形式有4种:漏气、粘结、堵塞、部件丢失,现场检验时发现被丢弃的呼吸阀阀芯。 对于检验时发现呼吸阀存在问题,必须进行修复和处理,否则罐车不能运行。
紧急切断阀动作不灵
在2014 年“3.1”晋济高速特别重大事故发生后,国家有关部门高度重视在用常压罐体加装紧急切断装置工作,两次联合下文对装运汽油、柴油、乙醇等17 种液体介质(主要为第3 类易燃介质)的常压罐体加装紧急切断装置提出了具体要求,并督促液体危化品运输企业严格按照GB 18564.1—2006强制性标准,逐台加装紧急切断阀。

紧急切断阀(又称底阀),一般安装在罐体底部,运输过程中处于关闭状态,可以在现场或一定距离之内, 利用气动、液压或机械方式控制其启闭 ,在工作过程中,当环境温度由于火灾等原因升高至规定范围时,借助易熔元件能自动闭止,防止常压罐体的装卸系统发生大量泄漏。
作为罐体底部管道的第一道阀门,当管道受到的撞击力达到一定值时,紧急切断阀的本体会断开,以免罐体被撞受损,保护罐车安全运行。
检测方法
实际使用中,罐车紧急切断阀经常会出现动作不灵或失效等问题。 因此,现场检验时,应重点检查紧急切断阀是否处于关闭状态;外观有无腐蚀、生锈、裂纹等缺陷,阀体有无松动、渗漏、变形及其他可能影响正常使用的问题;遥控关闭装置能否正常使用等。对紧急切断阀存在动作不灵等影响正常使用的问题,必须进行修复,消除事故隐患。
导静电装置质量不过关
导静电装置(又称消除静电装置)用于消除罐车在装卸、运输过程中,容器内液体与罐壁因摩擦产生的静电。 在常压罐体使用过程中,在道路颠簸、转弯变速以及装卸作业时罐体内液体与罐(管)壁的摩擦产生静电,这些静电若不及时导出,可能产生静电火花,导致火灾事故。
常压罐体的导静电装置一般是安装在车辆大梁上的导静电带,需要经常检查、维护保养和更换。 罐体、管路、阀门和车辆底盘之间的导静电导线连接应牢固可靠,罐体管路阀门与导静电带接地端的电阻应当不超过5 Ω;接地导线截面积应当不小于5.5 平方毫米;导静电带必须接地可靠,严禁使用铁链代替。

虽然导静电带只是常压罐体上的一个小部件,但对罐车安全运行的影响很大。 在实际检验过程中,常常会碰到不符合标准要求的劣质导静电带,有的接地导线截面积不足,有的用铝丝代替铜丝,有的导静电带是空心的。 图1是有铜丝的合格导静电带,图2是检验现场发现的空心导静电带。还有部分罐车的导静电带由于错误安装、使用不当等原因导致导静电测试不合格,还有车辆在行驶过程中导静电带脱落后继续长途行驶,这些都给常压罐体的安全运行留下了事故隐患。
检测方法
检验时,应重点关注导静电带是否是正规厂家生产的合格产品,安装位置是否正确,固定是否稳固可靠,导静电测试是否合格,日常维护保养是否到位,拖地长度是否合适等,对发现的导静电带使用中存在的问题应要求使用单位及时整改,并在检验报告中注明。
新型罐车呼吸阀分析–《一种便携式罐车用常压罐体呼吸阀校验装置》
为防止移动式罐车罐体内部由于气体压力变化给罐体带来的破坏作用,必须在罐体上安装呼吸阀。 当向罐内充装介质时,罐内气体压力增加至呼吸阀设定极限压力时,出气阀自动打开放出气体。当向罐外抽放介质时,罐内气体压力减小至呼吸阀设定极限压力时,真空阀打开使空气吸入,防止油罐因在负压状态下而被压瘪。
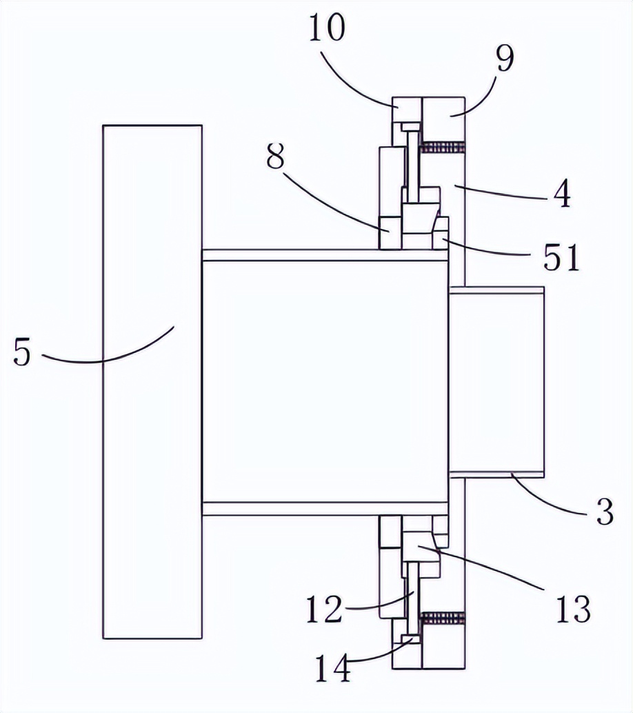
新型呼吸阀校验装置
便携式罐车用常压罐体呼吸阀校验装置包括底座、呼吸阀接头以及设置在底座上储气瓶,储气瓶的上设有具有截止阀的连接管,连接管的端部连接有连接头。连接头的一侧开设有与连接管相通的连接槽,连接头的外部螺纹连接有螺纹套,连接槽的内壁固定有呈矩阵设置的定位板,连接头的外壁上开设有多个与连接槽连通的活动孔。

螺纹套的一侧连接有定位套,定位套上设有椭圆形的定位槽口,定位槽口的内壁滑动设有多个滑板,滑板上连接有设置在活动孔中的压杆,压杆的伸入端滑动连接有梯形压块。
优势特点
呼吸阀接头能够方便对接在连接槽中,使得在转动螺纹套时,能够使定位套带动压杆挤压压块,使压块能够抵压在呼吸阀接头的定位块上,达到固定的效果,使呼吸阀接头便于连接以及更换,更好的满足测验需求。