我们经常会看到别人做的组织架构图总是那么的高端大气,看看自己做的确是看哪哪不对,今天我们就来看看一些非常亮眼的组织架构图模板。虽然我们常用的excel、word、PPT等都可以制作一些简单的流程图表,但是专用的设计软件还是需要用VISO等专用制图工具。
一、常见的企业架构图:
下面这类的架构图模板几乎都可以使用excel、word、PPT进行编辑。






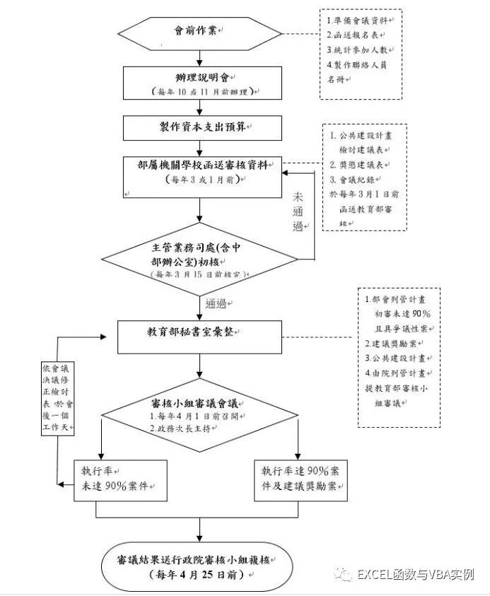
二、常用的SOP操作类流程图
这类的图表则需要使用到的是一些专用的制图工具,如:VISO等。





看了上面这么多的一些流程操作类图,是不是想要现在自己就做一张出来了?
三、常见流程图制作方法:
第一步:指定组织架构层级。
一级层级为:董事会
二级层级为:行政部、策划部、市场部
三级层级为:行政专员、策划专员、市场专员
第二步:插入组织架构图
点击插入—SmartArt图形—选择层次结构—选择组织架构图。

第三步:添加文字及第三级层级
添加好一二层级名称后,分别选择第二层级的市场部、行政部、策划部,点击右键,选择添加形状—向下方添加形状即可添加第三层级架构。

第四步:调整格式
添加完第三层级然后调整一下字体大小、背景颜色等格式即可。

这样一份简单的架构图就做出来了。现在你学会如何利用Excel制作简单的组织架构图了吗?赶快去操作一下吧。