文/中细软知识产权 卫巍
11年前,当周杰伦对“女友”说出:“你是我的优乐美啊!”“这样,我就可以把你捧在手心里了”等台词时,不知融化了多少少女的心。优乐美奶茶广告片可谓拍出了业界标杆的水平。

不仅如此,近10年时间,“优乐美”在奶茶圈的地位都无可撼动。不信?2015年,还有媒体曝出“因男友没买周杰伦代言的奶茶,江西妹子举刀要自残”的新闻。
然而,当小知向身边的盆友询问:“你知道优乐美是哪家公司生产的吗?”统统是“一问摇头三不知”。
这就很合理地解释了为啥北京优乐美公司生产的奶茶不愁销路了。喂!各位醒醒啊!把杰伦喂胖的“优乐美”的公司其实叫广东喜之郎集团有限公司。

根据《商标法》第五十八条规定,将他人注册商标作为企业名称中的字号使用,误导公众,构成不正当竞争行为的,依照《反不正当竞争法》处理。很显然,北京优乐美公司侵权了。
日前,喜之郎公司正式起诉了生产、销售带有“优乐美”企业名称的奶茶商品的北京优乐美公司、佳美饮料公司。顺便,还把销售假“优乐美”的大陈生活超市给一并告了!理由是涉嫌不正当竞争。基于三被告连带赔偿责任,喜之郎公司共索赔50万元。目前,法院法院已受理此案,正在进一步审理中。
其实50万的金额对于《反不正当竞争法》法定最高赔偿上限三百万元来说,并不算多。可见还是喜之郎有先见之明,在早期就及时遏制了对方的侵权行为,所受损失并不严重。
具有“职业病”的小知在商标局官网一番搜索后,还发现了喜之郎公司的一个“秘密”。

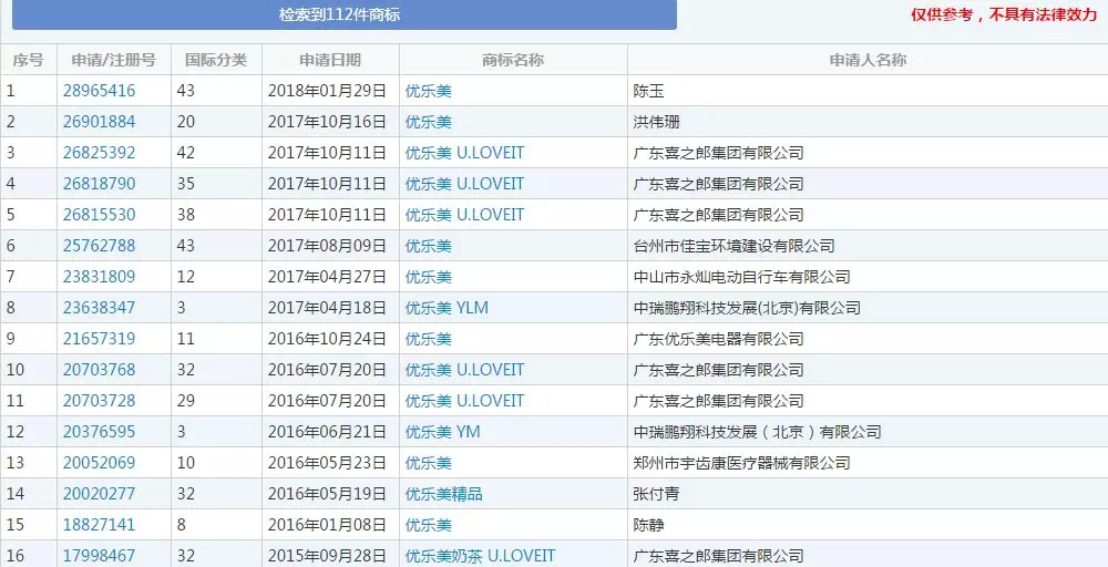
官网显示,申注“优乐美”商标的多达112项,而喜之郎公司仅申注了28项,占四分之一的份额。其申请注册的类别多是第29类(包含肉干、牛奶制品、奶茶等)、第32类(包含啤酒、果汁、奶茶等)等。
为啥它不全类别注册呢?不怕别人抢注商标吗?
这是因为喜之郎公司有一张“驰名商标认定”的王牌。“喜之郎”商标在2011年被认定为中国驰名商标,优乐美奶茶商品的包装装潢也成了知名商品的特有包装装潢。

我国《商标法》关于驰名商标的保护里规定,不管是相同或者类似还是不相同或者不相类似的商品申注的商标是复制、模仿或者翻译他人已经在中国注册的驰名商标,误导公众,只是该驰名商标注册人的利益受到损害的,不予注册并禁止使用。
所以,去年还在申注“优乐美”商标的人的结局一定是:钱打了水漂儿,注册证也拿不到。
by the way,其实你有没有发现“优乐美”这个商标,单纯从字面上看,很“土”,一点也不高端大气上档次。可当从周杰伦软软糯糯地台湾腔里讲出:“奶茶,我只喜欢优乐美”的时候,这个商标名气质立刻上升了不止一个level。
所以,你的产品没火,这锅商标名不背,谢谢。
【中细软温馨提示】
文中部分图片来源网络,版权属于原作者。若有不妥之处,请留言告知,感谢!