日前,“李小龙之女起诉真功夫”一案,在上海市第二中级人民法院开庭。
据悉,8月25日上午9点开庭审理李小龙有限责任公司起诉上海真功夫快餐管理有限公司、广州市真功夫餐饮管理有限公司、广州真功夫快餐连锁管理有限公司的案件,案由为一般人格权纠纷。
知食君了解到,早在2019年12月,李小龙女儿李香凝就将真功夫诉至上海二中院,要求真功夫立即停止使用李小龙形象、在媒体版面上连续90日澄清其与李小龙无关,并赔偿经济损失2.1亿元。时隔两年多,案件迎来开庭审理,当日一度登上热搜榜首。

(图:酷似李小龙形象图标)
侵权与否,各执一词
事件原告李小龙有限责任公司,注册地在美国加利福尼亚州,创始人、法定代表人即为李香凝。该公司认为,公司合法享有李小龙相关的各种权益;已陆续在中国大陆注册了近60个与李小龙相关的商标。
事件另一方的“真功夫”创立于1990年,品牌曾用名有“168蒸品屋”“双种子蒸品餐厅”等,主营以蒸品为特色的中式快餐。目前在全国拥有600多家直营门店,遍布50多个城市。2004年,真功夫方启用了由叶茂中营销策划机构为其进行品牌策划的酷似李小龙“功夫龙”的形象,并配合“真功夫”三个字,组合成了商标进行使用。
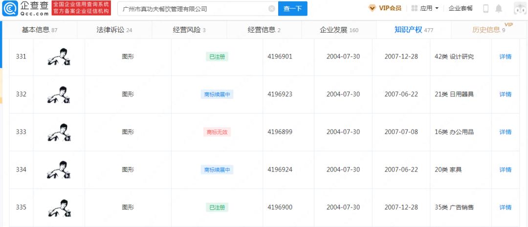
企查查APP显示,广州市真功夫餐饮管理有限公司拥有300余项商标信息中,功夫形象的图形商标注册申请时间最早可追溯至2004年,商标国际分类包括:广告销售、餐饮住宿、方便食品等

(图:企查查显示“真功夫”商标注册信息)
2019年,李香凝在中国大陆向法院提出诉讼,认为“真功夫”擅自使用父亲肖像,侵犯其肖像的人格尊严与财产利益,属于侵害民事权益的行为,应立即停止使用李小龙的肖像,并赔偿损失2.1亿元。
而这一次关于2.1亿的索赔金额由何确定,李小龙公司代理律师叶芳曾表明,“该案索赔额的测算,主要参照同类功夫巨星成龙的商业价值确定。名人代言费每年都在增长,真功夫2004年开始侵权,李小龙公司折中取值,确定了一年1400万元为赔偿依据,真功夫侵权15年,共计索赔2.1亿。”
真功夫方面并不认为自身侵权。面对起诉,真功夫迅速通过微博发表声明回应,表示“时隔多年后被起诉,我们也很疑惑,正积极研究案情、准备应诉”。此外,据其声明,真功夫系列商标由公司申请、国家商标局严格审查后授权,已使用15年。

(图:真功夫2019年声明)
当年双方各执一词,现今关注事件的网友表示:曾以为真功夫是付费使用李小龙肖像;没有授权就敢用名人肖像,品牌名称还和名人属性一致,确实算侵权。也有网友产生疑问:为何时隔多年才起诉?

(图:微博网友评论此事)
维权多年,结果尚待定论
近些年来,李香凝控告真功夫的诉讼已引起广泛关注,不少专业人士就此发表了各自的看法,在最受关注的是否侵权的话题上,各方仍存争议。
知食君了解到,比较有代表性的观点认为,真功夫虽非直接使用李小龙本人照片作为商标,但切实存在动作、服装与面部特征的重合。但也有观点表示,肖像权实际上无法继承,民法典所保护的也是基于逝者人格权受损后的权利救济。真功夫使用争议商标时间之久,即使认定真功夫涉及侵权,所主张的高额经济赔偿也很难得到支持。
是否侵权尚待定论,但据知食君了解,李香凝维权已持续多年。2010年,李香凝就已陆续将其父亲的影片及商标在美国的所有权购买回来。此后,她采取多项措施进行维权,包括在中国成立维权办公室,维护李小龙形象的版权。此外,为了维权,还曾在广东进行了持续的走访。2011年曾打算状告真功夫侵权,但当时并未启动司法程序。
除陆续对李小龙的版权和商标进行维权外,李香凝近年来一直在加快推进“李小龙”品牌的宣传,希望将“李小龙”打造成全球品牌。

与此同时,真功夫在2016年启用全新品牌形象和品牌Logo。对比新旧Logo标识,真功夫新Logo的主体图案仍酷似李小龙形象,但脸部描写则做了模糊化处理。

(图:右为新版标识)

目前,真功夫门店已开始逐步使用新版logo,但围绕着其涉嫌侵权李小龙头像的官司仍在继续,商标是否会最终被判定侵权或者撤销,需要等待行政或司法结论。
截至目前,真功夫官方尚未就官司的最新进展做出回应。
(图片来源:网络,如有侵权,请联系删除)