近年来,国内外作物无损检测方面的研究报道越来越多,使得作物叶绿素无损检测成为一个新的研究热点。
目前多采用高光谱遥感、叶绿素荧光、叶绿素仪等分析技术进行植株叶绿素、作物氮素营养无损诊断研究。
高光谱遥感分析技术
作物光谱特征是作物生理特征相应反映了它的长势情况,因而可以根据不同栽培条件下光谱差异来监测作物生长状况。

袁金国等证明了高光谱图像是大尺度估算植被生化组分的有效方式。
冯伟等以不同类型小麦品种在不同施氮水平下连续3年田间试验为基础,研究了小麦叶片氮含量与冠层高光谱参数的定量关系。
黄慧等利用高光谱扫描技术对小麦叶片进行无损检测试验,探索精确测定小麦叶绿素含量的方法。
房贤一等以蒙阴县果园的苹果树为试验材料,建立苹果冠层叶绿素含量及冠层光谱特征参量间的定量关系模型,为利用高光谱技术监测苹果生长状况提供了理论依据。

刘燕德等采用高光谱成像技术,结合自适应重加权算法(CARS)和连续投影算法(SPA),筛选特征光谱变量,进行脐橙叶片叶绿素含量及可视化分布研究。
马文勇等基于高光谱分析估算草地叶绿素含量,为草地叶绿素估算走向实际应用提供了一种手段。
国内也有一些科研工作者基于高光谱遥感分析技术进行了仪器设备的试制。
中北大学仪器科学与动态测试教育部重点实验室郝晓剑、周汉昌等发表了归一化植被指数测量仪的研制与应用论文。
中国农业大学现代精细农业系统集成研究教育部重点实验室李修华、张峰等报道了四波段作物冠层分析仪设计。
每个传感器可在550、650、766、850nm4个光学波段进行测量。
但是, 特定条件下所建立的植物氮素光谱诊断模型难以用于建模以外的时空条件,这就使利用遥感进行作物氮素诊断的可靠性和普及性受到一定的限制。

叶绿素荧光分析技术
近年来,随着叶绿素荧光技术的不断成熟,光谱分析技术的不断完善,叶绿素荧光光谱在植物叶绿素、病害分析方面的应用备受关注。
报道较多应用于水体中叶绿素a的检测研究。
崔建升等基于活体中叶绿素a的荧光特性,研制了一种可快速在线监测水体中叶绿素含量的荧光仪。
周丽娜等对稻叶瘟病害初期水稻叶片的叶绿素荧光光谱变化进行分析,建立光谱诊断模型,实现稻叶瘟病害的早期、快速检测。
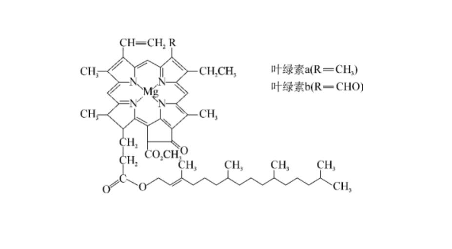
叶绿素以多种形式存在于藻类、浮游植物和其它水生植物中,所有的海洋浮游植物都含有叶绿素a。
活体荧光法已广泛应用于探测海洋和淡水环境中浮游植物群落的状态。

叶绿素仪分析技术:透射式叶绿素仪分析技术
研究和应用性研究最多的是叶绿素仪分析技术。
据文献报道应用性研究多采用的叶绿素仪大多是根据光的透射原理,即:朗伯比尔定律。
参照紫外分光光度计双光源原理,保持660nm和940nm入射光强一致,红光和近红外光的透过率都受叶片影响。
940nm透过率是不被叶绿素吸收的标准对照值,如果入射光源是同一点。
用660nm处的吸光度减去940nm处的吸光度,得到的数值在理论上为该点叶绿素相对含量值。

自20世纪90年代起就有关于SPAD值应用于作物叶绿素的研究报道。
研究主要集中在两方面。
(1)SPAD值与某种作物代表性叶片的叶绿素含量、氮素水平的相关性研究。

陈防等利用SPAD-502叶绿素计在作物营养快速诊断上的应用初探。
刘艳菊等对不同氮肥水平下SPAD读数与菠菜硝态氮含量关系的初步研究。
Bullock等、王康等、李志宏等用SPAD值对(夏)玉米叶片的氮素状况进行评价和实验研究。
李刚华等、童淑媛等分别用SPAD值在水稻、玉米氮素营养诊断及推荐施肥中进行应用研究。
以上研究均表明用SPAD值对某作物品种的氮素状况进行评价是可行的,甚至建立了某作物品种的氮素推荐施肥体系。

但也有不足之处。
(1)仅是针对某种作物的某个品种建立了氮素施肥系统,未能克服施肥体系应用于同一作物不同品种、不同作物类型间的普适性问题。
当SPAD值超过50时,测量精度降低,而作物在生育前期达到50的情况很常见,使得其应用推广有很大局限性。
(2)该叶绿素指数与叶片叶绿素的总量虽有较好的相关性,但是尚未实现直接给出某植株叶片的叶绿素a和b值,研究者无法通过叶片无损检测了解到叶绿素a和b的比值。
叶片叶绿素a和b的比值能反应作物对光能利用情况,是科学研究的一个重要指标 。

(3)同时仪器的价格比较高,国内一般用户和机构难以接收,限制了在国内广泛应用的可能。
因此,植株叶绿素的无损检测和实时监测在国内也引起了广泛的关注,相关技术和仪器设备的研究也有报道。

国内的一些研究者基于透射原理研制了2个波长或3个波长的叶绿素仪,仪器显示值为NDVI、SPAD等。
西北农林科技大学的李勇军等硕士论文论述了基于双光谱的叶绿素无损测试系统研制,设计了基于红光及近红外2个特征波长处的叶绿素无损测试系统。
系统选用了LED峰值波长640nm和960nm作为系统的光源,系统叶绿素测量的反演模型采用光透射下归一化植被指数NDVI公式,实现了田间植被叶绿素相对含量的无损实时监测。
中国农业大学的韩书庆、孙明和国家农业信息化工程技术研究中心的黄文江等年报道了便携式叶绿素、氮素、水分一体化测定仪设计,采用650、940、975nm3个特征波段,建立了可以同时检测作物叶片叶绿素、氮素和水分的数学模型。
结合光谱学透射原理,设计了由近红外LED光源、窄带干涉滤光片、光电检测芯片以及单片机系统组成的作物叶片叶绿素、氮素、水分检测一体化便携式仪器。

作物的氮营养状态可以通过量化叶绿素含量来诊断,然而利用SPAD型叶绿素仪来测定作物叶绿素及氮营养含量时,叶片厚度的差异会对其测量结果产生影响。
吉林农业大学的刘茂成等基于叶绿素在可见近红外波段的光谱吸收特征,以660nm红光作为叶绿素相对含量的检测依据,以940nm近红外光作为参比波长,介绍叶绿素相对含量测量原理,开发了一款便携式叶绿素诊断仪。
漫反射式叶绿素检测技术
漫反射式叶绿素检测技术是根据光学漫反射理论:照射到粗糙表面的光经过多次反射、折射、散射及吸收后返回样品表面。

即为漫反射光,它是光与样品内部分子发生作用以后的光,携带有丰富的样品结构和组织信息,利用漫反射测量可以进行样品组成和结构信息检测。
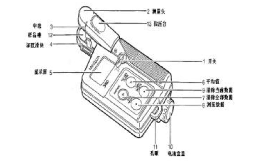
河南农业大学的魏凯等报道了基于便携式漫反射叶绿素仪测定葡萄叶绿素含量方法的探究,以葡萄叶为材料,使用新研发的便携式漫反射叶绿素仪快速测定叶片中的叶绿素迅捷指数(XJI)。
将所得的结果与传统的*酮丙**-乙醇混合法测得的叶片中的叶绿素含量进行对比,结果表明XJI与传统方法测定的叶绿素含量有极好的线性关系:y=0.0176x+9.5589(R2=0.9030),而且 叶绿素含量与叶片全氮含量也呈现显著正相关的关系 :y=2.7204x+249.69(R2=0.9034)。

其中YN-FS-1型便携式漫反射叶绿素仪的测量结果为叶绿素迅捷指数(XJI),该仪器是基于光学漫反射理论的国内第1台便携式漫反射叶绿素仪,仪器光源采用LED峰值波长650nm和940nm。
展望
综上所述,在进行作物氮素营养状况评判时,传统的测试手段对植株叶片具有破坏性,且操作繁琐,耗时耗力,不利于推广应用。
相反, 无损检测技术在作物氮素营养诊断及推荐施肥中得到了广泛的关注,被认为是极有发展前途的作物氮素营养监测与诊断技术。

其中基于高光谱遥感分析技术是在特定研究条件下建立的,难以适用于建模以外的时空条件,这就使得高光谱遥感分析技术的推广应用受到了一定的局限性。
而叶绿素仪分析技术则更受研究和推广应用领域内专家们青睐,以透射式叶绿素仪为代表的SPAD-502研究应用较为多见。

笔者热切期盼在国内外透射式叶绿素仪研究中能突破2个问题。
(1)透射光受到叶片厚度的影响较大,当SPAD值超过50时,测量精度显著降低。
(2)仪器尚未输出叶绿素a和b值,而叶绿素a和b的比值是作物病理诊断和栽培管理的的重要参数。

同时基于光学漫反射理论的植株叶片叶绿素无损检测技术研究也是一个非常有意义的课题,希望漫反射式叶绿素检测技术能为植株氮素无损诊断和推荐施肥开辟新途径。
参考文献:
