随着化学工业新工艺、新技术的发展, 化工企业对电气控制系统的安全性、可靠性和稳定性的要求越来越高。化工生产装置的特点是高温、高压、工艺流程连续不间断,且多为易燃易爆场合。一旦停电或控制不当,即可能发生爆炸、火灾、有毒有害气体泄漏、工艺设备报废等严重后果,因此从事化工装置电气设计的中心任务是保证化工装置电气设备的安全、可靠、稳定运行。

供电系统的安全性、稳定性、可靠性对化工装置的安全运行至关重要,规划设计时首先要考虑的就是安全性、稳定性、可靠性。虽然设计规范对这些问题都有明确的要求。
但一个项目往往受投资预算的影响,一旦资金有问题,决策者往往首先想到的是压缩电气预算,而压缩的结果是使设计方案和设备选型的安全性、稳定性、可靠性大打折扣,这一点我想同行都有深刻的体会,且在国内各大化工行业均有因供电系统安全性、可靠性、稳定性不佳而导致供电系统瘫痪致使化工装置产生重大安全事故的案例。
另外不同的设计单位和设计人员对规范的理解有所不同,其设计结果也会大不相同,有时即使符合了规范的要求,但并不等于设计方案的安全性、稳定性和可靠性能够满足化工装置的安全要求。
作为化工装置的使用者,业主如何协调设计单位使设计成果既满足规范的要求,又能使电气设计方案的安全性、可靠性和稳定性满足化工装置的实际需求,这需要业主设计代表充分掌握设计规范,有现场装置运行的实际经验,随时掌握电气行业新技术的发展方向,要有责任心,全程参与设计过程,与设计人员充分沟通交流,就设计方案达成一致意见,这一点烟台万华在一些项目建设上是这样做的,且收到了良好的效果。
对于不同的项目,因其规模、要求和条件各不相同,设计的结果也会差异很大,以下仅对有普遍意义的几个要点谈一下看法。
一、选择合理的电压等级
老化工企业传统的供电系统是低压220/380V系统,中压有6 KV系统,再往上是35KV和110KV系统,近年来,国内外化工生产装置正向着大型化发展,因大型化才能产生规模效益,这也使化工装置电气设备的容量越来越大,用电量也逐步加大,现在35KV等级的配电变压器容量已经做到50000KVA,并有进一步大型化的要求。
作为化工装置的电气设计人员如何顺应发展的要求,创新设计方案,选择合适的电压等级,节约设备及贵金属投资,降低设备运行损耗,提高电气设备的安全性、可靠性和稳定性是一个新课题。
(1)低压动力系统的电压等级
设计过程中一般以200KW为界线,200KW以上的电动机用中压,200KW以下的用低压,传统的低压都用220/380V系统。
近年来随着化工装置容量的增大,低压电动机向大型化方向发展,几十kW至几百kW的电动机数量很多,用电量也很大,占到化工装置用电量的50%以上。因化工装置大都属易燃易爆场合,MCC控制室设置在防爆区域外,供电线路较长,电缆投资很大;且由于运行电流大,致使控制部分及电气设备接头处易发热烧坏,影响设备安全运行;大电流运行也使运行损耗增加。
所幸随着近年来新技术、新材料的不断发展,低压控制设备如熔断器、空气断路器、接触器、热继电器、电动机、电缆、低压配电柜、变频器、软启动器等电气设备的绝缘能力等级均已提高,并有可供直接选择的产品,这使对低压电机数量多及容量大的情况选用380V/660V系统成为可能。
因此在规划设计中对于低压电机数量多且容量大的情况,可根据化工装置的具体情况选用660V低压供电方案,我公司宁波甲醛生产装置在设计时选用了这种方案:单独选用了两台2000KVA 10KV/690V的变压器为大容量低压电动机供电,低压开关柜、框架断路器、空气断路器、接触器、电动机、变频器等均采用660V电压等级。
控制回路考虑到与DCS的联锁及安全性,还是采用AC220V,设计时在每个回路增加一个690V/220V的控制变压器即可满足要求。对小容量的电动机、现场照明、现场检修电源等其它设备仍采用380V/220V供电系统,选用了两台1000KVA 10KV/380V供电。
目前该装置已运行了4年,情况良好,没有发生过绝缘击穿等故障。在今后的大型项目中,我们也计划将低压供电系统设计成660V和380V两个系统,大容量电动机的用电设计为660V,小容量电动机及照明等设备用380V/220V系统。这样一是可以节省贵金属投资,二是因为660V系统运行电流减少使运行损耗降低,而最重要的是提高了低压系统的安全性及可靠性。
(2)高压电动机的电压等级
老化工企业高压电机大都使用6kV等级,因此中压供电系统也是6kV等级,随着电气设备制造业技术水平的提高,现在10kV电机的质量是安全稳定可靠的,因此建议使用10kV供电系统,并使用10KV高压电动机,逐步淘汰6KV系统。我们宁波万华中压系统全部采用10kV电机,其运行情况良好。
使用10kV电机有一个缺陷就是对于需要变频调节控制的电动机,10kV变频器的投资费用高。前些年没有10kV变频器,现国内和国际品牌都能生产10kV变频器但价格较高。解决方案是对于2000kW以下电动机可以将电压降至3kV等级,对于3000kW以上的电动机可选用6KV等级,这样可以节约部分投资,我们有这方面的使用经验。
(3)供电系统的电压等级选择
对于供电系统电压等级要根据当地的供电条件和化工装置的容量进行选择。规范对于相应电压等级的供电半径已有相关说明,但最终还要将实际情况与规范相结合确定电压等级,以下是选择供电系统电压等级的几点建议:
a) 如果用电容量在50000kVA以下,建议选用110kV直接进线,通过变压器直接变为10kV供电。变电站尽量放在负荷中心,两级变配电即可解决问题,不要中间的35kV环节。
b) 如果用电容量在5-10万之间的情况,对于厂区面积不大且负荷集中也可以按上述方案处理,如果厂区面积很大,负荷分散,可以考虑增加35KV环节,这样需要三级配电才能解决问题。
c) 对于超过10万用电负荷的情况,如果有条件可选择220KV进线,这种情况一般是特大型化工企业,建议也不要超过三级配电,尽量减少中间环节。
d) 对于用电负荷较小的化工企业可直接使用10KV或35KV进线,尽量用一级变电来满足生产负荷。
总之供电系统的电压选择就高不就低,尽量选择高的电压等级,以减少损耗,尽量减少变电的级数,以减少设备投资和变电过程中的损耗。规划设计时要具体情况具体对待。
二、根据负荷等级确定供电方案
化工企业的用电负荷等级可以分为三类:一类是普通负荷,如办公生活用电及一些不重要的负荷用电,这些负荷属于三级负荷,一般选单电源供电即可满足要求;另一类是生产装置的用电设备,停电时可使化工装置停产或减产,这一类属于二级负荷,化工企业大部分属于这一类;最后一类是化工装置中的重要设备,停电可造成装置的损坏或设备报废等,这其中还有部分设备特别重要,停电可致使有毒有害气体泄漏,引起火灾或爆炸等危害,这后一类设备属于一级负荷。
有时在设计过程中很难区分一级负荷与二级负荷,事实上在化工企业区分一级负荷和二级负荷没有实际意义,因为只要有一级负荷存在,就必须设计双回路供电,而真正重要的是要将一级负荷*特中**别重要的负荷确定下来,以确定备用电源的方式和容量。
在总体方案上建议化工企业全部按照一级负荷设计,因为虽然二级负荷停电不会造成危险,但化工装置多为连续生产,停车后再开车经济损失是很大的。对于化工装置*特中**别重要的负荷,如果绝不允许停车,可选用蓄电池配备EPS电源或UPS电源解决。如果可以短时停电,可用快速启动的发电机组作为备用电源。
要引起设计人员充分注意的问题是,双回线供电不等于双电源供电,因为许多情况下化工企业所处的供电区域内只有一个区域供电所,这个供电所上侧电源不一定是真正的双电源,如果是两个独立的电源进线才能算作双电源。
对于达不到两个电源供电的情况怎样处理,笔者认为,大多数化工企业有自备热电厂,而自备热电厂的电机是挂在网上的,可以将自备热电厂的发电机作为一个独立电源对待。这样处理的前提对于特别重要的负荷设置有应急发电机。当外部电源故障时热电厂发电机为系统供电,当外部电源和热电厂发电机同时故障时,应急发电机为特别重要的负荷供电,可以保证装置的安全。
化工企业典型的供电方案如图1所示,不同电压等级的两段母线间均有母联开关,这是安全供电的重要保证。

图1
三、继电保护的配置
目前,微机保护装置的安全性、可靠性是非常好的,广泛应用在各种电压等级的变电站。规范对各种电压等级的变电站的保护配置都有要求,在此不再赘述,只说一下与化工企业供电的安全性、可靠性与稳定性有关的两点:
(1) 关于电源进线的自动重合闸问题
电源进线大多数情况是架空线路进线,而架空线路的故障以瞬时为多,如雨雪天气、小动物、雷击、外力等造成的故障。对于这类情况规范是允许设计重合闸的,建议协调供电部门一定要设计线路故障自动重合闸一次。
对于带自备发电机的化工企业,平时发电机并网运行,在这种运行方式下,供电部门为保证电网安全,可能不允许线路自动重合闸,但业主一定要协调相关设计部门,在相关部位增设安全联锁装置,在确保安全的前提下,允许进线自动重合闸一次,这对化工装置的供电安全至关重要。
(2)继电保护定值的配合问题
继电保护定值整定是关系到供电系统安全的重要环节,只有定值设计合理,才能在系统内部故障时,准确、可靠、快速、有选择的将故障设备切除,保证系统的安全运行。
关于上下级定值的配合,笔者认为末端设备保护定值的设计在保证被保护设备安全的前提下尽量将定值取小,而上一级设备的定值在保证设备安全的前提下适当加大,即增大级差和时间差,尽量避免越级跳闸,缩小停电范围。
有时灵敏度、选择性、可靠性是不能兼顾的,要根据实际情况取舍。当一路外电源停电时,母线备自投开关的动作顺序,不同的设计人员会有不同的处理方式。
笔者认为先投高压侧,再投低压侧为好,原因如下:一是高压侧开关数量少,一旦投入成功,下侧不论有几级,有多少备投开关都无需再动作,对系统的稳定性更好;另外一个优点是高压设备可与低压设备同时得电再运行。如果高压侧母线备自投失败,下一级备投经过一个小的时差后再投仍可保证系统的安全稳定运行。
相反如果先从低压侧动作母线备自投开关,因一个化工企业低压侧的备投开关会有很多,只要有一个备投失败即可造成低压母线失电,不利于系统安全运行,高压设备也不能与低压设备同时得电运行。
据报道曾有国内某大型化工企业因选择自下级先开始备投而使供电系统全面瘫痪,从而导致重大经济损失的案例。
四、紧急用柴油发电机
对于生产工艺危险性大的化工企业,根据我们的经验,无论是否有独立的双电源供电或有单独的备用电源。都建议设计一台单独的紧急备用发电机组,将一些停电后会造成严重后果的特重要设备,在系统全停电时由紧急发电机组供电,这样更安全可靠,需要选用质量可靠的发电机组。
平时要将发电机组维护保养好,以备急用。因为设计的标准是规范,有时满足了规范,并不一定能满足工艺设备的安全要求,尤其是目前规范的严谨性和系统性还不够,缺少一些详细解析条例,不同的设计人员可有不同的理解。
另外设计时是假定外部供电是可靠的为前提条件,实际上我们国家的供电基础设施也还不够好,我们烟台万华宁波公司在这方面有着深刻的教训,曾发生过一年内三次因雷击使电网全停电,最终是紧急发电机组保证了装置安全。
业主设计人员在观念上要有创新意识,因为有许多情况下是业主为减少投资而要求设计单位不设计发电机组,笔者认为对有严重危险源的化工装置,无论外部供电条件如何,都有必要设计一台应急发电机组,花一点保命的钱是值得的。
提高化工装置电气控制水平的建议和措施:
以上简述了改善供配电系统安全性、可靠性及稳定性的一些建议和观点,事实上化工企业的负荷中心在低压。大量的风机、水泵、搅拌器等都由低压电机拖动,因此低压控制系统的安全性、稳定性和可靠性对化工装置的安全稳定运行至关重要,以下对如何改善化工装置低压控制系统的安全性、稳定性及可靠性提出一些建议和措施。
1、妥善解决晃电对生产装置的危害
供电系统在运行过程中,时常由于大设备启动、雷击、瞬时接地、自动重合闸、备用电源自动投入等原因,使系统电压瞬间降低或消失,这种现象我们称之为晃电,关于晃电的具体定义,目前的标准没有具体的描述,但在有关电源质量的标准中有部分提及。
具体电压降低到什么程度,多长时间属于晃电,笔者认为应以对电气设备的影响程度来定义,凡能使化工装置电气控制设备失去控制功能的电压降低就属于晃电。关于晃电时间,也就是治理晃电要考虑的时间范围,笔者认为根据化工企业供电系统的特点,可按2秒钟考虑。
因为一般化工企业供电网络的电压可按3级考虑,2秒钟可满足各级备自投的时间。另外,化工装置的泵、风机等负载在2秒钟内再启动起来是工艺所允许的。一旦晃电发生,化工装置的大部分动力设备会停止运行,致使化工装置停车。
从停车到再开车化工装置的损失是巨大的,尤其是在开停车过程中易发生安全事故,因此电气设计人员如何从根本上解决供电的稳定性是非常重要的,除了从供电系统的可靠性方面和安全性方面采取措施外,对电气设备的控制方面也应采取措施。
(1)低压电动机控制回路的防晃电措施
低压电动机在化工装置中的使用量很大,要使低压电动机在晃电后自动运行,需在控制回路采取措施。可行的方法有:使用常规时间继电器,将时间继电器的延时断开触点串接在起动回路中;使用交流UPS电源或直流电源作为电动机控制回路电源,交流停电时,控制电源不停电;设计使用单独的PLC控制柜解决晃电问题。
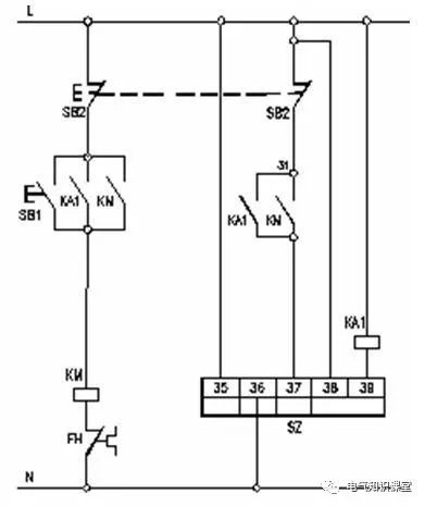
以上做法均可行,但都存在一定的缺陷。我们在宁波万华工程中选用了一种小型延时继电器SZ10,起到了良好的效果。见图2所示。当晃电发生时SZ10可使KA1保持2秒钟内闭合。晃电结束后,操作人员不需操作可使电机运行,采取这项措施后对化工装置的稳定运行起到重要作用。

图2
(2)变频器控制设备的防晃电措施
化工装置中越来越多地使用变频器调速装置,而变频器对电压的变化更为敏感,有时系统稍有波动,即使变频器控制的设备停机。解决变频器晃电停机有两个方案:对于普通的变频器控制的设备,可利用变频器自身的参数设置菜单将变频器低电压报警停机功能解除,在控制回路采取晃电控制措施。
当电压恢复后,变频器会自检,当检测到起动条件具备时可自动起动;对于变频器控制的特别重要的设备(不允许停机的设备)可采用DCBANK(直流支撑系统)为变频器供电,当检测交流停电后,并接于变频器直流母线的DCBABK系统立即投入运行,使变频器的逆变部分继续工作,机械设备不停机,当电源恢复后,DCBANK系统自动退出运行。
(3)大型机组的防晃电措施
化工企业都有一些大型机组在运行,如压缩机、冷冻机、空压机等,这些设备一般都有一个独立的控制中心,如ITCC控制盘,PLC控制盘等。机组的运行状态均由这些控制盘控制,这些控制盘对电压的变化是很敏感的,电压稍有波动,就会使机组保护停机。
为了避免不必要的停机,可以将这些控制盘的电源设计为UPS 电源供电,当然设计时要充分消化机组的相关资料,必要时要与设备供应商沟通交流。我们烟台万华与宁波万华的大机组采取这些措施后,基本上消除了由于电源晃电造成的停机事件。
实践证实通过采取以上措施基本上可以消除由于电源晃电给化工装置产生的危害。
2、采用漏电保护装置
国家相关规范规定化工生产装置380V/220V应用TN-S系统,目前国内化工企业的380V/220V系统大多数采用这种接地保护方式。很久以前就有许多专家对规范的合理性及先进性提出了异议,笔者也认为规范有不完善、不合理、不先进的一面,应该学习先进国家标准,以推进中国电气行业的进步。
重化工装置大都是在有毒有害、易燃易爆、强腐蚀露天环境下生产,在这种恶劣环境条件下,电气设备的接地保护就显得更为重要。
笔者认为TN-S保护方式确实不够理想,因化工装置的低压负荷大部分是电动机负荷,不需要中性线,只有一些检修电源和照明设备需要中性线,而保护PE线的使用,一般现场设备离控制室较远,300米的长度是正常的,一旦电气设备接地,靠PE线保护是不可靠的。
如图3所示,一台电动机外壳单相接地时,接地电流可通过两个回路返回电源,一路是Id1:相线----电机外壳------PE线-----电源中性点;另一路是Id2:通过相线-----电机外壳----重复接地线-----接地体-----大地----电源中性点。Id1的大小取决于相线的电阻、相线与电机外壳的接触电阻、PE线的电阻;Id2的大小取决于线相的电阻、相线与电机外壳的接触电阻、重复接地电阻、接地主干线的电阻及电源中性点的接地电阻。

图3
除相线与电机外壳的接触电阻是不稳定的,其它电阻是施工结束后就基本不变的,对于永久性的接地故障,接触电阻相对稳定。而对于间歇性接地接触电阻是不稳定的。
在这种情况下,单相接地保护是靠电源侧空气开关的单相接地短路电流来跳开空气开关,这是极不可靠的,时常有在线路末端发生单相接地时,其接地电流不能使电源侧开关跳闸,而使设备外壳带有危险的电压,如果接地电阻是1欧姆,接地电流是100安培,则设备外壳就带100伏的电压,这个电压人触及到就足以使人致命。
事实上国内许多电击致人死亡事故都是这种保护方式造成的。另外如果是间歇性接地故障,在相线与机壳接触处极易产生火花而使装置起火,以前也曾有这方面的报道。由以上分析可见,单独使用TN-S系统,而不采取其它保护措施是不安全的。
许多专家提出采用IT系统或TT系统取代传统的TN-S系统,笔者认为单独使用IT系统或TT系统只能节约电缆投资,但其安全性仍然不够,因为化工装置的安全性是至关重要的,笔者认为无论是TN、IT或TT系统都应该推广使用漏电继电器,因为使用了漏电继电器,系统的安全可靠性会大幅度提高。

图4
如图4所示,当电动机发生单相接地时,假如电机的接地电阻是4欧姆,漏电继电器的动作电流设定为200毫安时,设备外壳的电压只有8伏(4*200ma),这个电压对人和设备都是安全的,使用漏电继电器后,电动机回路的电缆可选用三芯电缆,节约电缆的投资大于漏电保护继电器的投资。而使系统的可靠性和安全性大大提高。
这样也避免了TN-S系统大电流接地时使变压器跳闸全停电对化工装置产生的影响。我公司在许多项目上都使用了漏电保护代替接零、接地保护。运行情况证明,这样对保护人身和设备都是可靠的,避免了许多事故。
3、电动机综合保护装置的使用
近年来,电动机综合保护器技术已趋于成熟,市场上ABB、西门子、施耐德都有系列产品供选用,国内产品也有许多厂家在技术水平和产品稳定性方面有所突破,有全系列的产品供设计选用。电动机保护装置与传统的热继电器相比有着许多技术优势:
(1)保护的可靠性和精度大幅度提高。传统的热保护继电器靠双金属片动作原理来动作,而电动机综合保护器是用数字芯片实现定值保护的。准确度与可靠性无法相比。
(2)电动机综合保护器有着强大的控制功能,如前面提到的晃电再起动功能,漏电保护功能、停电后的分批自起动功能、各种电量的测量功能、堵转保护、起动次数保护等功能,这些功能的综合应用可使电动机控制回路简化,控制水平提高。
(3)因电动机保护器具有通讯功能,可将整个生产装置或整个工厂的MCC控制中的全部电气设备的运行情况传输到计算机后台,实现遥测、遥信、遥控以及电气设备的管理功能,也可与DCS系统实现相关的通讯功能。管理功能可实现读取运行报表、负荷情况统计、统计电机运行时间、事故统计等。这些功能的实现对电气设备的管理水平升级有着重要的意义。
据了解,目前国内电动机综合保护器的使用情况,仍然处于很低级的水平,大多数项目并没有使用,极少数项目使用了,但仅限于取代热继电器,不做通讯而使保护器的强大功能无法发挥。甚至在定值设计方面也只用了简单的电流保护功能。
创新设计,开发使用电动机综合保护装置的新功能,综合利用其强大的管理功能,为迎接数字智能化MCC时代的到来积累经验,是我们电气工作者的责任。
事实上智能化MCC已经不是新概念了,近年来,在北美市场已有超过20-30%的用户需求。烟台万华宁波二期工程电气设计采用了电动机综合保护器,在控制功能方面除选用了晃电再起动、停电分批再起动、漏电保护及保护器配置的标准电动机保护功能外,还与供货商共同在软件方面延伸开发了事故预报警功能,相信投运后定会对生产装置电气控制的安全性、可靠性、稳定性起到重要作用。
4、交流变频技术的应用
化工企业大量使用着各种形式的泵和风机等设备。对这些设备的流量、压力等工艺参数的控制,传统的方法是使用调节阀,通过调节旁路调节阀的开度来调节泵出口的流量、压力等工艺参数,这种方式不仅浪费了大量的能源,同时由于化工装置的介质特性对调节阀材质要求很高,一个调节阀的投资往往是一个变频器的几倍,因此使用变频技术可以节约投资和电能。
另外更重要的是调节阀是一个机械器件,由于磨损、物料的堵塞等需要时常检修。这使得化工装置运行的稳定性降低。使用变频器调节电动机转速可以取代调节阀,使泵的运行稳定性大大提高,电气控制系统的稳定性也提高,最终提高了化工装置的运行稳定性。
妥善解决晃电对化工生产装置的危害,采用漏电保护装置取代传统的接地保护方式,创新设计采用电动机综合保护器并开发其强大的功能,推广使用变频技术,可使化工企业的电气控制水平得以提升,使化工装置运行的安全性和稳定性提高。
五、结束语
以上从供电系统及低压电气控制两个方面简述了提高化工生产装置电气控制系统的安全性、可靠性、稳定性的一些措施和建议,与同行业电气工作者交流分享,期望能对读者有参考价值,由于笔者学识水平有限,文中观点不一定正确,希望读者批评指正。
来源:电气技术,如有侵权,请联系删除