现在常用于门禁系统的电锁分为两种: 通电开锁和断电开锁型 ,前者在通电的情况下为开门状态,后者则通过自动切断电源进行开门。不过在安防行业中,消防用电锁一般要求断电开门,一旦发生火灾时,电路断电,门可以自动打开。因此一般安防企业在研发产品时都会推出两种开关模式,以此适应用户的不同需求。下面我们来介绍一下门禁电插锁安装接线方式与使用注意事项:二、门禁系统接线方式是怎样了解了门禁电锁的工作原理,我们知道门禁电锁的开锁方式种类不同,接线方式也分为两种,依据电锁的接线口,一般情况下电插锁、磁力锁等通过加电来开锁的类型,连接NC端口,而电控锁、阴极锁等加电开门类的电锁接NO端口。在安装过程中,值得注意的是锁状态线和门状态线。锁状态线连线可以提供锁的闭合信息,与门禁控制器的数字输入接口联动,可以实时查看锁的闭合状态。门状态连线很好的替代了另行安装门磁的问题,降低了安装成本,提高了系统使用效率。需要注意的是,很多门禁电锁上面有专门的延时设置跳线或拨码装置,可以设定电锁的延时时间,但大多数门禁及对讲系统也有延时设置功能,所以在安装电锁时也最好考虑到延时设置,让用户的使用更为舒心。

门禁主机接电锁
以K2600为例,主板上有锁+跟锁-的端子,端子自身已经带12V的电了,只需要把磁力锁或电插锁或阴极锁的正极接正极,锁的负极接负极,再把继电器状态通过跳帽设置常开或常闭状态即可。



门禁系统是在智能建筑领域,意为Access Control System,简称ACS。指“门”的禁止权限,是对“门"的戒备防范。这里的“门”,广义来说,包括能够通行的各种通道,包括人通行的门,车辆通行的门等。因此,门禁就包括了车辆门禁。在车场管理应用中,车辆门禁是车辆管理的一种重要手段,不以收取停车费为目的,主要是管理车辆进出权限。出入口门禁安全管理系统是新型现代化安全管理系统,它集微机自动识别技术和现代安全管理措施为一体,它涉及电子,机械,光学,计算机技术,通讯技术,生物技术等诸多新技术。它是解决重要部门出入口实现安全防范管理的有效措施。适用各种机要部门,如银行、宾馆、车场管理、机房、军械库、机要室、办公间,智能化小区,工厂等。门禁系统早已超越了单纯的门道及钥匙管理,它已经逐渐发展成为一套完整的出入管理系统。它在工作环境安全、人事考勤管理等行政管理工作中发挥着较大的作用。
02
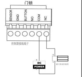
二,门禁一体机接锁
门禁一体机接锁原理 下图为例,是常开的锁,断电关门。那我们给open以及gnd一个闭合信号,通上电,锁舌回缩,即可开门。

一体机或门禁主机K2800接线方法 锁的负极接电源负极,锁的正极接NC,电源的正极接COM。或者锁的正极接电源正极,锁的负极接NC,电源的负极接COM也可以。形成一个断路或者闭合的电路。
三,门禁主机(含一体机)接读卡器
读卡器485接法 门禁主机的4个端子 RS485+、RS485-、12V、GND分别接到读卡器的RS485+,RS485-,PWR,GND

读卡器韦根接法 读卡器的红(+12V)和黑(GND)接读卡器的读头电源处,绿(W0)接端子W0,白色(W1)接端子W1处。此处四根线是必连的。如果要控制韦根的LED和蜂鸣,就必须把BZ/ERR/OK都接上去。

四,门禁主机读卡器接线——手拉手
K2601/K2602/K2604分别对应最多可并接2/4/8个RS485读卡器 读卡器的前四位为地址拨码,遵循原则地址1对应门1进,地址2对应门1出, 地址3对应门2进,地址4对应门2出,以此类推,最多到地址8。读卡器采用485接线时,后面四位无需拨码,都是OFF的状态。

五,读卡器拨码

读卡器拨码盘
485读卡器拨码 二进制拨码方式,第一个门的进门读卡器拨1,出门读卡器拨2。第二个门的进门读卡器拨1和2,出门读卡器拨3。第三个门的进门读卡器拨1和3,出门读卡器拨2和3.第四个门的进门读卡器拨1和2和3,出门读卡器拨4,重启生效。 韦根端口器拨码 拨6,其余不拨。(现在新出的读卡器韦根连接不加密情况下拨5和6,其余不拨。)重启生效
六,门禁一体机通讯设置
485通讯设置 门禁一体机做主机,外接读卡器时:通讯设置-RS485-外接设备选择读卡器。

韦根通讯设置 门禁一体机做主机,外接韦根读卡器时:通讯设置-韦根设置-韦根启用-传输方向选择输入-模式选择韦根34。

七,门禁主机(含一体机)接门磁
门磁原理 是安全报警的一种装置,用来探测门状态并可以反馈门状态(4200查看)。
门磁接线 将门磁信号线接到一体机上SENSOR/GND接线端子。



1、锁的接线(如YB100电插锁、YH280KG磁力锁等常闭锁),锁的正极接在门禁专用电源的NC端上;锁的负极接在门禁专用电源的GND端上。 2、中控门禁机接线(如:F2、F201、F8、SC102、SC103、F7等中控门禁机),中控门禁机的+12V(红色)接门款专用电源+12V;中控门禁门的GND(黑色)接门禁专用电源GND;中控门禁机的NO(蓝色)接门禁专用电源PUSH;中控门禁机的COM(红色)接门禁电源专用电源GND。 注:中控门禁机的GND和COM可以并接在一起,然后同时接到门禁专用电源上的GND上。锁由中控门禁机直接供电
八,门禁主机接开门按钮
开门按钮原理 开门按钮按下,给门禁主机一个闭合信号,此时门禁主机开门按钮对应继电器状态改变,实现开门。
开门按钮接线 开门按钮“press”接“开门”,“to exit”接“GND”(不区分正负极)

九,门禁一体机接开门按钮
开门按钮原理 开门按钮按下,给门禁一体机一个闭合信号,此时门禁一体机开门按钮对应继电器状态 接 改变,实现开门。 开门按钮线 开门按钮PRESS接BUTTON,TO EXIT接GND(不区分正负极)