本人机械师,从事液压机械工作多年,近几年公司开发制作大型液压机械,千吨标准。为客户提供的机械最为头痛的是单向阀保压效果问题,难以达到预期效果。市场阀件(液控单向阀)难以满足需求。最后尝试着挑战自己,并置疑液压单向阀至少百年以上的使用历史,竟然难以做到零泄露,或者接近零泄露。让其达到手控阀的效果。现向各位老师展示最新开发成果,本人才疏学浅,忘各位老师和业界朋友们指导训诫。以下为正文。
借贵平台和各位老师及液压界师傅们探讨一下本人新开发的液控单向阀,也同样适用于普通液压单向阀。但本篇主要讲液控单向阀,用于自动控制。本技术要点已申请了专利,专利号为: CN202021620176.4。这个为实用新型。大家可查询。结构图:

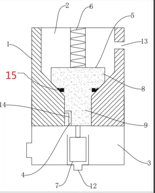
这个实用新型专利不适合高压卸荷,密封锥面的软密封(15)在密封柱塞(9)向上开启瞬间随着锥面配合副间隙的增大而被压入挤碎。于是做改进后结构如下:


这个为实用新型改进后的发明专利,已申请中。具体介绍一下它的工作原理,同新型专利一样。液压油经下腔5左边进油口进入,下腔5为密闭腔,当压力足以克服密封柱塞3上方回位弹簧9的回位压力时,柱塞3向上移动。柱塞3密封槽13内的密封12将离开与柱塞3配合密封副内孔向上移动,此时密封12失去密封作用。柱塞3继续上移一小段,约几个毫米,此时液压油经密封柱塞3下端柱面进油孔(10上方位置)进入上腔2,并经8出油口进入工作装置。当达到工作要求或下腔5压力大为减小时,柱塞3在回位弹簧9和压力下迅速下移,直到密封12回到工位起到密封作用,完成保压或止回效果。直到工序完成,需要打开液控单向阀。要实现柱塞3上移使上腔2压力卸荷,需通过控油口7液压油控制柱塞6向上推动密封柱塞3上移,直至柱塞3柱面通油孔完全接通下腔5,完成卸荷或回油。这个过程或者阀件看来很简单,但它的工作机制确不简单,下面就让我们讨论一番,相互学习,还请老师们多多指教。
但还是请老师们深刻记住上面阀件工作原理。必要时复读。加压的液压油向上推动柱塞3,经过第一道锥密封(柱塞3下端,硬锥密封为辅助密封,可不用。),后又经过柱塞3柱面油孔,柱面油孔可有多种形式,如柱面开轴向槽,钻中心孔,钻平行轴向等分孔,但都必须与柱面垂直孔相通。都必须保证柱塞3的导向性和密封性。通油孔向上一段(约几个毫米,根据具体需要)柱塞为密封柱塞,配合间隙参考换向阀芯轴。保正短时或极少量泄露。这是为了保护软密封,过大的配合间隙将会影响或破坏软密封。这段密封柱塞无论柱塞3开启还是关闭都对软密封起保护作用,它是一个过度作用。在压力油作用下柱塞3继续上移直至其油路与上腔2完全相通,实现动力传递。当工况满足或柱塞3需要回位时,柱塞3在回位弹簧9和油压下开始回位。当回位至密封柱塞段,密封柱塞阻断了油路,起到了短时密封主油流。继续下移后,软密封进入密封封闭区域(或半封闭),在少量油压下起到密封效果。再有就是,软密封12放大图右端,也就是软密封12入口和出口处,才用了垂直圆弧倒角(如图)。这是为了保护软密封12出入不被损坏。它不宜太大和太小,实验弧为R1.5——R2。根据密封结构。斜倒角不宜。在软密封进入R弧后,压力油将对软密封加压,将软密封压向密封柱塞缝隙一侧。这时密封圈压力一侧将对其保持压力,直到泄压。
再就是密封结构和泄压情况及实验结果。根据耐久和破坏实验,软密封为Y型或类似结构,O型圈高压不宜,当密封柱塞段间隙增大时,泄露的压力油在软密封槽与圆弧倒角缝隙大时将O型圈压入并破坏(或被尖角刺破)。以上图方位,软密封下端为方形,且不易损坏。上端外围上下尺寸需小于内围,并保正足够的向下压力面积,保证足够向下左右张力。以Y型密封为例,密封时与活塞一样。开启时外唇外翻,到达一定角度,压力油将会对其外侧施压,也就保证了外唇的周边压力均衡,故不会被破坏。根据理论做了千次连续动作,压力30兆帕以上,阀芯22mm,通径16mm,行成15mm,中间补压,保压容积2L。24小时压降1兆帕以内,室温。密封为聚氨酯和丁氰Y型密封圈,甚至四氟。未发现密封被破坏迹象。它真正实现了单向阀的软密封设想。现厂区已使用于部分装备,有待于长时间验证。效果很好。它还有很多密封结构值得思考,如四氟斜密封槽。尽管软密封保压效果是无可比拟的,但它也有不足之处,就是压力降。这是由于密封柱塞占用了一部分空间。它会随着密封容积的不同而变化。其实大部分工况是可以包容的。因为它的保压效果足以让我们汗颜。
望 各位老师不吝赐教。xu@tf1010.onexmail.com